Предварительные работы
1. Снять крышки ГБЦ (клапанные крышки) на обоих рядах цилиндров.
2. Для облегчения проворачивания коленвала следует снять свечи зажигания.
Инструменты и материалы
Специальный инструмент
Инструмент для регулировки фаз газораспределения
1 - Оба нивелировочных инструмента следует использовать попарно для регулировки распредвалов. Нивелировочный инструмент . Инструменты следует использовать зеркально для обеих ГБЦ.
2 - Стопорный штифт фиксирующие штифты используется для стопорного отверстия между гасителем колебаний и крышкой цепи ГРМ для регулировки в.м.т.
3 - Монтажный натяжитель ремня вспомогательный натяжитель ремня необходим для точной регулировки
фаз газораспределения из-за погрешностей длинной цепи ГРМ в двигателе V8. Он не подходит для 4,5-литровых двигателей. В разъем залить несколько капель стандартного нагнетаемого масла (предупреждает закисание внутреннего поршня). Рабочее давление от 5,0 до 5,5 бар.
4 - Шланг нагнетаемого воздуха для вспомогательного натяжителя цепи
Информация
Правильная регулировка и возможные неисправности
1.
Регулировка фаз газораспределения, обзор. → Фиксирующий инструмент и распредвалы Фиксирующий инструмент устанавливается между цилиндрами 3 / 4 и 7 / 8. Он осторожно и равномерно при вращении взад и вперед распредвалов за шестигранники накручивается на ГБЦ (от руки).
Фиксирующий инструмент и распредвалы
1 - Фиксирующий инструмент Фиксирующий инструмент . Два одинаковых фиксирующих инструмента необходимы для четырех распредвалов.
2 - Боковые поверхности (двугранный угол) в качестве фиксатора между фиксирующим инструментом и распредвалами; совпадает только в одном положении.
3 - Болты клапанной крышки для равномерного накручивания фиксирующего инструмента на ГБЦ
4 - Шестигранник для проворачивания распредвалов
2. Фиксирующий инструмент осторожно и равномерно при вращении взад и вперед распредвалов за шестигранники надеть на ГБЦ (от руки). Не прилагать чрезмерное усилие, действовать аккуратно и осторожно.
3. В данном положении регулировка не возможна, поскольку широкая часть боковых поверхностей (двугранный угол) направлена вверх. Провернуть распредвалы, пока узкая часть не будет направлена вверх.
4. В данном положении регулировка не возможна, поскольку широкая часть боковых поверхностей (двугранный угол) одного распредвала направлена вверх. Данный распредвал провернуть, пока узкая часть не будет направлена вверх.
5. В данном положении регулировка не возможна, поскольку широкая часть боковых поверхностей (двугранный угол) одного распредвала направлена вверх. Распредвал стоит немного неровно. Распредвалы провернуть, пока узкая часть обоих распредвалов не будет направлена строго вверх
6. В данном положении регулировка не возможна, поскольку один распредвал стоит немного неровно. Данный распредвал слегка провернуть, пока узкая часть не будет направлена вверх.
7. В данном положении регулировка не возможна, поскольку фиксирующий инструмент перекручен. Повернуть фиксирующий инструмент. Учитывать разницу в высоте инструмента и положение распредвалов в ГБЦ.
8. При правильном положении распредвалов (обе боковые поверхности распредвалов узкой частью направлены симметрично вверх) инструмент можно легко надеть
9. Для равномерного накручивания фиксирующего инструмента на ГБЦ прикрепить его с помощью болтов клапанной крышки. В зависимости от зазоров между деталями распредвалов или на ГБЦ инструмент может фиксироваться или непосредственно на ГБЦ, или на небольшом расстоянии от нее. Достаточно визуальной проверки, при необходимости с помощью фонаря. Необходимо соблюдать одинаковое расстояние с обеих сторон. Болты клапанной крышки закручиваются от руки.
10. Фиксирующий инструмент установлен на ГБЦ неровно. Необходимо соблюдать одинаковое расстояние с обеих сторон. Внимание: в данном случае неправильную установку можно не заметить.
Регулировка фаз газораспределения
Уведомление
Неправильное обращение с коленвалом
Повреждение привода ГРМ
→ Запрещается проворачивать коленчатый вал в направлении, противоположном движению хода, или при демонтированном натяжителе цели.
→ Соблюдать осторожность при проведении работ.
→ Проворачивать двигатель только за коленчатый вал.
→ Соблюдать общие указания по технике безопасности и правила работы.
Уведомление
Неправильная регулировка фаз газораспределения
Повреждение двигателя
Неровная работа двигателя
Потеря мощности двигателя
→ Установить фиксирующий инструмент без применения силы.
→ Соблюсти равномерный зазор на обеих сторонах.
→ При установке фиксирующего инструмента не проворачивать распредвал с применением силы в направлении, противоположном ходу распредвала.
→ Двигатель должен находиться точно в ВМТ.
→ Противоположный цилиндр должен находиться в точке ВМТ зажигания.
1. Повернуть коленвал со стороны демпфера так, чтобы отверстие на демпфере -2- располагалось прим. на 45° перед нижн. точкой крепления в крышке картера -1- .
2. Равномерно ослабить фазовращатель и звездочки четырех распредвалов, чтобы они вращались свободно (избегать переворота). При этом обязательно удерживать шестигранник компонента.
3. Выкрутить натяжитель цепи двигателя
4. Монтажный натяжитель цепи Вкрутить вспомог. натяжитель цепи . Подключить сжатый возд. 1 бар и постепенно увеличивать до 5,0 - 5,5 бар (предотвращает "удар" монтажного натяжителя о цепь ГРМ). -стрелка-
5. Вращать шестигранники четырех распредвалов гаечным ключом до положения, при котором фиксирующая планка может быть установлена одновременно и равномерно на боковые поверхности (двугранный угол) впускного и выпускного распредвалов между цилиндрами 3 / 4 и 7 / 8. Возможные неисправности см. выше (глава "Информация").
5.1. Установить фиксирующую планку в соотв. с приведенной выше главой "Правильная установка и возможные неисправности".
5.2. Установить фиксирующую планку над бок. поверхностями обоих распредвалов так, чтобы узкие концы бок. поверхностей распредвалов были направлены вверх к планке. При установке фиксирующей планки следует учитывать конструктивную разность высот распредвалов в ГБЦ. При необходимости повернуть фиксирующую планку.
5.3. Осторожно вращать шестигранники четырех распредвалов гаечным ключом и установить фиксирующую планку над боковыми поверхностями. Осторожно поочередно вращать распредвалы за шестигранники возвратно-поступ. движениями → Вращение распредвалов во время установки инструмента и медленно, осторожно вкручивать винты крышки клапанов в фиксир. планку. Фиксирующая планка должна быть расположена на одинаковом расстоянии (визуальный контроль с фонарем) относительно обеих сторон ГБЦ. При различных производственных допусках фиксирующая планка может прилегать к ГБЦ или располагаться на небольшом расстоянии от нее. Если фиксирующая планка установлена равномерно и отсутствует зазор при вращении шестигранника распредвала, фиксация произведена правильно.
5.4. Аналог. образом регулировать другой ряд цилиндров (зафиксировать распредвалы).
5.5. Теперь все четыре распредвала равномерно и без зазора зафиксированы обеими планками. Между бок. поверхностями распредвалов и фиксир. планкой не должно проявляться зазоров при свете лампы.
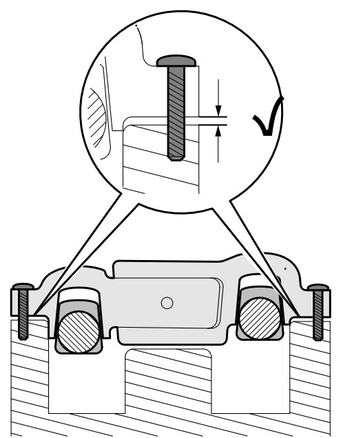
6. Стопорный штифт Установить фиксирующий штифт в отверстие демпфера -2- .
7. Повернуть коленвал со стороны демпфера так -3- , чтобы стопорный штифт вошел в нижнюю точку крепления в крышке ГРМ -1- . Слегка нажать на стопорный штифт при вращении.
8.
При ошибочном проворачивании демпфера вращение в обратном направлении запрещено! Снять фиксирующую планку и вращать распредвалы с наименьшим нажатием на пружины клапанов. Один раз провернуть коленвал и возобновить регулировку.
9. Распредвал и коленвал закреплены правильно.
Установленные инструменты
1 - Ввинченный монтажный натяжитель цепи, давление примерно 5,0 - 5,5 бар.
2 - Две фиксирующие планки, установленные на распредвалах.
3 - Стопорный штифт фиксирует коленвал в ВМТ цил. 1.
10. Фазовращатель и звездочки четырех распредвалов прикрутить по инструкции. При этом обязательно удерживать шестигранник компонента. → Звездочка → Фазовращатель Соблюдать следующую последовательность =>
| Звездочка выпускн. распредвала цил. 1 – 4 | Фазовращатель впускн. распредвала цил. 1 – 4 |
| Фазовращатель впускн. распредвала цил. 5 – 8 | Звездочка выпускн. распредвала цил. 5 – 8 |
Система регулирования фаз газораспределения (NVS)
1 - Винт M12, полная затяжка после регулировки
фаз газораспределения!; 1-ый проход → Момент затяжки: 10 Nm; 2-ой проход → Момент затяжки: 50 Nm; окончательная затяжка (угол затяжки) → Угол затяжки: 135°
2 - Шестигранная гильза
3 - Фазовращатель
4 - Шайба (многораз. использования); заменить при полной разборке
5 - Гидравлический клапан системы регулирования
фаз газораспределения (NVS)
6 - Винт M5 x 12
A - Направление движения
Цепь ГРМ и звездочки
1 - Двухрядная цепь привода распредвалов
2 - Звездочка распредвала
3 - Винт M12, полная затяжка после регулировки
фаз газораспределения!; 1-ый проход → Момент затяжки: 10 Nm; 2-ой проход → Момент затяжки: 50 Nm; окончательная затяжка (угол затяжки) → Угол затяжки: 90°
4 - Направляющая планка
5 - Винт M8 x 35
6 - Поверхность скольжения распредвал-распредвал
A - Направление движения
11. Снять инструменты.
12. Установить натяжитель цепи.
Дополнительные работы
1. Установить свечи зажигания.
2. Установить крышки ГБЦ (клапанные крышки) на обоих рядах цилиндров.