Правила форума Clear

92A производство 2011>>2018 (K;L) Контроль уровня моторного масла Cayenne V6 Hybrid

08.08.2019, 20:00   #1
Владимир Маркин
Аватар для Владимир Маркин
Проверка уровня моторного масла

Проверить уровень моторного масла

Осторожно
Горячая жидкость
Ожоги
Дать жидкости остыть.
Использовать средства индивидуальной защиты.

Уведомление
Неверный уровень масла
Неисправность двигателя или катализатора
Регулярно проверять уровень масла.
Уровень масла не должен опускаться ниже метки минимума или быть выше метки максимума.

Использовать только одобренные компанией Porsche моторные масла.

Информация
Измерение в комбинации приборов согласно руководству по эксплуатации после соблюдения условий является достаточным.

Информация
Непрогретый двигатель в режиме движения на короткие расстояния с подключенным электроприводом может привести к скоплению излишнего количества топлива в масляной системе.

Условия проверки:

Температура моторного масла мин. 60°C

Автомобиль стоит горизонтально.

После выключения двигателя выждать несколько минут, чтобы масло стекло обратно в поддон.

Процесс проверки:

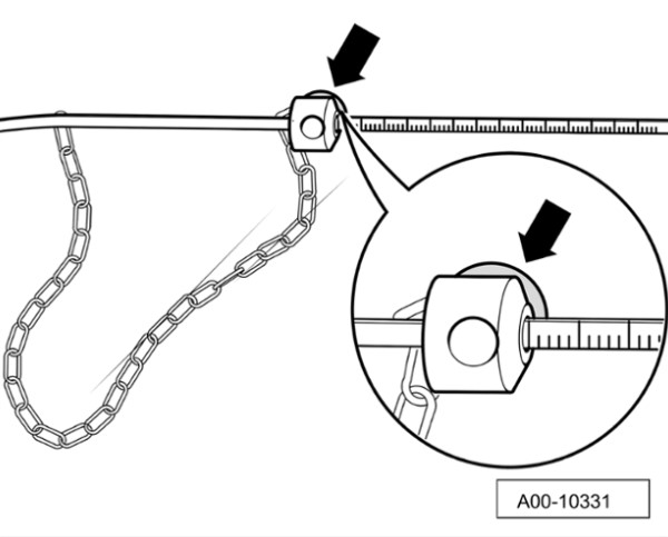
1 Поле отметки на приборе для проверки индикатора уровня масла.

2 Путем отворачивания винта с накатанной головкой и смещения установочного кольца выставить на приборе для проверки указателя уровня масла на верхней шкале -стрелка- значение из таблицы по нижней кромке установочного кольца.

Задвинуть прибор для проверки индикатора уровня масла до упора (установочное кольцо) в трубку для маслоизмерительного щупа, затем снова вынуть его и считать уровень масла.

3 Считать значения по нижней шкале.

Двигатель 3.0 Hybrid
Установочное значение на установочном кольце сверху 102 мм
Минимальный уровень масла на нижней шкале 16 мм
Максимальный уровень масла на нижней шкале 27 мм

Заправочные объемы масла

Уведомление

Неверный уровень масла
Неисправность двигателя или катализатора

Регулярно проверять уровень масла.

Уровень масла не должен опускаться ниже метки минимума или быть выше метки максимума.

Использовать только одобренные компанией Porsche моторные масла.

Информация

Непрогретый двигатель в режиме движения на короткие расстояния с подключенным электроприводом может привести к скоплению излишнего количества топлива в масляной системе.

Заправочный объем масла с заменой масляного фильтра

MIN 5,8 л

MAX 6,8 литра

Разница MIN — MAX 1,0 л

Первоначальная заправка 8,1 л
Миниатюры:
Нажмите на изображение для увеличения
Название: T40178B.jpg
Просмотров: 1810
Размер:	5.6 Кб
ID:	23184   Нажмите на изображение для увеличения
Название: Поле отметки индикатора уровня масла.jpg
Просмотров: 1807
Размер:	38.7 Кб
ID:	23185   Нажмите на изображение для увеличения
Название: Установочное кольцо маслоизмерительного щупа.jpg
Просмотров: 1806
Размер:	38.3 Кб
ID:	23186   Нажмите на изображение для увеличения
Название: Шкала маслоизмерительного щупа.jpg
Просмотров: 1829
Размер:	16.8 Кб
ID:	23187  

Метки
cayenne, hybrid, контроль, масло, моторный, уровень



Левый уголок Похожие темы Правый уголок
Тема Автор Раздел Ответов Последнее сообщение
[92A] PORSCHE CAYENNE V6 HYBRID большой расход моторного масла ab Двигатель 51 23.08.2022 16:22
[92A] Cayenne V6 958 бензин проверка уровня моторного масла LPS Двигатель 8 05.09.2019 22:39
[970] Проверка уровня моторного масла через комбинацию приборов Panamera S Hybrid Владимир Маркин Двигатель 0 13.06.2019 20:20
[92A] Контроль уровня моторного масла Двигатель 4,2 л дизель Владимир Маркин Двигатель 0 21.01.2018 17:56
[9PA1] Датчик уровня моторного масла Алексей Фил Двигатель 20 26.11.2016 12:32



Powered by vBulletin® Version 3.8.7
Copyright ©2000 - 2025, vBulletin Solutions, Inc. Перевод: zCarot
Все права на материалы, находящиеся на сайте, охраняются в соответствии с законодательством РФ.
При любом использовании материалов сайта, письменное согласие обязательно.
Торговые марки, логотипы и марки услуг, размещенные на данном сайте, являются собственностью их владельцев.
CayService.ru не связан с Porsche AG или PCNA. ©2025 CayService.ru. Все права защищены.
Яндекс.Метрика