Правила форума Clear

92A производство 2011>>2018 (K;L) Контроль уровня моторного масла Двигатель 4,2 л дизель

21.01.2018, 17:56   #1
Владимир Маркин
Аватар для Владимир Маркин
Контроль уровня моторного масла

Осторожно
Горячая жидкость
Ожоги
Дать жидкости остыть.
Использовать средства индивидуальной защиты.

Уведомление
Неверный уровень масла
Неисправность двигателя или катализатора

Регулярно проверять уровень масла.
Уровень масла не должен опускаться ниже метки минимума или быть выше метки максимума.
Использовать только одобренные компанией Porsche моторные масла.

информация
Измерение в комбинации приборов согласно руководству по эксплуатации после соблюдения условий является достаточным.

Условия проверки:
Температура моторного масла мин. 60°C
Автомобиль стоит горизонтально.
После выключения двигателя выждать несколько минут, чтобы масло стекло обратно в поддон.

Порядок проверки.
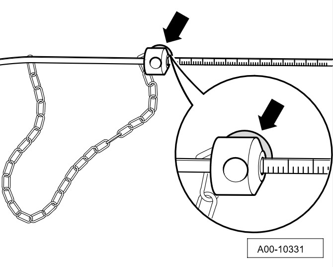
1. Поле отметки на приборе для проверки индикатора уровня масла.
2. Путем отворачивания винта с накатанной головкой и смещения установочного кольца выставить на приборе для проверки индикатора уровня масла на верхней шкале -стрелка- значение из таблицы по нижней кромке установочного кольца.
3. Считать значения по нижней шкале.

Двигатель 4,2 л дизель
Установочное значение на установочном кольце сверху 124 мм
Минимальный уровень масла по нижней шкале 0 мм
Максимальный уровень масла по нижней шкале 13 мм

Заправочные объемы масла

Уведомление

Неверный уровень масла
Неисправность двигателя или катализатора

Регулярно проверять уровень масла.
Уровень масла не должен опускаться ниже метки минимума или быть выше метки максимума.
Использовать только одобренные компанией Porsche моторные масла.
Миниатюры:
Нажмите на изображение для увеличения
Название: Прибор для проверки уровня масла.jpg
Просмотров: 1879
Размер:	18.0 Кб
ID:	16138   Нажмите на изображение для увеличения
Название: Поле отметки индикатора уровня масла.jpg
Просмотров: 1886
Размер:	31.8 Кб
ID:	16139   Нажмите на изображение для увеличения
Название: Установочное кольцо маслоизм. щупа.jpg
Просмотров: 1872
Размер:	51.2 Кб
ID:	16140   Нажмите на изображение для увеличения
Название: Шкала маслоизмерительного щупа.jpg
Просмотров: 1860
Размер:	19.0 Кб
ID:	16141  

Метки
контроль, масло, моторный, уровень



Левый уголок Похожие темы Правый уголок
Тема Автор Раздел Ответов Последнее сообщение
Расход моторного масла ArsK Двигатель 92 09.07.2025 22:50
[95B] Проверка уровня моторного масла двигатель 3,0 л дизель Владимир Маркин Двигатель 21 29.09.2023 16:52
[92A] Проверка уровня моторного масла через комбинацию приборов PORSCHE CAYENNE 958 Владимир Маркин Двигатель 7 22.05.2017 12:38
[9PA1] Датчик уровня моторного масла Алексей Фил Двигатель 20 26.11.2016 12:32
[9PA] Применяемость моторного масла Prometheus_redstar Двигатель 5 20.06.2016 21:31



Powered by vBulletin® Version 3.8.7
Copyright ©2000 - 2025, vBulletin Solutions, Inc. Перевод: zCarot
Все права на материалы, находящиеся на сайте, охраняются в соответствии с законодательством РФ.
При любом использовании материалов сайта, письменное согласие обязательно.
Торговые марки, логотипы и марки услуг, размещенные на данном сайте, являются собственностью их владельцев.
CayService.ru не связан с Porsche AG или PCNA. ©2025 CayService.ru. Все права защищены.
Яндекс.Метрика