Правила форума Clear

92A производство 2011>>2018 (K;L) Демонтаж и монтаж клапана регулировки давления масла (электромагнитный клапан) 4,8 л DFI

02.04.2024, 12:50   #1
Владимир Маркин
Аватар для Владимир Маркин
Предварительные работы

Информация

На автомобилях с записями о неисправности в блоке управления DME (в том числе горящая предупредительная лампа в комбинации приборов) относительно давления масла, управления масляным насосом, контроля давления масла и т.д., необходимо действовать следующим образом:

Проверить уровень масла.
Удалить соответствующие неисправности.
Не менять компоненты, такие как масляный насос, датчик давления масла или клапан регулировки давления масла по подозрению.

В случае длительной стоянки автомобиля (месяцы), масляный насос в регулировочном механизме может прихватить (“залипнуть”).

В случае интенсивной эксплуатации на короткие расстояния и эксплуатации в режиме погрузки-разгрузки/маневрирования, возможно значительное разжижение масла => очень низкое давление масла. Например, 20 последовательных холодных запусков могут привести к падению вязкости моторного масла на 30%.

Выполнить замену моторного масла. Выполнить на автомобиле пробную поездку.
В случае повторных сообщений о неисправности / предупредительных сообщений действовать согласно Ведомому поиску неисправностей в тестере PIWIS.
02.04.2024, 12:50   #2
Владимир Маркин
Аватар для Владимир Маркин
1 Поднять автомобиль с опорой в предусмотренных точках.

2 Снять обшивку днища под двигателем.

3 Слить моторное масло.
02.04.2024, 12:52   #3
Владимир Маркин
Аватар для Владимир Маркин
Информация

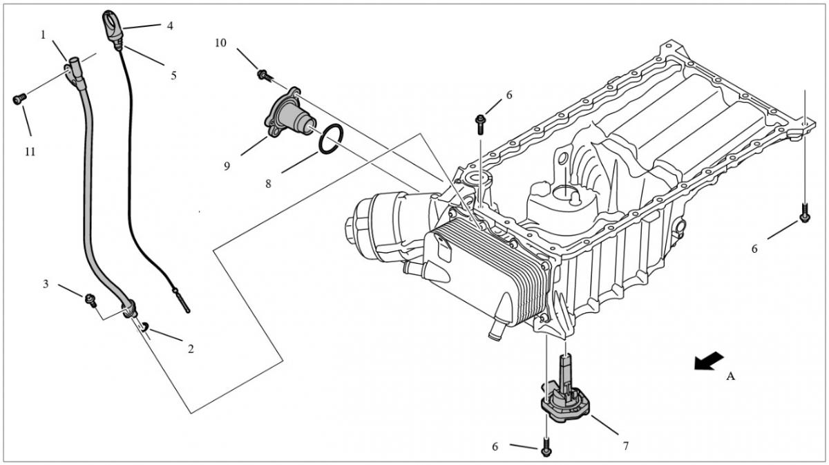
Обзор компонентов

Кожух маслопровода с навесными компонентами
1 Направляющая трубка
2 Уплотнительное кольцо круглого сечения
3 Болт M6 x 16
4 Щуп уровня масла
5 Уплотнительное кольцо круглого сечения
6 Болт M6 x 25
7 Датчик уровня масла
8 Уплотнительное кольцо круглого сечения
9 Уплотнительный фланец электромагнитного клапана
10 Болт M6 x 20
11 Болт M6 x 16
Миниатюры:
Нажмите на изображение для увеличения
Название: Обзор компонентов.jpg
Просмотров: 608
Размер:	76.0 Кб
ID:	76279  
02.04.2024, 12:54   #4
Владимир Маркин
Аватар для Владимир Маркин
Масляный насос M48 (на рисунке Turbo)

1 Масляный насос с элементом откачки масла (на рисунке Turbo)
2 Болт M8 x 22
3 Звездочка масляного насоса
4 Накидной болт M36 x 1,5 x 12
5 Электромагнитный клапан
6 Уплотнительное кольцо (перед установкой смазать)
7 Установочная втулка
8 Болт M6 x 45
9 Кожух звездочки
10 Болт M6 x 16
11 Приводная цепь
12 Разъем соединительного патрубка впускной трубы
Миниатюры:
Нажмите на изображение для увеличения
Название: Масляный насос M48 (на рисунке Turbo).jpg
Просмотров: 635
Размер:	79.2 Кб
ID:	76280  
02.04.2024, 12:55   #5
Владимир Маркин
Аватар для Владимир Маркин
Клапан регулировки давления масла и инструмент

1 Болт M6 x 20
2 Уплотнительный фланец с уплотнительным кольцом
3 Накидной болт M36
4 Смазать уплотнительные кольца моторным маслом
5 Электромагнитный клапан/клапан регулировки давления масла
6 Специальная насадка 9753 - торцевая головка
7 Клещи 9235 - клещи для извлечения реле
Миниатюры:
Нажмите на изображение для увеличения
Название: Клапан регулировки давления масла и инструмент.jpg
Просмотров: 685
Размер:	54.8 Кб
ID:	76281  
02.04.2024, 12:56   #6
Владимир Маркин
Аватар для Владимир Маркин
Демонтаж клапана регулировки давления масла (электромагнитный клапан) 4,8 л DFI

Информация

Клапан регулировки давления масла установлен в кожухе маслопровода под генератором и между опорой двигателя -1- и масляным фильтром -2- .
Миниатюры:
Нажмите на изображение для увеличения
Название: Место установки клапана регулировки давления масла.jpg
Просмотров: 720
Размер:	117.6 Кб
ID:	76282  

Метки
болт, давление, демонтаж, клапан, кольцо, круглый, масло, масляный, монтаж, насос, регулировка, сечение, уплотнительный, электромагнитный



Левый уголок Похожие темы Правый уголок
Тема Автор Раздел Ответов Последнее сообщение
[9PA1] Демонтаж и монтаж гидравлического клапана переключения длины хода клапанов (система регулировки хода клапанов) PORSCHE CAYENNE 957 Владимир Маркин Двигатель 5 14.10.2025 10:58
[92A] Демонтаж и монтаж клапана регулировки давления масла Cayenne S Hybrid (92AAM1) Владимир Маркин Двигатель 2 13.03.2023 22:17
[9PA1] Демонтаж и монтаж гидравлического клапана системы регулировки положения распредвалов 4,8-л двигателя DFI PORSCHE CAYENNE 957 Владимир Маркин Двигатель 0 03.07.2019 21:46
[970] Демонтаж и монтаж датчика указателя давления масла Владимир Маркин Двигатель 0 17.02.2019 17:55
Демонтаж и монтаж гидравлического клапана регулировки фаз газораспределения 4.5 V8 Владимир Маркин Двигатель 1 09.01.2015 21:55



Powered by vBulletin® Version 3.8.7
Copyright ©2000 - 2025, vBulletin Solutions, Inc. Перевод: zCarot
Все права на материалы, находящиеся на сайте, охраняются в соответствии с законодательством РФ.
При любом использовании материалов сайта, письменное согласие обязательно.
Торговые марки, логотипы и марки услуг, размещенные на данном сайте, являются собственностью их владельцев.
CayService.ru не связан с Porsche AG или PCNA. ©2025 CayService.ru. Все права защищены.
Яндекс.Метрика