Правила форума Clear

9PA1 производство 2007>>2010 (L) Демонтаж и монтаж заднего спойлера 957

11.09.2020, 22:06   #1
Владимир Маркин
Аватар для Владимир Маркин
Демонтаж заднего спойлера

Технические характеристики

Гайки крепления нижнего элемента заднего спойлера к заднему стеклу поз. 1 момент затяжки 8 Nm +/- 0,8 Nm

Гайки крепления нижнего элемента заднего спойлера к заднему стеклу поз. 2 момент затяжки 1,5 Nm +/- 0,5 Nm

Болты крепления верхнего элемента заднего спойлера к заднему стеклу момент затяжки 8 Nm +/- 0,8 Nm

Болты крепления верхнего элемента заднего спойлера к заднему стеклу момент затяжки 2,5 Nm +/- 0,3 Nm

1 Отсоединить верхний элемент заднего спойлера.
Миниатюры:
Нажмите на изображение для увеличения
Название: Место установки заднего спойлера.jpg
Просмотров: 1647
Размер:	44.1 Кб
ID:	34699  
11.09.2020, 22:08   #2
Владимир Маркин
Аватар для Владимир Маркин
Открыть заднее стекло и выпрессовать колпачки -1-, -стрелка-.

1.2 Выкрутить крепежные винты -2-.
Миниатюры:
Нажмите на изображение для увеличения
Название: Отсоединение верхнего элемента заднего спойлера.jpg
Просмотров: 1694
Размер:	67.7 Кб
ID:	34700  
11.09.2020, 22:09   #3
Владимир Маркин
Аватар для Владимир Маркин
1.3 Отсоединить уплотнение -1- справа и слева -стрелка-.

1.4 Выкрутить крепежные винты -2-.
Миниатюры:
Нажмите на изображение для увеличения
Название: Отсоединение верхнего элемента заднего спойлера....jpg
Просмотров: 1644
Размер:	105.1 Кб
ID:	34701  
11.09.2020, 22:10   #4
Владимир Маркин
Аватар для Владимир Маркин
2 Снять верхний элемент заднего спойлера.

Верхнюю часть переднего спойлера -1- снять в направлении назад и вверх -стрелка-.
Миниатюры:
Нажмите на изображение для увеличения
Название: Демонтаж верхнего элемента заднего спойлера.jpg
Просмотров: 1687
Размер:	55.5 Кб
ID:	34702  
11.09.2020, 22:12   #5
Владимир Маркин
Аватар для Владимир Маркин
3 Снять антенные провода заднего спойлера справа и слева

4 Снять нижний элемент заднего спойлера.

Выкрутить крепежные гайки -1- и -2-.

Выпрессовать кабельные втулки -3- со жгутом проводки -стрелка A-.

Снять нижнюю часть заднего спойлера -4- по направлению вверх -стрелка B-.
Миниатюры:
Нажмите на изображение для увеличения
Название: Демонтаж нижнего элемента заднего спойлера.jpg
Просмотров: 1680
Размер:	129.5 Кб
ID:	34703  
11.09.2020, 22:13   #6
Владимир Маркин
Аватар для Владимир Маркин
Монтаж заднего спойлера
Миниатюры:
Нажмите на изображение для увеличения
Название: Место установки заднего спойлера.jpg
Просмотров: 1659
Размер:	44.1 Кб
ID:	34704  
11.09.2020, 22:14   #7
Владимир Маркин
Аватар для Владимир Маркин
1 Установить нижний элемент заднего спойлера.

Провести жгут проводов заднего стекла через нижний элемент заднего спойлера и защитные колпачки проводов -3- вставить -стрелка A-.

Расположить нижний элемент заднего спойлера -4- корректно -стрелка B-.

Затянуть гайки крепления -1- и -2-. момент затяжки 8 Nm +/- 0,8 Nm момент затяжки 1,5 Nm +/- 0,5 Nm

2 Установить в заднем спойлере справа и слева антенные провода.
Миниатюры:
Нажмите на изображение для увеличения
Название: Монтаж нижнего элемента заднего спойлера.jpg
Просмотров: 1637
Размер:	132.0 Кб
ID:	34705  
11.09.2020, 22:18   #8
Владимир Маркин
Аватар для Владимир Маркин
3 Установить верхний элемент заднего спойлера.

Установить верхний элемент заднего спойлера -1- сзади на позиционирующий штифт -стрелка- и привести в концевое положение.
Миниатюры:
Нажмите на изображение для увеличения
Название: Монтаж верхнего элемента заднего спойлера.jpg
Просмотров: 1618
Размер:	55.3 Кб
ID:	34706  
11.09.2020, 22:19   #9
Владимир Маркин
Аватар для Владимир Маркин
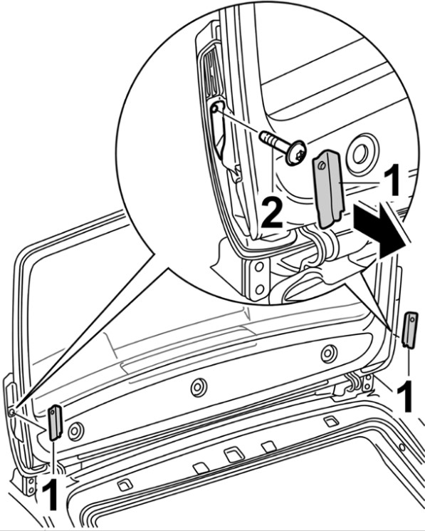
4 Закрепить верхний элемент заднего спойлера.

4.1 Проверить положение контура верхнего элемента заднего спойлера по отношению к внешней облицовке крыши, при необходимости отрегулировать.

Прикрутить новые болты крепления -1-.
момент затяжки 8 Nm +/- 0,8 Nm

Колпачки -2- надеть -стрелка-.
Миниатюры:
Нажмите на изображение для увеличения
Название: Закрепление верхнего элемента заднего спойлера.jpg
Просмотров: 1719
Размер:	68.1 Кб
ID:	34707  
11.09.2020, 22:21   #10
Владимир Маркин
Аватар для Владимир Маркин
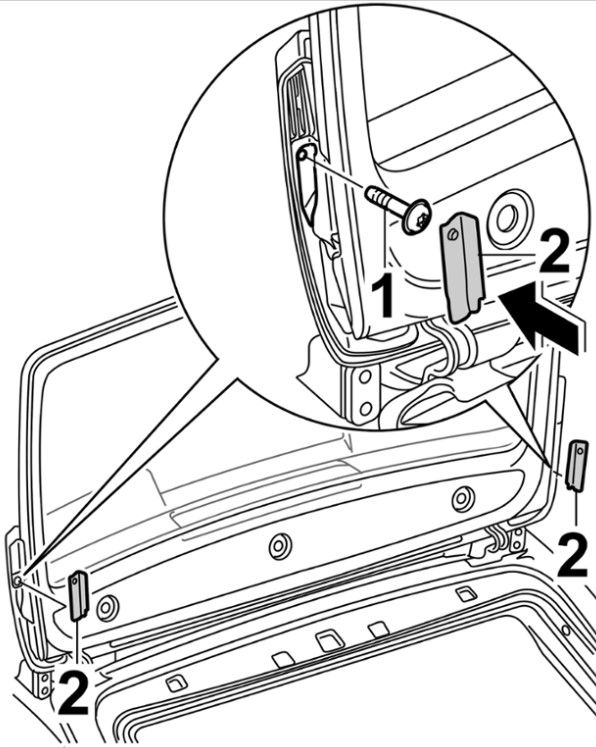
Затянуть болты крепления -1-. момент затяжки 2,5 Nm +/- 0,3 Nm

4.5 Вставить уплотнитель -2- справа и слева -стрелка-.
Миниатюры:
Нажмите на изображение для увеличения
Название: Закрепление верхнего элемента заднего спойлера...jpg
Просмотров: 1714
Размер:	108.1 Кб
ID:	34708  

Метки
-стрелка, -стрелка-, болт, демонтаж, задний, затяжка, крепление, момент, монтаж, нижний, снять, спойлер, стекло, элемент



Левый уголок Похожие темы Правый уголок
Тема Автор Раздел Ответов Последнее сообщение
[9PA1] Демонтаж и монтаж заднего стекла 957 Владимир Маркин Внешнее оснащение кузова 4 11.09.2020 22:01
[970] Демонтаж и монтаж соединительных тяг привода спойлера PORSCHE PANAMERA Владимир Маркин Внешнее оснащение кузова 3 30.01.2020 12:24
[92A] Демонтаж и монтаж заднего спойлера 958 Владимир Маркин Внешнее оснащение кузова 0 04.06.2019 14:56
[9PA] Демонтаж и монтаж заднего спойлера 955 Владимир Маркин Внешнее оснащение кузова 1 08.05.2018 21:30
[9PA1] Демонтаж и монтаж заднего спойлера (Aerokit) Prometheus_redstar Кузов 7 08.05.2018 12:47



Powered by vBulletin® Version 3.8.7
Copyright ©2000 - 2025, vBulletin Solutions, Inc. Перевод: zCarot
Все права на материалы, находящиеся на сайте, охраняются в соответствии с законодательством РФ.
При любом использовании материалов сайта, письменное согласие обязательно.
Торговые марки, логотипы и марки услуг, размещенные на данном сайте, являются собственностью их владельцев.
CayService.ru не связан с Porsche AG или PCNA. ©2025 CayService.ru. Все права защищены.
Яндекс.Метрика