Правила форума Clear

9PA производство 2003>>2006 (L) Демонтаж и монтаж декоративной накладки передней панели (накладка дефлекторов обдува стекла)

03.09.2023, 16:56   #11
Владимир Маркин
Аватар для Владимир Маркин
5 Вкрутить винты крепления -3- .
Миниатюры:
Нажмите на изображение для увеличения
Название: 7.jpg
Просмотров: 199
Размер:	67.7 Кб
ID:	70042  
03.09.2023, 16:57   #12
Владимир Маркин
Аватар для Владимир Маркин
6 Установить накладку динамика -2- слева и справа в зажимы.

7 На автомобилях с датчиком солнечного излучения -1B- или парковочным ассистентом -1A- подключить электрический разъем.
Миниатюры:
Нажмите на изображение для увеличения
Название: 8.jpg
Просмотров: 208
Размер:	68.9 Кб
ID:	70043  
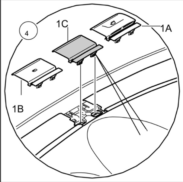
03.09.2023, 16:58   #13
Владимир Маркин
Аватар для Владимир Маркин
8 Установить и зафиксировать центральную накладку -1A, 1B или 1C- .
Миниатюры:
Нажмите на изображение для увеличения
Название: 9.jpg
Просмотров: 220
Размер:	63.0 Кб
ID:	70044  

Метки
декоративный, демонтаж, дефлектор, динамик, монтаж, накладка, обдув, панель, передний, стекло, центральный



Левый уголок Похожие темы Правый уголок
Тема Автор Раздел Ответов Последнее сообщение
[92A] Демонтаж и монтаж передней панели 958 Владимир Маркин Оснащение кузова - интерьер 11 11.05.2023 22:32
[92A] Демонтаж и монтаж накладки передней панели (накладка дефлекторов обдува стекла) Владимир Маркин Оснащение кузова - интерьер 3 11.05.2023 22:27
[970] Демонтаж и монтаж декоративной накладки стыка крыши Владимир Маркин Внешнее оснащение кузова 3 27.06.2022 15:46
[970] Демонтаж и монтаж передней панели Владимир Маркин Оснащение кузова - интерьер 0 11.09.2018 22:21
[9PA1] Демонтаж и монтаж декоративной накладки задней крышки Владимир Маркин Внешнее оснащение кузова 0 01.12.2016 19:48



Powered by vBulletin® Version 3.8.7
Copyright ©2000 - 2025, vBulletin Solutions, Inc. Перевод: zCarot
Все права на материалы, находящиеся на сайте, охраняются в соответствии с законодательством РФ.
При любом использовании материалов сайта, письменное согласие обязательно.
Торговые марки, логотипы и марки услуг, размещенные на данном сайте, являются собственностью их владельцев.
CayService.ru не связан с Porsche AG или PCNA. ©2025 CayService.ru. Все права защищены.
Яндекс.Метрика