Сообщение от
Владимир Маркин
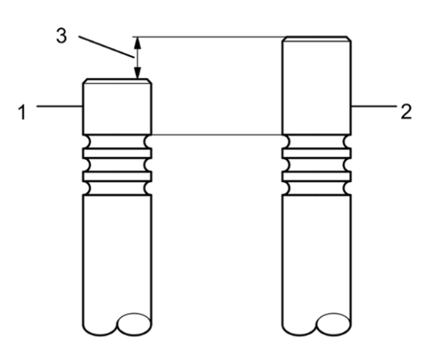
На Turbo выпускной клапан имеет внутреннюю и внешнюю пружины клапана (комплект пружин клапана) и адаптированную тарелку пружин. Выпускной клапан Turbo имеет те же внешние размеры, что и выпускной клапан атмосферного двигателя. Выпускной клапан Turbo легче из-за натриевого наполнения и имеет более длинный стержень над проточками. Подробности, рисунки и таблицу см. “Размеры клапана” ниже.
у меня мотор 4.8 турбо, а я взял клапана от 4.5 турбо
Добавлено через 7 минут
Сообщение от
Владимир Маркин
1 Выпускной клапан атмосферного двигателя
2 Выпускной клапан Turbo
3 Разница длины стержня над проточками
да кстати эта проточка отличается и между 4.5 и 4.8
Добавлено через 3 минуты
Сообщение от
mr_white2886
Но вентиляцию и трубку (на рис. под цифрой 10) к маслотделителю 5-8 цил. нужно проверить на проходимость (возможен кокс)
трубку тоже проверил, кокса нет
Добавлено через 7 минут
Неловко все как то получилось