| 
			
			Инструментыстопорные штифты 9595/1
 вспомогательный натяжитель цепи 9683/1
 фиксирующий инструмент фаз газораспределения 9861
 
 Технические значения
 Центральный болт регулятора фаз газораспределения к распределительному валу. Предварительная затяжка 30 Nm
 Центральный болт регулятора фаз газораспределения к распределительному валу. Окончательная затяжка +40°
 
 Предварительные работы
 1. Снять крышку ГБЦ.
 2. Для облегчения проворачивания коленвала можно снять свечи зажигания.
 
 Регулировка фаз газораспределения распределительных валов
 
 Регулировка фаз газораспределения
 
 Уведомление
 Неправильное обращение с коленвалом
 Повреждение привода ГРМ
 
 Запрещается проворачивать коленчатый вал в направлении, противоположном движению хода, или при демонтированном натяжителе цели.
 Соблюдать осторожность при проведении работ.
 Проворачивать двигатель только за коленчатый вал.
 После работ с распределительным валом заново отрегулировать фазы газораспределения.
 Соблюдать общие указания по технике безопасности и правила работы.
 
 Уведомление
 Неправильная регулировка фаз газораспределения
 Повреждение двигателя
 Неровная работа двигателя
 Потеря мощности двигателя
 
 Установить фиксирующий инструмент без применения силы.
 Соблюсти равномерный зазор на обеих сторонах.
 При установке фиксирующего инструмента не проворачивать распредвал с применением силы в направлении, противоположном ходу распредвала.
 Двигатель должен находиться точно в ВМТ.
 Противоположный цилиндр должен находиться в точке ВМТ зажигания.
 
 информация
 Регулировка масляного насоса с балансирным валом относительно коленчатого вала должна быть верна.
 Правильная регулировка балансирного вала относительно коленчатого вала является предпосылкой для регулировки фаз газораспределения.
 Если на двигателе имеются вибрации в кривошипно-шатунном механизме, то необходимо также проверить правильность регулировки балансирного вала.
 
 1. Провернуть коленвал за демпфер крутильных колебаний таким образом, чтобы стопорное отверстие демпфера крутильных колебаний -2- находилось примерно за 45° перед нижней точкой фиксации на крышке кожуха ГРМ -1- .
 2. Отвернуть центральные винты на четырех регуляторах фаз газораспределения.
 3. Снять натяжитель цепи.
 4. Ввернуть от руки вспомогательный натяжитель цепи . Подсоединить сжатый воздух под давлением 1 бар и медленно увеличить давление до 5,0-5,5 бар (предотвращает удар монтажного натяжителя цепи о цепь ГРМ).
 5. Провернуть распредвалы за шестигранник так, чтобы плоские поверхности были обращены вверх.
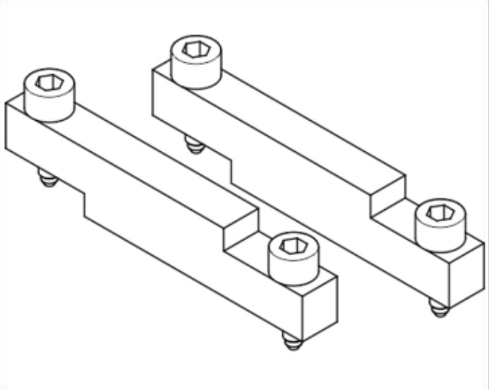
 6. Установить фиксирующий инструмент фаз газораспределения  на распредвалы.
 6.1. Затянуть винты с моментом затяжки 20 Нм, чтобы распределительные валы над плоскими поверхностями -стрелки- переместились в точное положение.
 7. Фиксировать коленчатый вал.
 7.1. Вставить стопорные штифты  в отверстие для фиксации демпфера крутильных колебаний -2- .
 7.2. Провернуть коленчатый вал со стороны демпфера крутильных колебаний так (прибл. 45°) -3- , чтобы стопорный штифт в демпфере крутильных колебаний вошел в нижнюю точку крепления в крышке ГРМ -1- .
 7.3. При этом во время вращения оказывать на стопорный штифт небольшое давление.
 8. При ошибочном проворачивании демпфера вращение в обратном направлении запрещено!
 8.1. Снять фиксирующие инструменты и вращать распредвалы с наименьшим нажатием на пружины клапанов.
 8.2. Один раз провернуть коленвал и возобновить регулировку.
 9. Распредвал и коленвал закреплены правильно.
 9.1. Ввинченный монтажный натяжитель цепи, давление прибл. 5,0 – 5,5 бар.
 9.2. Два закрепленных фиксирующих инструмента, установленные на распредвалах.
 9.3. Стопорный штифт фиксирует коленвал в ВМТ цил. 1.
 10. Завинтить до упора центральные винты четырех распредвалов согласно предписанию. При этом удерживать регулятор фаз газораспределения за шестигранник и соблюдать заданную последовательность!
 10.1. Момент затяжки: Предварительная затяжка 30 Nm  Окончательная затяжка +40°
 10.2. Последовательность затяжки:
 
 Последовательность резьбового соединения центрального винта регулятора фаз газораспределения (положение 2)
 1. 1-й ряд цилиндров 1-3 Выпуск
 2. 1-й ряд цилиндров 1-3 Впуск
 3. 2-й ряд цилиндров 4-6 Впуск
 4. 2-й ряд цилиндров 4-6 Выпуск
 
 11. Демонтировать инструменты.
 12. Установить натяжитель цепи.
 13. Для проверки провернуть двигатель дважды.
 
 Дополнительные работы
 1. Установить свечи зажигания.
 2. Установить крышку ГБЦ.
 Миниатюры:           
 
     |