Правила форума Clear

92A производство 2011>>2018 (K;L) Контроль уровня моторного масла CAYENNE TIP (92AAG1)

13.02.2021, 21:04   #1
Владимир Маркин
Аватар для Владимир Маркин
Проверка уровня моторного масла

Проверить уровень моторного масла

Осторожно

Горячая жидкость
Ожоги
Дать жидкости остыть.
Использовать средства индивидуальной защиты.
Уведомление

Неверный уровень масла
Неисправность двигателя или катализатора

Регулярно проверять уровень масла.

Уровень масла не должен опускаться ниже метки минимума или быть выше метки максимума.

Использовать только одобренные компанией Porsche моторные масла.

Информация

Измерение в комбинации приборов согласно руководству по эксплуатации после соблюдения условий является достаточным.
13.02.2021, 21:06   #2
Владимир Маркин
Аватар для Владимир Маркин
Условия проверки:

Температура моторного масла мин. 60°C

Автомобиль стоит горизонтально.

После выключения двигателя выждать несколько минут, чтобы масло стекло обратно в поддон.

В качестве альтернативы для проверки уровня моторного масла подходит также маслоизмерительный щуп для Cayenne 2008-2009 модельного года.

Номер запчасти: 95510706800

Процесс проверки:

1 Извлечь маслоизмерительный щуп и протереть его чистой неворсистой ветошью. Снова вставить маслоизмерительный щуп на всю длину, заново извлечь его и считать уровень масла. Отметки на маслоизмерительном щупе.
Миниатюры:
Нажмите на изображение для увеличения
Название: 1.jpg
Просмотров: 2325
Размер:	12.7 Кб
ID:	40327   Нажмите на изображение для увеличения
Название: 2.jpg
Просмотров: 2335
Размер:	16.4 Кб
ID:	40328   Нажмите на изображение для увеличения
Название: 3.jpg
Просмотров: 2360
Размер:	13.1 Кб
ID:	40329  
13.02.2021, 21:07   #3
Владимир Маркин
Аватар для Владимир Маркин
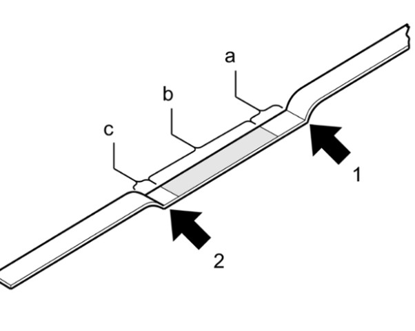
Отметки на маслоизмерительном щупе

1 – отметка максимума
2 – отметка минимума
a – область выше рифленого поля до отметки максимума: долив масла не требуется.
b – уровень масла в пределах рифленого поля: можно долить моторное масло.
с – отрезок от отметки минимума до рифленого поля: долить масло до рифленой поверхности.
Миниатюры:
Нажмите на изображение для увеличения
Название: Отметки на маслоизмерительном щупе.jpg
Просмотров: 2352
Размер:	22.9 Кб
ID:	40326  
26.12.2023, 11:48   #4
Владимир Маркин
Аватар для Владимир Маркин
Заправочные объемы масла

Заправочный объем масла с заменой масляного фильтра
MIN 5,2 л
MAX 6,7 литра
Разница MIN — MAX 1,5 л
Первоначальная заправка 7,7 л

Метки
cayenne, заправочный, контроль, масло, маслоизмерительный, моторный, объем, отметка, поль, проверка, рифленый, уровень



Левый уголок Похожие темы Правый уголок
Тема Автор Раздел Ответов Последнее сообщение
[92A] Неисправность индикации уровня моторного масла Cayenne Diesel Tiptronic (92AAP1) Stepan76 Двигатель 4 10.07.2020 16:29
[92A] Cayenne V6 958 бензин проверка уровня моторного масла LPS Двигатель 8 05.09.2019 22:39
[92A] Контроль уровня моторного масла Cayenne V6 Hybrid Владимир Маркин Двигатель 0 08.08.2019 20:00
[92A] Контроль уровня моторного масла Двигатель 4,2 л дизель Владимир Маркин Двигатель 0 21.01.2018 17:56
[92A] Проверка уровня моторного масла через комбинацию приборов PORSCHE CAYENNE 958 Владимир Маркин Двигатель 7 22.05.2017 12:38



Powered by vBulletin® Version 3.8.7
Copyright ©2000 - 2025, vBulletin Solutions, Inc. Перевод: zCarot
Все права на материалы, находящиеся на сайте, охраняются в соответствии с законодательством РФ.
При любом использовании материалов сайта, письменное согласие обязательно.
Торговые марки, логотипы и марки услуг, размещенные на данном сайте, являются собственностью их владельцев.
CayService.ru не связан с Porsche AG или PCNA. ©2025 CayService.ru. Все права защищены.
Яндекс.Метрика