Правила форума Clear

970 производство 2010>>2016 (L) Регулировка фаз газораспределения распределительных валов Panamera 4 V6 (дорестайлинг)

25.08.2018, 12:30   #1
Владимир Маркин
Аватар для Владимир Маркин
Предварительные работы

1. Снять крышки ГБЦ (клапанные крышки) обоих радов цилиндров.

2. Для облегчения проворачивания коленвала следует демонтировать свечи зажигания.

Инструменты и материалы

Специальный инструмент

Инструмент для регулировки фаз газораспределения
1 - Оба нивелировочных инструмента следует использовать попарно для регулировки распредвалов. Нивелировочный инструмент . Инструменты следует использовать зеркально для обеих ГБЦ.
2 - Стопорный штифт фиксирующие штифты используется для стопорного отверстия между гасителем колебаний и крышкой цепи ГРМ для регулировки в.м.т.
3 - Монтажный натяжитель ремня вспомогательный натяжитель ремня необходим для точной регулировки фаз газораспределения из-за погрешностей длинной цепи ГРМ в двигателе V8. Он не подходит для 4,5-литровых двигателей. В разъем залить несколько капель стандартного нагнетаемого масла (предупреждает закисание внутреннего поршня). Рабочее давление от 5,0 до 5,5 бар.
4 - Шланг нагнетаемого воздуха для вспомогательного натяжителя цепи

Информация

Фазы газораспределения V6

информация

В случае V6 необходимо обратить внимание на следующее =>
Концепция ремонта V6 аналогична концепции ремонта V8.
Особенности и различия компонентов учтены и представлены в главе → 1001IN Моменты затяжки, порядок затяжки, монтажные обзоры.
Более серьезные отклонения отражены в отдельных описаниях.
Если какие-либо особенности не представлены, то действительны указания по монтажу и регулировке для V8.

информация
Фазы газораспределения (положение распределительных валов относительно коленчатого вала) регулируются по аналогии с V8.
Регулировка масляного насоса с балансирным валом относительно коленчатого вала должна быть верна.
Правильная регулировка балансирного вала относительно коленчатого вала является предпосылкой для регулировки фаз газораспределения.
Если на двигателе V6 имеются вибрации в кривошипно-шатунном механизме, то необходимо также проверить правильность регулировки балансирного вала.

Предписание по затяжке масляного насоса и положение фиксации балансирного вала по отношению к масляному насосу
Pfeil A - Вид A; вид на противовес балансирного вала спереди; положение фиксации с помощью сверла диаметром 6 мм или фиксирующего штифта
SW 36 - Размер ключа 36 мм; для удержания от проворота с помощью рожкового ключа

Информация

Правильная регулировка и возможные неисправности

1. Регулировка фаз газораспределения, обзор. → Фиксирующий инструмент и распредвалы Фиксирующий инструмент устанавливается между цилиндрами 3 / 4 и 7 / 8. Он осторожно и равномерно при вращении взад и вперед распредвалов за шестигранники накручивается на ГБЦ (от руки).

Фиксирующий инструмент и распредвалы
1 - Фиксирующий инструмент Фиксирующий инструмент . Два одинаковых фиксирующих инструмента необходимы для четырех распредвалов.
2 - Боковые поверхности (двугранный угол) в качестве фиксатора между фиксирующим инструментом и распредвалами; совпадает только в одном положении.
3 - Болты клапанной крышки для равномерного накручивания фиксирующего инструмента на ГБЦ
4 - Шестигранник для проворачивания распредвалов

2. Фиксирующий инструмент осторожно и равномерно при вращении взад и вперед распредвалов за шестигранники надеть на ГБЦ (от руки). Не прилагать чрезмерное усилие, действовать аккуратно и осторожно. → Проворачивание распредвалов во время монтажа инструмента

3. В данном положении регулировка не возможна, поскольку широкая часть боковых поверхностей (двугранный угол) направлена вверх. Провернуть распредвалы, пока узкая часть не будет направлена вверх. → Оба распредвала в неправильном положении

4. В данном положении регулировка не возможна, поскольку широкая часть боковых поверхностей (двугранный угол) одного распредвала направлена вверх. Данный распредвал провернуть, пока узкая часть не будет направлена вверх. → Один распредвал в правильном положении – один распредвал в неправильном положении

5. В данном положении регулировка не возможна, поскольку широкая часть боковых поверхностей (двугранный угол) одного распредвала направлена вверх. Распредвал стоит немного неровно. Распредвалы провернуть, пока узкая часть обоих распредвалов не будет направлена строго вверх. → Оба распредвала - каждый по своему - в неправильном положении

6. В данном положении регулировка не возможна, поскольку один распредвал стоит немного неровно. Данный распредвал слегка провернуть, пока узкая часть не будет направлена вверх. → Один распредвал в правильном положении и один распредвал в слегка неправильном положении

7. В данном положении регулировка не возможна, поскольку фиксирующий инструмент перекручен. Повернуть фиксирующий инструмент. Учитывать разницу в высоте инструмента и положение распредвалов в ГБЦ. → Перекрученный фиксирующий инструмент (конструктивная разница в высоте распредвалов)

8. При правильном положении распредвалов (обе боковые поверхности распредвалов узкой частью направлены симметрично вверх) инструмент можно легко надеть. → Равномерная установка на распредвалы

9. Для равномерного накручивания фиксирующего инструмента на ГБЦ прикрепить его с помощью болтов клапанной крышки. В зависимости от зазоров между деталями распредвалов или на ГБЦ инструмент может фиксироваться или непосредственно на ГБЦ, или на небольшом расстоянии от нее. Достаточно визуальной проверки, при необходимости с помощью фонаря. Необходимо соблюдать одинаковое расстояние с обеих сторон. Болты клапанной крышки закручиваются от руки. → Равномерное прикручивание фиксирующего инструмента на ГБЦ

10. Фиксирующий инструмент установлен на ГБЦ неровно. Необходимо соблюдать одинаковое расстояние с обеих сторон. Внимание: в данном случае неправильную установку можно не заметить. → Неровная несимметричная установка фиксирующего инструмента на ГБЦ

Регулировка фаз газораспределения распределительных валов

Уведомление

Неправильное обращение с коленвалом
Повреждение привода ГРМ

→ Запрещается проворачивать коленчатый вал в направлении, противоположном движению хода, или при демонтированном натяжителе цели.
→ Соблюдать осторожность при проведении работ.
→ Проворачивать двигатель только за коленчатый вал.
→ После работ с распределительным валом заново отрегулировать фазы газораспределения.
→ Соблюдать общие указания по технике безопасности и правила работы.

Уведомление

Неправильная регулировка фаз газораспределения
Повреждение двигателя
Неровная работа двигателя
Потеря мощности двигателя

→ Установить фиксирующий инструмент без применения силы.
→ Соблюсти равномерный зазор на обеих сторонах.
→ При установке фиксирующего инструмента не проворачивать распредвал с применением силы в направлении, противоположном ходу распредвала.
→ Двигатель должен находиться точно в ВМТ.
→ Противоположный цилиндр должен находиться в точке ВМТ зажигания.

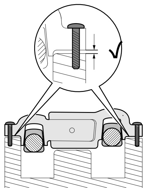
1. Повернуть коленвал со стороны демпфера так, чтобы отверстие на демпфере -2- располагалось прим. на 45° перед нижн. точкой крепления в крышке картера -1- .

2. Равномерно ослабить фазовращатель и звездочки четырех распредвалов, чтобы они вращались свободно (избегать переворота). При этом обязательно удерживать шестигранник компонента. → Звездочка → Фазовращатель

3. Вывернуть натяжитель цепи двигателя. Подложить ветошь из-за капающего масла.

4. Монтажный натяжитель цепи Вкрутить вспомог. натяжитель цепи . Подключить сжатый возд. 1 бар и постепенно увеличивать до 5,0 - 5,5 бар (предотвращает "удар" монтажного натяжителя о цепь ГРМ). -стрелка-

5. Вращать шестигранники четырех распредвалов гаечным ключом до положения, при котором фиксирующая планка может быть установлена одновременно и равномерно на боковые поверхности (двугранный угол) впускного и выпускного распредвалов между цилиндрами 3 / 4 и 7 / 8. Возможные неисправности см. выше (глава "Информация").

5.1. Установить фиксирующую планку в соотв. с приведенной выше главой "Правильная установка и возможные неисправности".

5.2. Установить фиксирующую планку над бок. поверхностями обоих распредвалов так, чтобы узкие концы бок. поверхностей распредвалов были направлены вверх к планке. При установке фиксирующей планки следует учитывать конструктивную разность высот распредвалов в ГБЦ. При необходимости повернуть фиксирующую планку.

5.3. Осторожно вращать шестигранники четырех распредвалов гаечным ключом и установить фиксирующую планку над боковыми поверхностями. Осторожно поочередно вращать распредвалы за шестигранники возвратно-поступ. движениями → Вращение распредвалов во время установки инструмента и медленно, осторожно вкручивать винты крышки клапанов в фиксир. планку. Фиксирующая планка должна быть расположена на одинаковом расстоянии (визуальный контроль с фонарем) относительно обеих сторон ГБЦ. При различных производственных допусках фиксирующая планка может прилегать к ГБЦ или располагаться на небольшом расстоянии от нее. Если фиксирующая планка установлена равномерно и отсутствует зазор при вращении шестигранника распредвала, фиксация произведена правильно.

5.4. Аналог. образом регулировать другой ряд цилиндров (зафиксировать распредвалы).

5.5. Теперь все четыре распредвала равномерно и без зазора зафиксированы обеими планками. Между бок. поверхностями распредвалов и фиксир. планкой не должно проявляться зазоров при свете лампы.

6. Стопорный штифт Установить фиксирующий штифт в отверстие демпфера -2- .

7. Повернуть коленвал со стороны демпфера так -3- , чтобы стопорный штифт вошел в нижнюю точку крепления в крышке ГРМ -1- . Слегка нажать на стопорный штифт при вращении.

8. При ошибочном проворачивании демпфера вращение в обратном направлении запрещено! Снять фиксирующую планку и вращать распредвалы с наименьшим нажатием на пружины клапанов. Один раз провернуть коленвал и возобновить регулировку.

9. Распредвал и коленвал закреплены правильно.

Установленные инструменты
1 - Ввинченный монтажный натяжитель цепи, давление примерно 5,0 - 5,5 бар.
2 - Две фиксирующие планки, установленные на распредвалах.
3 - Стопорный штифт фиксирует коленвал в ВМТ цил. 1.

10. Затянуть регуляторы фаз газораспределения и звездочки четырех распределительных валов в соответствии с предписанием. При этом обязательно удерживать компоненты за шестигранник. → Звездочка → Фазовращатель Соблюдать следующую последовательность =>
1) Звездочка выпускного распредвала цилиндров с 1 по 4
2) Регулятор фаз газораспределения впускного распределительного вала цилиндров с 1 по 4

3) Регулятор фаз газораспределения впускного распределительного вала цилиндров с 5 по 8
4) Звездочка выпускного распредвала цилиндров с 5 по 8

Регулирование фаз газораспределения
1 - Винт M12, полная затяжка после регулировки фаз газораспределения!; винт не следует менять для регулировки
2 - Регулятор фаз газораспределения с интегрированным шестигранником для удержания
3 - Гидравлический клапан системы регулирования фаз газораспределения (NVS)
4 - Винт M5 x 12

Цепь ГРМ и звездочки
1 - Двухрядная цепь привода распредвалов
2 - Звездочка распределительного вала с интегрированным шестигранником для удержания
3 - Винт M12, полная затяжка после регулировки фаз газораспределения!; винт не следует менять для регулировки
4 - Направляющая планка
5 - Винт M8 x 35
6 - Поверхность скольжения распредвал-распредвал
A - Направление движения

11. Снять инструменты.

12. Смонтировать натяжитель цепи.

Дополнительные работы

1. Смонтировать свечи зажигания.

2. Установить крышки ГБЦ (клапанные крышки) обоих рядов цилиндров.
Миниатюры:
Нажмите на изображение для увеличения
Название: Фиксирующие штифты.jpg
Просмотров: 1300
Размер:	41.4 Кб
ID:	18073   Нажмите на изображение для увеличения
Название: Невелировочный инструмент.jpg
Просмотров: 1360
Размер:	47.5 Кб
ID:	18074   Нажмите на изображение для увеличения
Название: Вспомогательный натяжитель цепи.jpg
Просмотров: 1349
Размер:	45.4 Кб
ID:	18075   Нажмите на изображение для увеличения
Название: Инструмент для регулировки фаз газораспределения.jpg
Просмотров: 1368
Размер:	36.1 Кб
ID:	18076   Нажмите на изображение для увеличения
Название: Масляный насос и балансирный вал к масляному насосу.jpg
Просмотров: 1422
Размер:	77.0 Кб
ID:	18077  

Нажмите на изображение для увеличения
Название: Фиксирующий инструмент и распредвалы.jpg
Просмотров: 1304
Размер:	60.8 Кб
ID:	18078   Нажмите на изображение для увеличения
Название: Проворачивание распред. во время монтажа инструмент.jpg
Просмотров: 1412
Размер:	61.7 Кб
ID:	18080   Нажмите на изображение для увеличения
Название: Оба распредвала в неправильном положении.jpg
Просмотров: 1314
Размер:	57.8 Кб
ID:	18081   Нажмите на изображение для увеличения
Название: Один распредвал в правильном положении – один распр.jpg
Просмотров: 1379
Размер:	56.2 Кб
ID:	18082   Нажмите на изображение для увеличения
Название: Перекрученный фиксирующий инструмент (конструктивн.jpg
Просмотров: 1344
Размер:	56.0 Кб
ID:	18083  

Нажмите на изображение для увеличения
Название: Равномерная установка на распредвалы.jpg
Просмотров: 1336
Размер:	59.4 Кб
ID:	18084   Нажмите на изображение для увеличения
Название: Равномерная установка на распред..jpg
Просмотров: 1336
Размер:	59.4 Кб
ID:	18086   Нажмите на изображение для увеличения
Название: Равномерное прикр. фикс.инструмента на ГБЦ.jpg
Просмотров: 1362
Размер:	60.0 Кб
ID:	18088   Нажмите на изображение для увеличения
Название: Неровная несимметричная установка фиксирующего инс.jpg
Просмотров: 1362
Размер:	58.6 Кб
ID:	18089   Нажмите на изображение для увеличения
Название: Фиксирующее отверстие 45 градусов перед ВМТ цилиндра.jpg
Просмотров: 1384
Размер:	89.6 Кб
ID:	18090  

Нажмите на изображение для увеличения
Название: Звездочка.jpg
Просмотров: 1342
Размер:	153.1 Кб
ID:	18091   Нажмите на изображение для увеличения
Название: Фазовращатель.jpg
Просмотров: 1394
Размер:	136.2 Кб
ID:	18092   Нажмите на изображение для увеличения
Название: Монтажный натяжитель цепи.jpg
Просмотров: 1323
Размер:	134.6 Кб
ID:	18093   Нажмите на изображение для увеличения
Название: Шестигранник распредвала.jpg
Просмотров: 1365
Размер:	114.4 Кб
ID:	18094   Нажмите на изображение для увеличения
Название: Шестигранник распредвала...jpg
Просмотров: 1341
Размер:	59.6 Кб
ID:	18095  

Нажмите на изображение для увеличения
Название: Отверстие в демпфере.jpg
Просмотров: 1356
Размер:	89.8 Кб
ID:	18096   Нажмите на изображение для увеличения
Название: Положение фиксатора в крышке ГРМ.jpg
Просмотров: 1373
Размер:	90.0 Кб
ID:	18097   Нажмите на изображение для увеличения
Название: Инструмент установлен.jpg
Просмотров: 1291
Размер:	135.2 Кб
ID:	18098   Нажмите на изображение для увеличения
Название: Звездочка...jpg
Просмотров: 1309
Размер:	152.8 Кб
ID:	18099   Нажмите на изображение для увеличения
Название: Фазовращатель...jpg
Просмотров: 1351
Размер:	135.0 Кб
ID:	18100  

Нажмите на изображение для увеличения
Название: Регулирование фаз газораспределения.jpg
Просмотров: 1362
Размер:	49.0 Кб
ID:	18101   Нажмите на изображение для увеличения
Название: Цепь ГРМ и звездочки.jpg
Просмотров: 1370
Размер:	65.9 Кб
ID:	18102  
25.08.2018, 18:15   #2
Katutil
А с рестайлингом большое отличие? Или все также?
25.08.2018, 19:00   #3
Владимир Маркин
Аватар для Владимир Маркин
Сообщение от Katutil Посмотреть сообщение
А с рестайлингом большое отличие? Или все также?
По другому. На форуме есть.
12.08.2021, 22:09   #4
Владимир Маркин
Аватар для Владимир Маркин
1 Винт M12, полная затяжка после регулировки фаз газораспределения! ; винт подлежит замене; предварительная затяжка 1-й этап Момент затяжки 10 Nm ; предварительная затяжка, 2-й этап Момент затяжки 30 Nm ; предварительная затяжка, 3-й этап (угол затяжки) Угол затяжки 100 ° ; процесс ослабления, 1-й этап Угол затяжки 90 ° ; процесс ослабления, 2-й этап Угол затяжки 360 ° ; окончательная затяжка, 1-й этап Момент затяжки 30 Nm ; окончательная затяжка, 2-й этап (угол затяжки) Угол затяжки 135 °

2 Регулятор фаз газораспределения с интегрированным шестигранником для удержания

3 Гидравлический клапан системы регулирования фаз газораспределения (NVS)

4 Винт M5 x 12 Момент затяжки 6 Nm
Миниатюры:
Нажмите на изображение для увеличения
Название: Система регулирования фаз газораспределения.jpg
Просмотров: 1353
Размер:	38.7 Кб
ID:	46498  
12.08.2021, 22:11   #5
Владимир Маркин
Аватар для Владимир Маркин
1 Двухрядная цепь привода распределительных валов

2 Звездочка распределительного вала с интегрированным шестигранником для удержания

3 Винт M12, полная затяжка после регулировки фаз газораспределения! ; винт подлежит замене; 1-й подход Момент затяжки 10 Nm ; 2-й подход Момент затяжки 50 Nm ; окончательная затяжка (угол затяжки) Угол затяжки 90 °

4 Направляющая шина

5 Винт M8 x 35 Момент затяжки 32 Nm

6 Поверхность скольжения распредвал–распредвал

A Направление движения
Миниатюры:
Нажмите на изображение для увеличения
Название: Цепь ГРМ и звездочки.jpg
Просмотров: 1385
Размер:	47.3 Кб
ID:	46499  

Метки
panamera, валов, винт, газораспределение, дорестайлинг, затяжка, момент, распределительный, регулировка, угол, этап



Левый уголок Похожие темы Правый уголок
Тема Автор Раздел Ответов Последнее сообщение
[95B] Регулировка фаз газораспределения распределительных валов Владимир Маркин Двигатель 5 21.02.2023 14:11
[970] Регулировка фаз газораспределения Владимир Маркин Двигатель 2 31.05.2018 22:15
[9PA1] Проверка и регулировка фаз газораспределения распределительных валов двигателя 3,0 л дизель Владимир Маркин Двигатель 0 10.08.2017 21:12
[92A] Демонтаж и монтаж распределительных валов Владимир Маркин Двигатель 1 23.10.2016 17:49
[9PA] Регулировка фаз газораспределения xor777 Двигатель 9 25.01.2012 10:47



Powered by vBulletin® Version 3.8.7
Copyright ©2000 - 2025, vBulletin Solutions, Inc. Перевод: zCarot
Все права на материалы, находящиеся на сайте, охраняются в соответствии с законодательством РФ.
При любом использовании материалов сайта, письменное согласие обязательно.
Торговые марки, логотипы и марки услуг, размещенные на данном сайте, являются собственностью их владельцев.
CayService.ru не связан с Porsche AG или PCNA. ©2025 CayService.ru. Все права защищены.
Яндекс.Метрика