Правила форума Clear

9PA1 производство 2007>>2010 (L) Демонтаж и монтаж гидравлического блока задней крышки

09.01.2017, 14:52   #1
Владимир Маркин
Аватар для Владимир Маркин
Демонтаж и монтаж гидравлического блока задней крышки

Крепежные гайки держателя гидравлического блока к кузову. Момент затяжки 9,7 Nm
Резьбовая пробка к гидроблоку. Момент затяжки 1 Nm +/-0,3 Nm

Предварительные работы
1. Снять боковую обшивку багажного отсека сзади.

информация
Только в автомобилях с дополнительной системой кондиционирования.

2. Отсоединить дополнительный кондиционер и повернуть с подключенными каналами в сторону.

Демонтаж гидравлического модуля задней крышки

1. С помощью → WE1222 домкрата для КПП и агрегатов Junior Jack 0,5 зафиксировать заднюю крышку от непредусмотренного закрытия.

информация
Только на автомобилях без доп. системы кондиционирования.
Выкрутить крепежные винты -1- и ящик для хранения -2- снять -стрелка- .

2. Разблокировать кронштейн -2- в обоих зажимах -стрелки A- и блок управления задней крышки -1- из кронштейна -2- извлечь -стрелка B- .
3. Отсоединить разъем.
3.1. Штекерный разъем -1- в зажиме -2- разблокировать -стрелка A- и извлечь вниз -стрелка B- .
3.2. Сжать фиксаторы -стрелки C- и штекерный разъем -1- отсоединить -стрелка D- .

Уведомление
Неправильная прокладка каналов
Повреждение каналов и шлангов
Неправильное функционирование и регистрация неисправностей в памяти блоков управления
Избегать маленького радиуса сгибания каналов.
Удалить или заклеить клейкой лентой острые кромки и заусенцы в зоне прокладки.
Соблюдать необходимое расстояние до компонентов, которые сильно нагреваются в процессе работы.

4. Шланг слива воды -1- и напорные масляные магистрали -2 и 3- из держателей -4 и 5- извлечь -стрелки- .
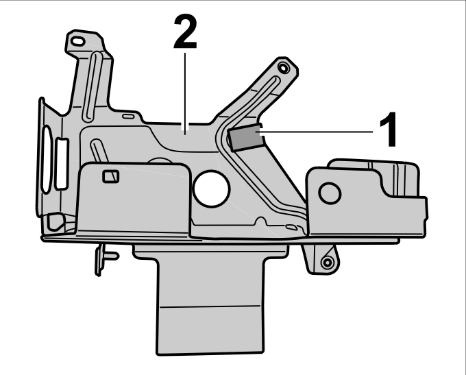
5. Открутить гайки крепления -2- и кронштейн с гидравлическим модулем -1- вывести -стрелка- .
6. Разблокировать разъемные соединения.
6.1. Красная напорная масляная магистраль: фиксатор -1- вдавить -стрелка A- , разблокировать -стрелка B- и штепсельный разъем -2- извлечь -стрелка C- .
6.2. Синяя напорная масляная магистраль: напорную масляную магистраль -1- слегка отодвинуть в сторону -стрелка A- . Фиксатор -2- вдавить -стрелка B- , разблокировать -стрелка C- и штепсельный разъем -3- извлечь -стрелка D- .
7. Извлечь кронштейн с гидравлическим модулем из автомобиля.
8. Разрезать кабельный хомут -1- и гидравлический модуль -2- из кронштейна -3- извлечь -стрелка- .
9. Проверить резиновую полоску -1- в выделенной зоне кронштейна -2- , при необходимости заменить.
10. Верхний элемент звукопоглощающей оболочки -1- снять -стрелка A- и гидравлический модуль -2- извлечь -стрелка B- .

Монтаж гидравлического блока задней крышки

информация
Для выполнения этапов 1 - 5 необходимо два человека.

1. Подсоединить напорные масляные магистрали -1 и 2- к гидравлическому блоку -3- - -стрелки- до ощутимых щелчков штуцерных разъемов -4- .
2. Соединить разъем -1- гидравлического блока -2- - -стрелки- до ощутимого щелчка фиксатора -1- .
3. Прокачать гидравлическую систему.
3.1. Во время прокачки установить гидравлич. блок горизонтально.
3.2. Опустить подъемник КП и сдвинуть в сторону.
3.3. Заднюю крышку 2-3 раза открыть и закрыть в автоматич. режиме.
Система прокачивается автоматически. Воздух будет полностью удален после многократного приведения системы в действие. После прокачки проверить уровень жидкости в бачке гидравлического блока, при необходимости пополнить.
4. Открыть заднюю крышку.
5. Установитьм гидравлический блок -1- в нижней части звукопоглощ. кожуха -2- , проложить жгут проводки -3- и установить верхнюю часть звукопоглощающего -4- кожуха -стрелка- .

информация
Для предотвращения шумов замок хомута должен быть расположен сверху на звукопоглощающем кожухе.

6. Установить звукопоглощ. кожух -1- с гидравлическим блоком в держатель -2- - -стрелка- и закрепить хомутом -3- , чтобы кожух был легко сжат.
7. Держатель -1- с гидравлическим блоком установить в кузов -стрелка- и затянуть крепежными гайками -2- . → момент затяжки: 9,7 Nm
8. Разъем -1- заклипсовать в фиксатор -стрелка- .

информация
При прокладке напорные масляные магистрали должны прилегать к кедеру -6- или резиновым полоскам -7-.

9. Закрепить каналы.
9.1. Напорные масляные магистрали -2 и 3- заклипсовать в держатель -4- заподлицо (цветная отметка) -стрелки A- .
9.2. Заклипсовать водоотводный шланг -1- в держатель -5- - -стрелка B- .
10. Блок управления задней крышки -1- установить снизу в держатель -2- и прижать -стрелка A- до ощутимых щелчков обоих крепежных язычков -стрелки B- .

информация
Только для автомобилей без дополнительного кондиционера.
Корректно расположить вещевой отсек -2- на кузове -стрелка- и затянуть его винтами крепления -1- .

Общая информация по гидравлическому блоку

Проверка уровня рабочей жидкости в гидравлической системе

1. Установить гидравлический блок в горизонтальное положение и проверить уровень рабочей жидкости в бачке по нанесенным отметкам.
Уровень рабочей жидкости в гидравлической системе не должен быть ниже минимальной отметки.
2. При слишком низком уровне рабочей жидкости долить жидкость.

Заполнение гидроблока

информация
При заполнении гидросистемы действовать с предельной осторожностью, чтобы не допустить попадание грязи в систему.
Перед отворачиванием резьбовой пробки подложить ветошь под гидроблок для сбора вытекающего масла.
В случае с гидроблоком для задней крышки речь идет о закрытой гидросистеме. Заполнение, как правило, необходимо только после вскрытия гидравлического контура (после замены компонента). При замене или заливе масла для гидросистемы использовать только оригинальное масло Porsche для гидросистем.

1. Заполнить гидроблок.
1.1. Выкрутить резьбовую пробку -1- .
1.2. Заполнить гидроблок -2- до метки перекрестия оригинальным маслом Porsche для гидросистем -3- .

информация
При вкручивании резьбовой пробки -1- обратить внимание на то, чтобы уплотнение -4- прилегало к резьбовой головке.

1.3. Вкрутить резьбовую пробку -1- . → Момент затяжки: 1 Nm+/-0,3 Nm

Демонтаж разъемов
1. Демонтировать гидравлический блок.

информация
При замене разъемов необходимо действовать крайне осторожно, чтобы в систему не попала грязь.
Перед откручиванием разъема необходимо подложить ветошь под гидравлический блок чтобы собрать вытекающую рабочую жидкость.

2. Снять разъем на гидравлическом блоке.
2.1. Придерживать одну часть разъема -1- ключом и раскрутить разъем -1- в -направлении стрелки A- .
2.2. Придерживать одну часть разъема -3- ключом и раскрутить разъем -3- в -направлении стрелки B- .
3. Снять разъем на напорной масляной магистрали.
3.1. Придерживать одну часть разъема -1- ключом и раскрутить разъем -1- в -направлении стрелки A- .
3.2. Придерживать одну часть разъема -3- ключом и раскрутить разъем -3- в -направлении стрелки B- .

Монтаж разъемов
1. Установить разъем на напорной масляной магистрали.
1.1. Красная напорная масляная магистраль: Одну часть разъема -3- придерживать ключом и закрутить разъем -4- в -направлении стрелки A- .
1.2. Синяя напорная масляная магистраль: Одну часть разъема -1- придерживать ключом и закрутить разъем -2- в -направлении стрелки B- .
2. Установить разъем на гидравлическом блоке.
2.1. Красная напорная масляная магистраль: Одну часть разъема -3- придерживать ключом и закрутить разъем -4- в -направлении стрелки B- .
2.2. Синяя напорная масляная магистраль: Одну часть разъема -1- придерживать ключом и закрутить разъем -2- в -направлении стрелки A- .
3. Установить гидравлический блок.

Дополнительные работы

информация
Только в автомобилях с дополнительной системой кондиционирования.

1. Закрепить дополнительную сист. кондиционирования.
2. Установить боковую обшивку багажного отсека задн.
Миниатюры:
Нажмите на изображение для увеличения
Название: Место устан. гидравл. модуля задней крышки.png
Просмотров: 2108
Размер:	81.9 Кб
ID:	13656   Нажмите на изображение для увеличения
Название: Фиксация крышки.png
Просмотров: 2071
Размер:	82.4 Кб
ID:	13657   Нажмите на изображение для увеличения
Название: Демонтаж ящика.png
Просмотров: 2112
Размер:	135.0 Кб
ID:	13658   Нажмите на изображение для увеличения
Название: Блок управления задней крышки.png
Просмотров: 2109
Размер:	72.4 Кб
ID:	13659   Нажмите на изображение для увеличения
Название: Отсоединение разъема.png
Просмотров: 2072
Размер:	121.2 Кб
ID:	13660  

Нажмите на изображение для увеличения
Название: Извлечение магистралей из держателя.png
Просмотров: 2099
Размер:	97.3 Кб
ID:	13661   Нажмите на изображение для увеличения
Название: Кронштейн гидравлич. модуля.png
Просмотров: 2065
Размер:	111.4 Кб
ID:	13662   Нажмите на изображение для увеличения
Название: Разблокировка соединения (красный).png
Просмотров: 2080
Размер:	108.5 Кб
ID:	13663   Нажмите на изображение для увеличения
Название: Разблокировка соединения (синий).png
Просмотров: 2025
Размер:	109.7 Кб
ID:	13664   Нажмите на изображение для увеличения
Название: Демонтаж гидроблока.png
Просмотров: 2094
Размер:	70.5 Кб
ID:	13665  

Нажмите на изображение для увеличения
Название: Резиновая полоска.png
Просмотров: 2084
Размер:	58.9 Кб
ID:	13666   Нажмите на изображение для увеличения
Название: Извлечение гидроблока.png
Просмотров: 2016
Размер:	46.6 Кб
ID:	13667   Нажмите на изображение для увеличения
Название: Подсоединение напорных магистр..png
Просмотров: 2048
Размер:	115.6 Кб
ID:	13668   Нажмите на изображение для увеличения
Название: Соединение разъема.png
Просмотров: 2138
Размер:	115.9 Кб
ID:	13669   Нажмите на изображение для увеличения
Название: Монтаж гидроблока.png
Просмотров: 2102
Размер:	113.2 Кб
ID:	13670  

Нажмите на изображение для увеличения
Название: Монтаж гидроблока 2.png
Просмотров: 2084
Размер:	103.0 Кб
ID:	13671   Нажмите на изображение для увеличения
Название: Монтаж держателя.png
Просмотров: 2072
Размер:	111.5 Кб
ID:	13672   Нажмите на изображение для увеличения
Название: Фиксация разъема.png
Просмотров: 2089
Размер:	105.3 Кб
ID:	13673   Нажмите на изображение для увеличения
Название: Крепление каналов.png
Просмотров: 2071
Размер:	103.1 Кб
ID:	13674   Нажмите на изображение для увеличения
Название: Монтаж блока управления.png
Просмотров: 2037
Размер:	73.1 Кб
ID:	13675  

Нажмите на изображение для увеличения
Название: Монтаж вещевого отсека.png
Просмотров: 2013
Размер:	135.0 Кб
ID:	13676   Нажмите на изображение для увеличения
Название: Уровень рабочей жидкости.png
Просмотров: 2034
Размер:	101.2 Кб
ID:	13677   Нажмите на изображение для увеличения
Название: Заполнение системы.png
Просмотров: 1987
Размер:	86.8 Кб
ID:	13678   Нажмите на изображение для увеличения
Название: Демонтаж разъема на гидроблоке.png
Просмотров: 1991
Размер:	72.5 Кб
ID:	13679   Нажмите на изображение для увеличения
Название: Демонтаж разъема на магистрали напорн..png
Просмотров: 2039
Размер:	50.6 Кб
ID:	13680  

Нажмите на изображение для увеличения
Название: Монтаж разъема на напорной магистр..png
Просмотров: 2079
Размер:	50.6 Кб
ID:	13681   Нажмите на изображение для увеличения
Название: Монтаж разъема на гидроблоке.png
Просмотров: 2007
Размер:	72.6 Кб
ID:	13682  
11.01.2017, 18:25   #2
kmc5
Автомобиль восстанавливается после дтп.
Гидроблок менялся по причине механического разрушения.
Всё сделали по инструкции. Залили масло.
Насос стал подавать признаки работы. Уровень масла упал. Долили.
Крышка багажника стала самостоятельно держаться в открытом положении.
Но при нажатии на кнопку закрывания она начинает очень быстро закрываться, а начиная с середины хода - практически падать.
При нажатии кнопок на открывание: на вод. двери, ключе или на крышке багажника насос никак не реагирует. При открытии вручную снова реагирует на кнопку закрывания.
Осталась не заменённой нижняя часть замка двери багажника - доводчик (имеет механические повреждения корпуса, но работает в снятом положении) При закрывании крышки не срабатывает. Причину пока не выясняли. Может ли это влиять на работу гидроблока?
Почему насос не получает команду на срабатывание при открывании?
11.01.2017, 19:12   #3
Владимир Маркин
Аватар для Владимир Маркин
Систему опрашивали на наличие неисправностей? Так можно долго искать причину.
11.01.2017, 19:44   #4
kmc5
К сожалению нечем опрашивать. 150км до ближайшего пивиса...

Добавлено через 4 минуты
При неисправном доводчике багажник будет открываться?
11.01.2017, 19:52   #5
Владимир Маркин
Аватар для Владимир Маркин
Сообщение от kmc5 Посмотреть сообщение
При неисправном доводчике багажник будет открываться?
Да...
12.01.2017, 18:20   #6
kmc5
Да, точно! Стал открываться!
На доводчике откололась пластмасска, на которую защёлкивается верхняя часть замка. Осталась только железка, которая на много тоньше, поэтому замок не защёлкивается во второе положение. Из-за этого концевик не даёт сигнал "дверь закрыта" А по инструкции дверь нужно было закрыть и открыть в автоматическом режиме. Она закрылась, но концевик этого не "увидел". Вручную защелкнули замок во второе положение (при этом сразу сработал доводчик) и опустили дверь вниз. После нажатия на открывание она стала открываться. И закрываться. Постоянно. Т.е после установки нового насоса дверь сначала должна была полноценно закрыться, а только потом открыться. Осталось поставить доводчик с целой пластмасской, чтобы правильно срабатывал концевик.
Ещё раз спасибо за инструкцию!
19.06.2017, 14:59   #7
SoulssS
Сообщение от kmc5 Посмотреть сообщение
К сожалению нечем опрашивать. 150км до ближайшего пивиса...
Мне больше ехать почти 500км, поэтому если можно посоветовать, что и как. У меня проблема немного другая. А именно, также бывает не реагирует ни на какие кнопки, только на кнопку в самой двери, открывая лишь замок, не поднимая двери. Сам доводчик работает на ура, то есть дверь прикрывает. Через время может снова начать открываться дверь, но чаще открывается до середины, а потом надо еще раз нажать на кнопку для полного открытия. Бывало что надо много раз понажимать на кнопку закрытия и она на миллиметр закрывалась, потом еще раз много раз понажимать и она закрывалась. Проскакивали такие варианты, что при использовании салонной кнопки в двери водителя, дверь багажника приоткрывалась и сразу же звучал писк, я так понимаю типа препятствие, а потом пару раз открывалась до середины и вновь больше не хотела никак открываться. Да еще при закрытии двери с кнопки, она доходила практически до 2/3 закрытия,а потом не плавно закрывалась а падала. (прям как на отечественном хэтчбэке).
В связи с этим вопрос 1 не уходит ли гидроблок в аварию, типа у него перегерев из-за несуществующего препятствия?
2. А возможно ли что амортизаторы задней двери уже не держат, или хуже стали работать, то есть создают доп препятствие при открытии двери, что в свою очередь опять роняет в аварию гидроблок?
Ну и 3 вопрос: может все дело в гидроблоке, но тогда надо искать ПИВИС?

В остальном открывали и смотрели давление вроде в норме, масло там есть на уровне.
19.06.2017, 17:11   #8
Владимир Маркин
Аватар для Владимир Маркин
Сообщение от SoulssS Посмотреть сообщение
Мне больше ехать почти 500км, поэтому если можно посоветовать, что и как. У меня проблема немного другая. А именно, также бывает не реагирует ни на какие кнопки, только на кнопку в самой двери, открывая лишь замок, не поднимая двери. Сам доводчик работает на ура, то есть дверь прикрывает. Через время может снова начать открываться дверь, но чаще открывается до середины, а потом надо еще раз нажать на кнопку для полного открытия. Бывало что надо много раз понажимать на кнопку закрытия и она на миллиметр закрывалась, потом еще раз много раз понажимать и она закрывалась. Проскакивали такие варианты, что при использовании салонной кнопки в двери водителя, дверь багажника приоткрывалась и сразу же звучал писк, я так понимаю типа препятствие, а потом пару раз открывалась до середины и вновь больше не хотела никак открываться. Да еще при закрытии двери с кнопки, она доходила практически до 2/3 закрытия,а потом не плавно закрывалась а падала. (прям как на отечественном хэтчбэке).
В связи с этим вопрос 1 не уходит ли гидроблок в аварию, типа у него перегерев из-за несуществующего препятствия?
2. А возможно ли что амортизаторы задней двери уже не держат, или хуже стали работать, то есть создают доп препятствие при открытии двери, что в свою очередь опять роняет в аварию гидроблок?
Ну и 3 вопрос: может все дело в гидроблоке, но тогда надо искать ПИВИС?

В остальном открывали и смотрели давление вроде в норме, масло там есть на уровне.
Автомобиль 957?
19.06.2017, 19:45   #9
SoulssS
Да, ошибки вылезли вот такие 3074 датчик наклона задней крышки, 3234 функциональное ограничение - критическое электропитание, 0532 электропитание. Диагностика не пивисом. Но нашёл много чего и почистил, а эти никак. Ещё и вылезло датчик чистоты воздуха вот. Что можете подсказать Владимир, куда копать.
19.06.2017, 21:18   #10
Владимир Маркин
Аватар для Владимир Маркин
Сообщение от SoulssS Посмотреть сообщение
3074 датчик наклона задней крышки
С этим нужно разбираться дальше

Метки
быть, дверь, есть, магистраль, масляный, показать, работа



Левый уголок Похожие темы Правый уголок
Тема Автор Раздел Ответов Последнее сообщение
[9PA1] Демонтаж и монтаж обшивки задней крышки Владимир Маркин Внешнее оснащение кузова 0 01.12.2016 20:05
[9PA1] Демонтаж и монтаж декоративной накладки задней крышки Владимир Маркин Внешнее оснащение кузова 0 01.12.2016 19:48
[9PA] Демонтаж и монтаж гидравлического насоса (Cayenne Turbo/Cayenne S) Владимир Маркин Ходовая и подвеска 0 04.04.2016 22:51
[92A] Демонтаж и монтаж кронштейна задней двери Владимир Маркин Кузов 0 10.11.2015 23:22
Демонтаж и монтаж гидравлического клапана регулировки фаз газораспределения 4.5 V8 Владимир Маркин Двигатель 1 09.01.2015 21:55



Powered by vBulletin® Version 3.8.7
Copyright ©2000 - 2025, vBulletin Solutions, Inc. Перевод: zCarot
Все права на материалы, находящиеся на сайте, охраняются в соответствии с законодательством РФ.
При любом использовании материалов сайта, письменное согласие обязательно.
Торговые марки, логотипы и марки услуг, размещенные на данном сайте, являются собственностью их владельцев.
CayService.ru не связан с Porsche AG или PCNA. ©2025 CayService.ru. Все права защищены.
Яндекс.Метрика