|
Световоды – шина MOST
Указания по работе со световодами
Разъемы не разрешается соединять или разъединять с помощью инструментов.
Световоды и разъемы не должны вступать в контакт с жидкостями, например водой, смазочными материалами, антифризом, а также антикоррозийными и моющими средствами. В противном случае происходит нарушение работоспособности MOST или полный выход системы из строя. Разъемы с надетыми защитными колпачками также не должны вступать в контакт с указанными жидкостями.
Если оптические контакты, разъемы или гнезда не соединены или не защищены колпачком, то они не должны подвергаться воздействию пыли и других твердых веществ (смазочных материалов).
Оптические контакты, разъемы или гнезда нельзя чистить.
Хранение, упаковка, транспортировка
Световоды не разрешается хранить вне помещения.
Световоды в процессе хранения следует защищать от воздействия прямого солнечного излучения.
Световоды в процессе хранения не должны подвергаться воздействию высокой влажности воздуха. Рекомендованные условия хранения: температура – в диапазоне от –20 °C до +40 °C, влажность воздуха – в диапазоне от 40 % до 60 %.
Световоды должны храниться в упаковке из картона или полимеров.
Не допускать воздействия на световоды сил, способных их повредить или деформировать.
Световоды разрешается хранить только с установленными защитными колпачками.
При хранении радиус изгиба световода не должен быть менее 300 мм.
Световод с поврежденными поверхностями необходимо заменить.
Монтаж световода в автомобиль
При установке световода в автомобиль запрещено превышать указанные далее предельные значения:
Максимально допустимое растягивающее усилие: 60 Н
Минимальный радиус изгиба после и в процессе установки в автомобиль: 25 мм
Максимальное количество скручиваний: 10 скручиваний на 1 м
Следующие пункты необходимо учитывать при установке световодов и жгутов проводов, содержащих световоды:
Запрещено устанавливать поврежденные световоды.
Перед установкой световода или жгута проводов со световодом в автомобиль необходимо проверить, установлены ли должным образом пылезащитные колпачки. Если это не так, то световод устанавливать запрещено.
После и в процессе установки световода в автомобиль радиус изгиба не должен быть меньше 25 мм.
В процессе установки световода при регулировке длины жгута проводов запрещено тянуть за световод (максимальное растягивающее усилие 60 Н), скручивать или сматывать световод.
После установки световода в автомобиль переплетенные световоды следует расправить.
Во время установки светодиода предотвращать прикладывание к нему поперечных усилий.
Ремонт
Неисправный световод необходимо заменить. Световоды не подлежат ремонту.
При замене световода оптические контакты должны быть удалены из разъемов.
Разъем – пылезащитные колпачки
Пылезащитный колпачок для оптических контактов:
При хранении, транспортировке или установке световода в автомобиль пылезащитный колпачок следует снимать только непосредственно перед подключением к разъему.
После каждой проверки световода пылезащитный колпачок необходимо устанавливать на место.
Пылезащитные колпачки можно снять, не нажимая на фиксатор.
Во время и после демонтажа пылезащитного колпачка не дотрагиваться до открытой контактной поверхности, в противном случае можно повредить или загрязнить оптический контакт.
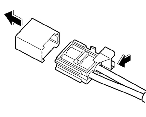
Пылезащитный колпачок разъема (со стороны жгута проводов):
Если устанавливается жгут проводов в сборе, то на разъемах световода расположены пылезащитные колпачки.
Нажав на фиксатор -стрелка-, можно снять пылезащитный колпачок.
После каждой проверки световода пылезащитный колпачок необходимо устанавливать на место.
Во время и после демонтажа пылезащитного колпачка не дотрагиваться до открытой контактной поверхности, в противном случае можно повредить или загрязнить оптический контакт.
Разъем блока управления (со стороны жгута проводов)
Световод поставляется с приклеенными пластиковыми контактами. Данные контакты в случае ремонта фиксируются в корпусе разъема. Используются серый и черный контакты с идентичными размерами.
Серые контакты используются в месте сопряжения: жгут проводов >> блок управления (оптический вход).
Черные контакты используются в точке сопряжения: блок управления >> жгут проводов.
Миниатюры:
|