Правила форума Clear

9PA1 производство 2007>>2010 (L) PORSCHE CAYENNE 957, ремонт 4.8, мотора единая тема - Страница 6

13.02.2019, 20:18   #51
Владимир Маркин
Аватар для Владимир Маркин
Сообщение от OlegZ Посмотреть сообщение
Добрый день, Владимир!
Добрый вечер!

Сообщение от OlegZ Посмотреть сообщение
Если в маркировке шеек коленвала присутствует одна буква "B", следовательно, на соответствующую шейку должен быть и вкладыш с синей маркировкой. Я правильно понял?
1 Коленчатый вал

2 Цилиндрический штифт 6 x 20

3 Пружина 5 х 6,5

4 Регулировочная шайба (канавки на внешнюю сторону)

5 Вкладыш коренного подшипника верх.

6 Вкладыш коренного подшипника низ.

7 Уплотнительное кольцо вала => Не прикасаться к кромке уплотнительного кольца!; Фланец коленвала очистить и слегка смазать

8 Обзор фланца коленвала

9 Классификация подшипников коленчатого вала (тройственная) G желтый; B синий, R красный; (пример: GGGGG-BBBB; 5 коренных подшипников с желтой маркировкой, 4 двойных (8) шатунных подшипника с синей маркировкой) => отсчет см. A

A Направление движения (коренной подшипник № 1 стоит первым по направлению движения)
Миниатюры:
Нажмите на изображение для увеличения
Название: Коленчатый вал.png
Просмотров: 210
Размер:	45.6 Кб
ID:	19812  
14.02.2019, 12:09   #52
OlegZ
Спасибо за ответ, Владимир! Это я понял. У меня обозначение шатунных шеек GBGG, а замер микрометром особой разницы по диаметру не выявил. Вот поэтому и задал вопрос.
04.01.2025, 23:06   #53
vach
Приветствую! Сделал гильзовку подскажите как выбрать прокладку гбц так как показывает несколько вариантов.

WP1ZZZ9PZ8LA43498
07.01.2025, 21:08   #54
Владимир Маркин
Аватар для Владимир Маркин
Сообщение от vach Посмотреть сообщение
Приветствую!
Добрый вечер!

Сообщение от vach Посмотреть сообщение
WP1ZZZ9PZ8LA43498
Cayenne S (9PAAH1)

Сообщение от vach Посмотреть сообщение
Сделал гильзовку подскажите как выбрать прокладку гбц так как показывает несколько вариантов.
94810417305 Прокладка ГБЦ Цилиндр 1-4
94810417405 Прокладка ГБЦ Цилиндр 5-8
15.01.2025, 22:13   #55
vach
Добрый вечер!
При разборке двигателя естественно все перепутали шатуны, какой какому цилиндру принадлежит.
Сейчас новые поршни подобраны.
Важно ли соблюдать соответствие шатуна цилиндру в котором он стоял или не важно.
Прошу уточнить что за цифры на шатунах на фото 7 и 8.
Миниатюры:
Нажмите на изображение для увеличения
Название: IMG_20250115_230753.jpg
Просмотров: 101
Размер:	183.6 Кб
ID:	84791  
19.01.2025, 15:11   #56
vach
Добрый день. Прошу пояснить:
Программу Poses с руководством по ремонту двигателя на каен до 2006, можно ли использовать при сборке 4.8 2007, в плане затяжек, моментов и т.д. или они отличаются и у 4.8 свои?
23.01.2025, 22:12   #57
Владимир Маркин
Аватар для Владимир Маркин
Сообщение от vach Посмотреть сообщение
Добрый вечер!
Добрый вечер!

Сообщение от vach Посмотреть сообщение
При разборке двигателя естественно все перепутали шатуны, какой какому цилиндру принадлежит.
Сейчас новые поршни подобраны.
Важно ли соблюдать соответствие шатуна цилиндру в котором он стоял или не важно.
Прошу уточнить что за цифры на шатунах на фото 7 и 8.
Старыми винтами от руки нужно было прикрутить крышку обратно к шатуну, промаркировать и разложить по порядку в соответствии с нумерацией цилиндров.

Шатуны изготовлены методом цельного литья и надлома, его маркировка указывает к стороне выпуска.

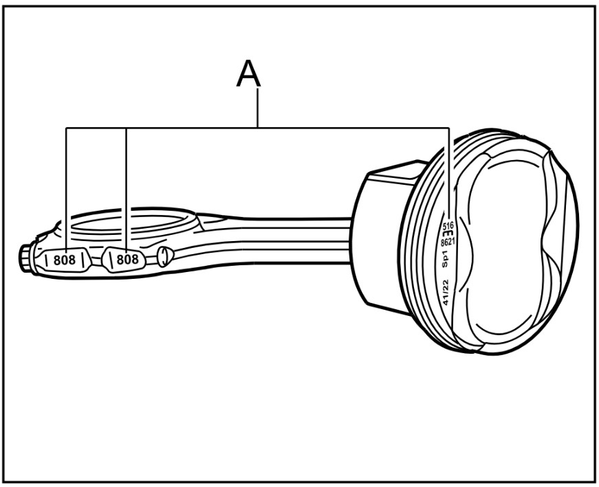
Монтаж шатуна, вкладыши подшипника

A Вид A (расположение маркировки на шатуне, установить шатун промаркированной поверхностью к стороне выпуска; маркировка на стержне шатуна и на крышке должны находиться на одной стороне)
B Вид B (установить вкладыши подшипника заподлицо и вдавить рукой)
C Вид C (установить вкладыши подшипника заподлицо и вдавить рукой)
Миниатюры:
Нажмите на изображение для увеличения
Название: Монтаж шатуна, вкладыши подшипника.jpg
Просмотров: 105
Размер:	49.4 Кб
ID:	85006   Нажмите на изображение для увеличения
Название: Место нанесения номера цилиндра.jpg
Просмотров: 97
Размер:	54.5 Кб
ID:	85008   Нажмите на изображение для увеличения
Название: Соответствие.jpg
Просмотров: 89
Размер:	67.1 Кб
ID:	85009  
23.01.2025, 22:18   #58
Владимир Маркин
Аватар для Владимир Маркин
Сообщение от vach Посмотреть сообщение
Программу Poses с руководством по ремонту двигателя на каен до 2006, можно ли использовать при сборке 4.8 2007, в плане затяжек, моментов и т.д. или они отличаются и у 4.8 свои?
Присутствуют отличия
08.02.2025, 01:53   #59
vach
Добрый вечер. Подскажите болты постели коленвала только новые ? Или можно старые поставить ?
08.02.2025, 11:48   #60
Владимир Маркин
Аватар для Владимир Маркин
Сообщение от vach Посмотреть сообщение
Добрый вечер.
Добрый день!

Сообщение от vach Посмотреть сообщение
Подскажите болты постели коленвала только новые ? Или можно старые поставить ?
Следующие винты подлежат замене после демонтажа или после отвинчивания:

Алюминиевые винты
винты, которые необходимо затягивать на угол;
винты, которые необходимо затягивать по методу, основанному на пределе текучести;
микроинкапсулированные винты;
поврежденные винты или винты, подвергшиеся сильному воздействию коррозии.

Метки
важно, винт, вкладыш, гильза, деть, добрый, затягивать, затяжка, коленвал, коренной, крышка, масло, момент, необходимый, подшипник, после, последовательность, прокладка, проход, стальной, стоять, угол, установить, цилиндр, шатун





Powered by vBulletin® Version 3.8.7
Copyright ©2000 - 2025, vBulletin Solutions, Inc. Перевод: zCarot
Все права на материалы, находящиеся на сайте, охраняются в соответствии с законодательством РФ.
При любом использовании материалов сайта, письменное согласие обязательно.
Торговые марки, логотипы и марки услуг, размещенные на данном сайте, являются собственностью их владельцев.
CayService.ru не связан с Porsche AG или PCNA. ©2025 CayService.ru. Все права защищены.
Яндекс.Метрика