Правила форума Clear

9PA1 производство 2007>>2010 (L) PORSCHE CAYENNE 957, ремонт 4.8, мотора единая тема

24.02.2014, 18:25   #1
коляныч
Здравствуйте. не подскажете как ставятся шатуны на 4.8 в какую сторону треугольным выступом? А то мотор разбирался больше полугода назад всё забыл.
24.02.2014, 20:13   #2
Владимир Маркин
Аватар для Владимир Маркин
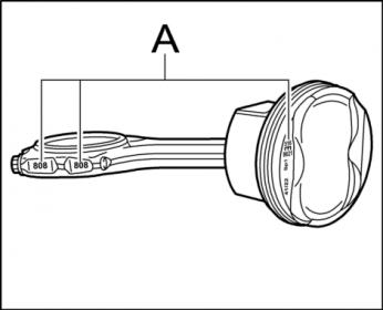
установить шатун промаркированной поверхностью к стороне выпуска; маркировка на стержне шатуна и на крышке должны находиться на одной стороне
информация

Следует следить за совместимостью нижней головки шатуна и крышки, так как шатуны, изготовленные методом цельного литья и надлома совместимы с ними лишь в одном определенном положении.
Фиксаторы вкладышей шатунных подшипников всегда находятся с одной стороны для того, чтобы предотвратить прокручивание вкладышей подшипников.
У крышки шатуна и нижней головки шатуна одинаковые номера.
Шатуны изготовлены методом цельного литья и надлома, его маркировка указывает к стороне выпуска.
Полость камеры сгорания поршня указывает к форсунке.
Маркировки на нижней головке шатуна и на крышке шатуна обязательно должны быть на одной и той же стороне
Стрелка направления движения у изображенного на рис. поршне расположена на одной стороне с маркировкой шатуна -A- . При установке номер на шатуне -A- должен находиться со стороны выпуска.
Миниатюры:
Нажмите на изображение для увеличения
Название: 13100074.jpg
Просмотров: 1014
Размер:	12.5 Кб
ID:	8754  
25.02.2014, 09:31   #3
коляныч
Огромное спасибо за информацию. Если возникнут вопросы в дальнейшей сборке можно будет к Вам обратиться?
25.02.2014, 10:59   #4
Владимир Маркин
Аватар для Владимир Маркин
Сообщение от коляныч Посмотреть сообщение
Если возникнут вопросы в дальнейшей сборке можно будет к Вам обратиться?
конечно можно, форум собственно говоря и создан для технической информации автомобилей PORSCHE....
27.02.2014, 14:29   #5
Кот Вася
Аватар для Кот Вася
рисунок только не поршня 4,8 ))) но это мелочи

Добавлено через 1 минуту
раз речь зашла о двигатели 4,8 то какая цена за выставления фаз (меток ГРМ) Владимир?
27.02.2014, 14:47   #6
Владимир Маркин
Аватар для Владимир Маркин
Сообщение от Кот Вася Посмотреть сообщение
раз речь зашла о двигатели 4,8 то какая цена за выставления фаз (меток ГРМ) Владимир?
какие метки цепи ГРМ (в градусах)?
27.02.2014, 20:21   #7
Кот Вася
Аватар для Кот Вася
да именно про это спрашиваю
27.02.2014, 20:38   #8
Владимир Маркин
Аватар для Владимир Маркин
я понял Кот Вяся, что речь идет про стоимость работ, теперь повторяю снова свой вопрос: какие метки цепи ГРМ (отклонение распредвалов) на данный момент? От растяжения цепи ГРМ будет понимание о целесообразности регулировки цепи ГРМ, может речь будет идти уже о замене цепи.
28.02.2014, 11:04   #9
Кот Вася
Аватар для Кот Вася
По первому -6гр
По второму-8гр
28.02.2014, 11:30   #10
Владимир Маркин
Аватар для Владимир Маркин
результат 50/50
возможно и не получиться уйти за 7%, цепь значительно растянута...
стоимость 26000 руб.

Метки
важно, винт, вкладыш, гильза, деть, добрый, затягивать, затяжка, коленвал, коренной, крышка, масло, момент, необходимый, подшипник, после, последовательность, прокладка, проход, стальной, стоять, угол, установить, цилиндр, шатун





Powered by vBulletin® Version 3.8.7
Copyright ©2000 - 2025, vBulletin Solutions, Inc. Перевод: zCarot
Все права на материалы, находящиеся на сайте, охраняются в соответствии с законодательством РФ.
При любом использовании материалов сайта, письменное согласие обязательно.
Торговые марки, логотипы и марки услуг, размещенные на данном сайте, являются собственностью их владельцев.
CayService.ru не связан с Porsche AG или PCNA. ©2025 CayService.ru. Все права защищены.
Яндекс.Метрика