| 
			
			Предварительные работы по снятию поршней1. Снять поршни
 
 Разбор поршня
 
 Идентификация поршня
 Маркировка на днище поршня:  Службой запчастей Porsche поставляются только новые поршни размерной группы 'X' и в двух массовых группах '+' и '-'. Массовые группы перечислены в таблице.
 
 Метка X - большая цветная печать в центре днища поршня, маленькая - в виде выгравированного знака -1- .
 Метка + или — в виде большой цветной печати в центре днища поршня, маленькая - выгравированный знак -2- .
 
 информация
 Поршни серийно изготавливаются в трех размерных группах: I , X и II.
 
 Поршни серийно изготавливаются в двух массовых группах: + и — .
 
 Все эти данные выгравированы на днище поршня. Для четкой идентификации поршня его следует тщательно отчистить (латунная щетка, ультразвуковая установка). Если данные, несмотря на тщательную очистку, по-прежнему не видны, то необходимо взвесить поршень вместе с поршневыми кольцами, поршневым пальцем и двумя стопорными кольцами. Также и перед взвешиванием необходимо обязательно выполнить тщательную очистку (ультразвуковая установка), в противном случае искажается результат измерения.
 
 1. При ремонте снятый поршень следует очистить и идентифицировать. При необходимости его замены следует заказать и установить поршень группы X с идентифицированной массовой группой + или —.
 
 Массовая группа — 546,6 — 540,6
 Массовая группа +  546,6 — 552,6
 
 Разборка поршня
 
 информация
 При повторном использовании поршня не следует удалять остатки продуктов сгорания на днище поршня механическим способом!
 
 информация
 При разборке поршней и шатунов записать или пометить водостойким фломастером положение, принадлежность к цилиндру и монтажное положение.
 
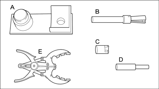
 1. Поршень на крепежном приспособлении  зафиксировать.
 2. С помощью маленькой отвертки снять оба стопорных кольца поршневого пальца. Для этого провести отвертку через маленький паз и осторожно извлечь стопорное кольцо поршневого пальца
 3. Вставить поршень в крепежное приспособление  (оставить внизу место для поршневого пальца) и поршневой палец с помощью штампа  выпрессовать
 4. Извлечь шатун из поршня и отложить в сторону.
 
 Уведомление
 Неправильное обращение с поршневыми кольцами
 Деформация или повреждение поршневых колец
 Разжимать поршневое кольцо щипцами для поршневых колец ровно настолько, чтобы его можно было снять или установить.
 Устанавливать поршни, не прилагая чрезмерных усилий.
 
 5. Снять поршневые кольца. Поставить поршень на чистую поверхность и провести поиск стыков поршневых колец.
 
 информация
 Уплотнительные и маслосъемные кольца демонтируются и монтируются по-разному.
 
 6. Снять поршневые кольца, начиная с днища поршня. Для этого середину щипцов для установки поршневых колец гр. 1  вставить в стык соответствующего кольца. Натяжные рычаги щипцов должны охватывать поршневое кольцо сверху. Открыть поршневое кольцо настолько, чтобы его можно было извлечь из паза. Не перетягивать!
 7. Ослабить щипцы и извлечь из них поршневое кольцо.
 8. Трехсекционное маслосъемное кольцо снимать следующим образом: Сначала снять с поршня вручную верхнее и нижнее кольцо, осторожно растянув их. Затем аналогично осторожно снять маслосъемное пружинное кольцо.
 
 Сборка поршня
 1. Сначала установить трехсоставное маслосъемное кольцо. Для этого пружинный расширитель маслосъемного кольца в месте ее замка осторожно от руки растянуть настолько, чтобы его можно было через поршень вставить в кольцевую канавку 3. Диск маслосъемного кольца также от руки осторожно разжать и установить в третью кольцевую канавку поршня под пружинным расширителем маслосъемного кольца. Второй диск устанавливается аналогично над пружинным расширителем маслосъемного кольца.
 2. Замок маслосъемного кольца должен устанавливаться точно на 180° относительно замка пружинного расширителя. Следить, чтобы пружинный расширитель был расположен в середине маслосъемного кольца.
 
 информация
 Оба компрессионных кольца имеют разную толщину, и каждое из них можно установить только в соответствующий паз.
 Поршневое кольцо с маркировкой TOP должно устанавливаться маркировкой к днищу поршня.
 
 3. Вставить поршневое кольцо в щипцы для установки поршневых колец. При этом следить, чтобы маркировка поршневых колец при монтаже была направлена в сторону днища поршня -A- . Поршневое кольцо разжать настолько, пока оно не будет проходить через поршень.
 4. Установить поршневые кольца. Центральное поршневое кольцо установить с помощью щипцов во вторую кольцевую канавку так, чтобы маркировка TOP была направлена в сторону днища поршня. Верхнее поршневое кольцо установить кольцевую канавку 1 так, чтобы маркировка TOP была направлена в сторону днища поршня.
 5. Проверить положение и посадку поршневых колец. При этом следить, чтобы пружинный расширитель был расположен внутри маслосъемного кольца. У поршневого кольца, расположенного в канавке 2, маркировка TOP должна указывать к днищу поршня. Самое верхнее поршневое кольцо должно устанавливаться таким образом, чтобы маркировка TOP указывала к днищу поршня. Замки отдельных поршневых колец должны быть всегда смещены на 120° друг относительно друга.
 6. Стопорное кольцо поршневого пальца предварительно установить в монтажную втулку. Для этого кольцо вставить в монтажную втулку  таким образом, чтобы замок кольца был расположен на 6 часов или на 11 часов (днище поршня вверху), монтажный паз монтажной гильзы направлен к днищу поршня
 7. Монтажную втулку расположить на ровной поверхности монтажным пазом вниз и с помощью монтажного приспособления  стопорное кольцо сдвинуть в монтажное положение, так чтобы стопорное кольцо с предварительным натягом встало в правильное положение -стрелка- .
 8. Проверить монтажное положение стопорного кольца поршневого пальца в монтажной втулке → Замок кольца в положении на 6 часов .
 9. Монтажную втулку наложить на поршень таким образом, чтобы монтажный паз монтажной втулки был направлен к днищу поршня
 10. Вставить нажимной пуансон  через монтажную втулку и ударом молотка установить стопорное кольцо поршневого пальца в паз бобышки отверстия для поршневого пальца.
 11. Поршень с установленным стопорным кольцом поршневого пальца вниз на стопорном устройстве  зафиксировать
 12. Замок стопорного кольца должен быть направлен вниз от днища поршня (аналогично на 6 часов или на 11 часов). Привести поршневой палец и шатун в монтажное положение. Шатун расположить таким образом, чтобы номер пары на нем указывал к стороне выпуска -A- . На рис. показано стрелкой направление движения и маркировка шатуна на одной стороне
 13. Смазанный поршневой палец установить через отверстия в поршне и шатуне до стопорного кольца. Легкими ударами пластмассового молотка по нажимному пуансону  вогнать поршневой палец до предварительно установленного стопорного кольца поршневого пальца -стрелка- .
 14. Второе стопорное кольцо поршневого пальца установить аналогично первому. Замок стопорного кольца установить так, чтобы он был направлен вниз от днища поршня (аналогично на 6 часов или на 11 часов) -стрелка- .
 15. Проверить легкость хода шатуна и поршня
 
 информация
 Шатуны изготовлены методом цельного литья и надлома и имеют попарную нумерацию для правильной установки!
 Болты крепления крышки шатуна и вкладыши подшипников необходимо заменить.
 Маркировка шатунных подшипников находится на шатунной шейке коленвала
 
 16. Установить вкладыши шатунного подшипника в нижней кривошипной головке и в крышке шатуна. Стопорные носки должны располагаться в соответствующих пазах и на одной стороне -B и C- . Номера пар -A- должны быть одинаковые и находиться на одной и той же стороне (В сборе они направлены к стороне выпуска). Болты крышки шатуна закрутить от руки и шатун в сборе отложить в сторону – он готов к последующему монтажу.
 
 Дополнительные работы: монтаж поршня
 1. Установить поршень
 Миниатюры:           
 
           
 
           
 
           
 
   |