Правила форума Clear

9PA производство 2003>>2006 (L) Разборка и сборка поршня

25.03.2017, 20:15   #1
Владимир Маркин
Аватар для Владимир Маркин
Предварительные работы по снятию поршней
1. Снять поршни

Разбор поршня

Идентификация поршня
Маркировка на днище поршня: Службой запчастей Porsche поставляются только новые поршни размерной группы 'X' и в двух массовых группах '+' и '-'. Массовые группы перечислены в таблице.

Метка X - большая цветная печать в центре днища поршня, маленькая - в виде выгравированного знака -1- .
Метка + или — в виде большой цветной печати в центре днища поршня, маленькая - выгравированный знак -2- .

информация
Поршни серийно изготавливаются в трех размерных группах: I , X и II.

Поршни серийно изготавливаются в двух массовых группах: + и — .

Все эти данные выгравированы на днище поршня. Для четкой идентификации поршня его следует тщательно отчистить (латунная щетка, ультразвуковая установка). Если данные, несмотря на тщательную очистку, по-прежнему не видны, то необходимо взвесить поршень вместе с поршневыми кольцами, поршневым пальцем и двумя стопорными кольцами. Также и перед взвешиванием необходимо обязательно выполнить тщательную очистку (ультразвуковая установка), в противном случае искажается результат измерения.

1. При ремонте снятый поршень следует очистить и идентифицировать. При необходимости его замены следует заказать и установить поршень группы X с идентифицированной массовой группой + или —.

Массовая группа — 546,6 — 540,6
Массовая группа + 546,6 — 552,6

Разборка поршня

информация
При повторном использовании поршня не следует удалять остатки продуктов сгорания на днище поршня механическим способом!

информация
При разборке поршней и шатунов записать или пометить водостойким фломастером положение, принадлежность к цилиндру и монтажное положение.

1. Поршень на крепежном приспособлении зафиксировать.
2. С помощью маленькой отвертки снять оба стопорных кольца поршневого пальца. Для этого провести отвертку через маленький паз и осторожно извлечь стопорное кольцо поршневого пальца
3. Вставить поршень в крепежное приспособление (оставить внизу место для поршневого пальца) и поршневой палец с помощью штампа выпрессовать
4. Извлечь шатун из поршня и отложить в сторону.

Уведомление
Неправильное обращение с поршневыми кольцами
Деформация или повреждение поршневых колец
Разжимать поршневое кольцо щипцами для поршневых колец ровно настолько, чтобы его можно было снять или установить.
Устанавливать поршни, не прилагая чрезмерных усилий.

5. Снять поршневые кольца. Поставить поршень на чистую поверхность и провести поиск стыков поршневых колец.

информация
Уплотнительные и маслосъемные кольца демонтируются и монтируются по-разному.

6. Снять поршневые кольца, начиная с днища поршня. Для этого середину щипцов для установки поршневых колец гр. 1 вставить в стык соответствующего кольца. Натяжные рычаги щипцов должны охватывать поршневое кольцо сверху. Открыть поршневое кольцо настолько, чтобы его можно было извлечь из паза. Не перетягивать!
7. Ослабить щипцы и извлечь из них поршневое кольцо.
8. Трехсекционное маслосъемное кольцо снимать следующим образом: Сначала снять с поршня вручную верхнее и нижнее кольцо, осторожно растянув их. Затем аналогично осторожно снять маслосъемное пружинное кольцо.

Сборка поршня
1. Сначала установить трехсоставное маслосъемное кольцо. Для этого пружинный расширитель маслосъемного кольца в месте ее замка осторожно от руки растянуть настолько, чтобы его можно было через поршень вставить в кольцевую канавку 3. Диск маслосъемного кольца также от руки осторожно разжать и установить в третью кольцевую канавку поршня под пружинным расширителем маслосъемного кольца. Второй диск устанавливается аналогично над пружинным расширителем маслосъемного кольца.
2. Замок маслосъемного кольца должен устанавливаться точно на 180° относительно замка пружинного расширителя. Следить, чтобы пружинный расширитель был расположен в середине маслосъемного кольца.

информация
Оба компрессионных кольца имеют разную толщину, и каждое из них можно установить только в соответствующий паз.
Поршневое кольцо с маркировкой TOP должно устанавливаться маркировкой к днищу поршня.

3. Вставить поршневое кольцо в щипцы для установки поршневых колец. При этом следить, чтобы маркировка поршневых колец при монтаже была направлена в сторону днища поршня -A- . Поршневое кольцо разжать настолько, пока оно не будет проходить через поршень.
4. Установить поршневые кольца. Центральное поршневое кольцо установить с помощью щипцов во вторую кольцевую канавку так, чтобы маркировка TOP была направлена в сторону днища поршня. Верхнее поршневое кольцо установить кольцевую канавку 1 так, чтобы маркировка TOP была направлена в сторону днища поршня.
5. Проверить положение и посадку поршневых колец. При этом следить, чтобы пружинный расширитель был расположен внутри маслосъемного кольца. У поршневого кольца, расположенного в канавке 2, маркировка TOP должна указывать к днищу поршня. Самое верхнее поршневое кольцо должно устанавливаться таким образом, чтобы маркировка TOP указывала к днищу поршня. Замки отдельных поршневых колец должны быть всегда смещены на 120° друг относительно друга.
6. Стопорное кольцо поршневого пальца предварительно установить в монтажную втулку. Для этого кольцо вставить в монтажную втулку таким образом, чтобы замок кольца был расположен на 6 часов или на 11 часов (днище поршня вверху), монтажный паз монтажной гильзы направлен к днищу поршня
7. Монтажную втулку расположить на ровной поверхности монтажным пазом вниз и с помощью монтажного приспособления стопорное кольцо сдвинуть в монтажное положение, так чтобы стопорное кольцо с предварительным натягом встало в правильное положение -стрелка- .
8. Проверить монтажное положение стопорного кольца поршневого пальца в монтажной втулке → Замок кольца в положении на 6 часов .
9. Монтажную втулку наложить на поршень таким образом, чтобы монтажный паз монтажной втулки был направлен к днищу поршня
10. Вставить нажимной пуансон через монтажную втулку и ударом молотка установить стопорное кольцо поршневого пальца в паз бобышки отверстия для поршневого пальца.
11. Поршень с установленным стопорным кольцом поршневого пальца вниз на стопорном устройстве зафиксировать
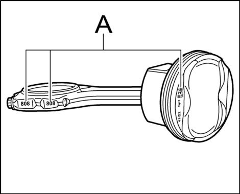
12. Замок стопорного кольца должен быть направлен вниз от днища поршня (аналогично на 6 часов или на 11 часов). Привести поршневой палец и шатун в монтажное положение. Шатун расположить таким образом, чтобы номер пары на нем указывал к стороне выпуска -A- . На рис. показано стрелкой направление движения и маркировка шатуна на одной стороне
13. Смазанный поршневой палец установить через отверстия в поршне и шатуне до стопорного кольца. Легкими ударами пластмассового молотка по нажимному пуансону вогнать поршневой палец до предварительно установленного стопорного кольца поршневого пальца -стрелка- .
14. Второе стопорное кольцо поршневого пальца установить аналогично первому. Замок стопорного кольца установить так, чтобы он был направлен вниз от днища поршня (аналогично на 6 часов или на 11 часов) -стрелка- .
15. Проверить легкость хода шатуна и поршня

информация
Шатуны изготовлены методом цельного литья и надлома и имеют попарную нумерацию для правильной установки!
Болты крепления крышки шатуна и вкладыши подшипников необходимо заменить.
Маркировка шатунных подшипников находится на шатунной шейке коленвала

16. Установить вкладыши шатунного подшипника в нижней кривошипной головке и в крышке шатуна. Стопорные носки должны располагаться в соответствующих пазах и на одной стороне -B и C- . Номера пар -A- должны быть одинаковые и находиться на одной и той же стороне (В сборе они направлены к стороне выпуска). Болты крышки шатуна закрутить от руки и шатун в сборе отложить в сторону – он готов к последующему монтажу.

Дополнительные работы: монтаж поршня
1. Установить поршень
Миниатюры:
Нажмите на изображение для увеличения
Название: 9500-3.gif
Просмотров: 419
Размер:	3.2 Кб
ID:	13973   Нажмите на изображение для увеличения
Название: 9500-8.gif
Просмотров: 441
Размер:	2.6 Кб
ID:	13974   Нажмите на изображение для увеличения
Название: 9500-9.gif
Просмотров: 415
Размер:	3.2 Кб
ID:	13975   Нажмите на изображение для увеличения
Название: 9597.gif
Просмотров: 419
Размер:	3.4 Кб
ID:	13976   Нажмите на изображение для увеличения
Название: NR.58.gif
Просмотров: 432
Размер:	8.2 Кб
ID:	13977  

Нажмите на изображение для увеличения
Название: 13100075.gif
Просмотров: 434
Размер:	9.5 Кб
ID:	13978   Нажмите на изображение для увеличения
Название: 13400022.gif
Просмотров: 397
Размер:	8.3 Кб
ID:	13979   Нажмите на изображение для увеличения
Название: 13101011.gif
Просмотров: 422
Размер:	20.8 Кб
ID:	13980   Нажмите на изображение для увеличения
Название: 13100076.gif
Просмотров: 388
Размер:	14.5 Кб
ID:	13981   Нажмите на изображение для увеличения
Название: 13100077.gif
Просмотров: 422
Размер:	20.0 Кб
ID:	13982  

Нажмите на изображение для увеличения
Название: 13100080.gif
Просмотров: 501
Размер:	12.3 Кб
ID:	13983   Нажмите на изображение для увеличения
Название: 13100079.gif
Просмотров: 470
Размер:	23.3 Кб
ID:	13984   Нажмите на изображение для увеличения
Название: 13100078.gif
Просмотров: 398
Размер:	10.7 Кб
ID:	13985   Нажмите на изображение для увеличения
Название: 13100082.gif
Просмотров: 462
Размер:	8.8 Кб
ID:	13986   Нажмите на изображение для увеличения
Название: 13100083.gif
Просмотров: 441
Размер:	7.3 Кб
ID:	13987  

Нажмите на изображение для увеличения
Название: 13100084.gif
Просмотров: 492
Размер:	11.0 Кб
ID:	13988   Нажмите на изображение для увеличения
Название: 13100085.gif
Просмотров: 426
Размер:	19.2 Кб
ID:	13989   Нажмите на изображение для увеличения
Название: 13100074.gif
Просмотров: 459
Размер:	11.9 Кб
ID:	13990   Нажмите на изображение для увеличения
Название: 13100088.gif
Просмотров: 379
Размер:	19.3 Кб
ID:	13991   Нажмите на изображение для увеличения
Название: 19400024.gif
Просмотров: 455
Размер:	9.1 Кб
ID:	13992  

Нажмите на изображение для увеличения
Название: 19400023.gif
Просмотров: 516
Размер:	9.6 Кб
ID:	13993  
13.01.2021, 19:27   #2
Игорь+
коленвал можно точить? 025не просадит цементацию?
13.01.2021, 20:18   #3
Владимир Маркин
Аватар для Владимир Маркин
Сообщение от Игорь+ Посмотреть сообщение
коленвал можно точить?
Не рекомендуется
29.01.2021, 22:37   #4
Игорь+
Крыжка шатуна затягивается в 4 приема с доворотом, повторно можно использовать болты?
Есть ли советы по втулкам шатуна? Пальцы люфтят, думал с дизельного мотора запресовать и плотно подогнать под палец. Из моего сображения латунь слабовата для таких нагрузок а в дизельках втулка будет покрепче
30.01.2021, 21:23   #5
Владимир Маркин
Аватар для Владимир Маркин
Сообщение от Игорь+ Посмотреть сообщение
Крыжка шатуна затягивается в 4 приема с доворотом, повторно можно использовать болты?
Винты шатунов M9 x 56 заменить
слегка смазать; затянуть в соответствии с предписанием по затяжке

Повернуть блок цилиндров на монтажном стенде, чтобы коленвал был расположен сверху.

Затянуть новые шатунные винты. Прокручивать коленвал до тех пор, пока соответствующая шейка кривошипа не будет направлена вертикально вниз. Закрутить ключом-звездочкой,
предварительная затяжка 1 8 Nm,
предварительная затяжка 2 20 Nm,
предварительная затяжка 3 40 Nm,
с углом затяжки (окончательная затяжка) 90 °.

После того, как все поршни корректно установлены и закреплены, вращать коленчатый вал кольцевым ключом SW 27 по часовой стрелке. При этом следует обращать внимание на тяжелый ход и неравномерности. Если коленчатый вал будет вращаться с трудом или вообще не будет вращаться и т.д. - проверить, верно ли направление поршней (стрелка), подходят ли поршни к цилиндрам (маркировки) или винты крепления крышки шатуна к основанию шатуна.
28.08.2021, 16:46   #6
Сева955
Аватар для Сева955
Здравствуйте Владимир! Извините, что пишу здесь. Подходящей темы поиск не нашел, новый создавать не имеет смысла.
Мне нужны поршневые кольца. Есть выбор на ЕМЕХ, но боюсь купить что то не то, так как VIN не узнает сайт.
Не подскажете номер колец (аналог) Кайен 3.2 V6 2006?
WP1ZZZ9PZ6LA00930. Спасибо!
28.08.2021, 17:37   #7
Владимир Маркин
Аватар для Владимир Маркин
Сообщение от Сева955 Посмотреть сообщение
Здравствуйте Владимир!
Добрый день

Сообщение от Сева955 Посмотреть сообщение
WP1ZZZ9PZ6LA00930
Cayenne Tiptronic (9PAAD1)

Сообщение от Сева955 Посмотреть сообщение
Не подскажете номер колец (аналог) Кайен 3.2 V6 2006?
аналогами не занимаемся

95510392501 комплект поршневых колец на один поршень
Миниатюры:
Нажмите на изображение для увеличения
Название: 1.jpg
Просмотров: 397
Размер:	58.9 Кб
ID:	47099  
01.10.2021, 18:26   #8
Tam
@Владимир Маркин, добрый день, посоветуйте магазин запчастей для m48.00; вкладыши нужны и полукольца в номинале
02.10.2021, 13:35   #9
Владимир Маркин
Аватар для Владимир Маркин
Сообщение от Tam Посмотреть сообщение
добрый день
Добрый день

Сообщение от Tam Посмотреть сообщение
посоветуйте магазин запчастей для m48.00; вкладыши нужны и полукольца в номинале
Любой сервисный центр Porsche сможет помочь с этим вопросом

Метки
втулка, затяжка, палец, поршень, разборка



Левый уголок Похожие темы Правый уголок
Тема Автор Раздел Ответов Последнее сообщение
[92A] Снятие ручек на консоли (разборка консоли) 958 NiTr0 Оснащение кузова - интерьер 11 24.02.2025 06:28
[9PA] Поршня HUM Двигатель 5 25.09.2017 12:42
[9PA] Сборка двигателя 4,5 TURBO megalarm Двигатель 33 01.03.2017 19:00
[9PA] Поршня на 4.5 саид Двигатель 3 22.05.2016 13:33
[9PA1] Выбор поршня Artemgrini Двигатель 1 16.04.2015 14:19



Powered by vBulletin® Version 3.8.7
Copyright ©2000 - 2025, vBulletin Solutions, Inc. Перевод: zCarot
Все права на материалы, находящиеся на сайте, охраняются в соответствии с законодательством РФ.
При любом использовании материалов сайта, письменное согласие обязательно.
Торговые марки, логотипы и марки услуг, размещенные на данном сайте, являются собственностью их владельцев.
CayService.ru не связан с Porsche AG или PCNA. ©2025 CayService.ru. Все права защищены.
Яндекс.Метрика