Правила форума Clear

9PA производство 2003>>2006 (L) Демонтаж и монтаж крепежной рамы передней двери

09.08.2020, 18:04   #1
Владимир Маркин
Аватар для Владимир Маркин
Предварительные работы

1 Снять ручку двери

2 Снять пер. обшивку двери

3 Снять зеркало задн. вида

Демонтаж крепежной рамы передней двери

Информация
Для снятия крепежной рамы передней двери поднять боковое стекло, чтобы обеспечить лучший доступ к проводке двери.

1 Снять накладку заднего монтажного отверстия, снять крепление замка и кабельного жгута Kessy – Для всех автомобилей:

Извлечь из защелок накладки верхних и нижних монтажных отверстий -1- и -2-.

2 Дополнительно для автомобилей с блоком управления Kessy:

Разблокировать разъем -стрелка A- и отсоединить его -стрелка B-.

Выдавить резиновую втулку наружу -C- и извлечь кабель наружу через отверстие.

3 Снять накладки монтажных отверстий спереди и рассоединить электрический разъем.

Извлечь из защелок накладки верхних и нижних монтажных отверстий -4- и -5-.

Снять резиновую втулку -7- между дверью и стойкой А.

Разблокировать и рассоединить электрические разъемы -6-.

4 Снять крепежную раму двери

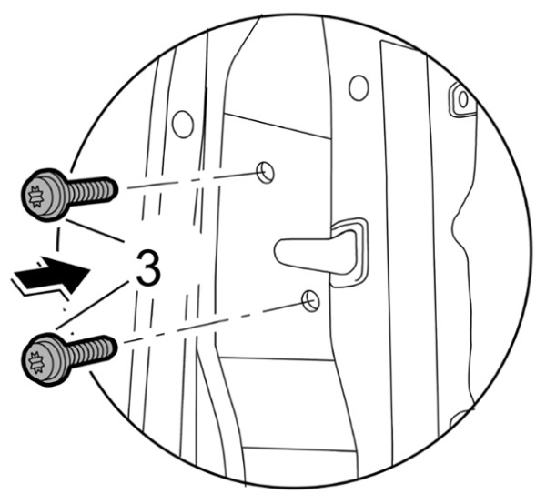
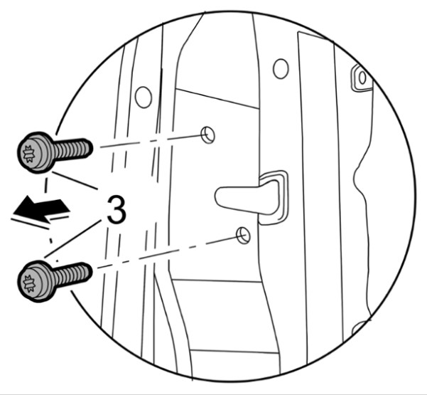
Вывернуть крепежные винты рамы двери-8, 9- и -11-.

Вдавить резиновую втулку жгута проводов -10- вовнутрь и извлечь жгут проводов -10- через отверстие в двери вместе с рамой двери.

5 Демонтаж крепежной рамы двери

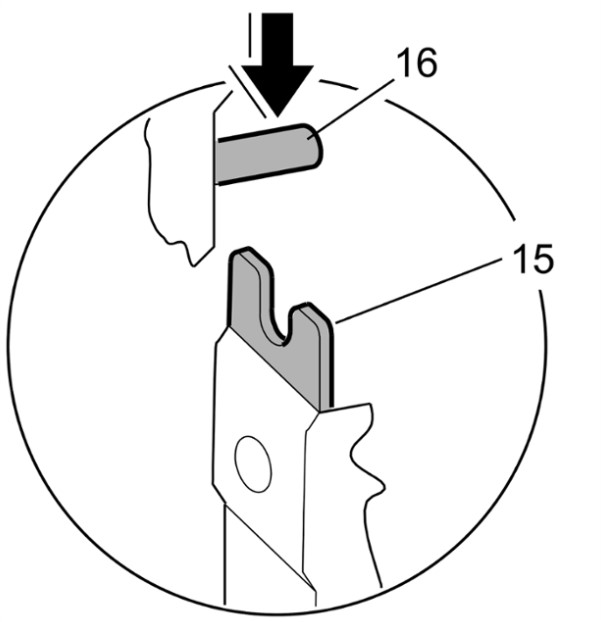
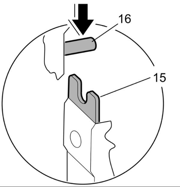
Равномерно приподнимать раму двери -12- спереди и сзади, пока направляющие пальцы -13- и -16- полностью не выйдут из опорных вилок -14- и -15-.

Снять крепежную раму двери с каркаса двери -17-.
Миниатюры:
Нажмите на изображение для увеличения
Название: 1.jpg
Просмотров: 865
Размер:	46.5 Кб
ID:	33512   Нажмите на изображение для увеличения
Название: 2.jpg
Просмотров: 864
Размер:	76.1 Кб
ID:	33513   Нажмите на изображение для увеличения
Название: 3.jpg
Просмотров: 835
Размер:	44.2 Кб
ID:	33514   Нажмите на изображение для увеличения
Название: 4.jpg
Просмотров: 846
Размер:	62.8 Кб
ID:	33515   Нажмите на изображение для увеличения
Название: 5.jpg
Просмотров: 852
Размер:	63.9 Кб
ID:	33516  

Нажмите на изображение для увеличения
Название: 6.jpg
Просмотров: 840
Размер:	41.7 Кб
ID:	33517   Нажмите на изображение для увеличения
Название: 7.jpg
Просмотров: 848
Размер:	69.3 Кб
ID:	33518   Нажмите на изображение для увеличения
Название: 8.jpg
Просмотров: 854
Размер:	59.1 Кб
ID:	33519   Нажмите на изображение для увеличения
Название: 9.jpg
Просмотров: 866
Размер:	60.5 Кб
ID:	33520   Нажмите на изображение для увеличения
Название: 10.jpg
Просмотров: 844
Размер:	78.4 Кб
ID:	33521  

Нажмите на изображение для увеличения
Название: 11.jpg
Просмотров: 880
Размер:	70.5 Кб
ID:	33522   Нажмите на изображение для увеличения
Название: 12.jpg
Просмотров: 882
Размер:	71.7 Кб
ID:	33523   Нажмите на изображение для увеличения
Название: 13.jpg
Просмотров: 880
Размер:	65.3 Кб
ID:	33524   Нажмите на изображение для увеличения
Название: 14.jpg
Просмотров: 877
Размер:	36.4 Кб
ID:	33525   Нажмите на изображение для увеличения
Название: 15.jpg
Просмотров: 871
Размер:	35.2 Кб
ID:	33526  

Нажмите на изображение для увеличения
Название: 16.jpg
Просмотров: 917
Размер:	66.7 Кб
ID:	33527  
09.08.2020, 18:17   #2
Владимир Маркин
Аватар для Владимир Маркин
Монтаж крепежной рамы передней двери

1 Переустановить регулируемые крепежные элементы в базовое положение

Три регулируемых крепежных элемента на крепежной раме двери (-стрелка A, B, C- ) установить в базовое положение. Резьбовой элемент -19- полностью вкрутить в базовый элемент -18- .

Информация
Крепежные элементы имеют левую резьбу.

2 Открыть каркас двери

3 Навесить крепежную раму двери на каркас двери

Установить крепежную раму двери -12- на каркас двери -17- .

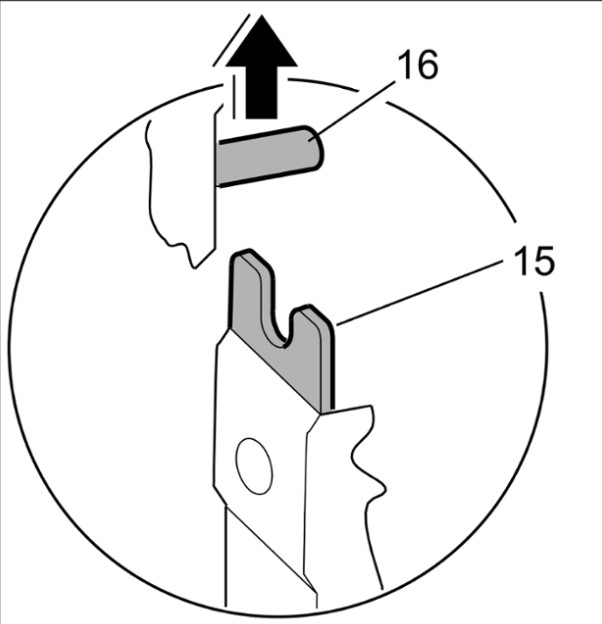
Вставить направляющие пальцы -13- и -16- в опорные вилки -14- и -15- .

4 Зафиксировать крепежную раму двери на каркасе двери, подсоединить электрический разъем и закрепить замок

Зафиксировать крепежную раму двери на каркасе двери путем вкручивания крепежных винтов -9, 11- . При этом нажать крепежную раму двери кверху и слегка затянуть крепежные винты.

Продеть жгут проводки -10- изнутри через крепежную раму двери и дверной проем и вставить резиновую втулку жгута проводки -10- изнутри в дверной проем.

Соединить электрические -6- разъемы.

Вставить резиновую втулку -7- между дверью и стойкой A.

Вкрутить новые крепежные винты -3- замка двери и затянуть с предписанным моментом затяжки

5 Отрегулировать крепежную раму двери

Крепежный винт -11- фиксирует переднюю опорную точку (опорную вилку -15- к направляющему винту -16-). Эта опорная точка является нерегулируемой!

Осторожно закрыть дверь.

Положение рамы окна (крепежная рама двери) относительно рамы крыши и стойки В должно быть отрегулировано (-стрелка D-). Точками вращения являются опорные вилки -14-, -15- и направляющие пальцы -13-, -16-. Отрегулировать зазоры крепежной рамы двери.

Информация
Регулировка происходит путем притяжки крепежной рамы двери к каркасу двери с помощью регулируемых крепежных элементов. Если требуемые размеры зазоров не выставляются, то возможно потребуется выкрутить крепежные винты -9,11- и переустановить регулируемые крепежные элементы в базовое положение.

Контрольно-регулировочные значения

Затянуть крепежные винты -9, 11- с предписанным моментом затяжки.

6 Закрепить крепежную раму двери

Вкрутить крепежные винты -8- и затянуть с предписанным моментом затяжки.

7 Вставить колпачки передних монтажных отверстий

Вставить колпачки верхних и нижних монтажных отверстий -4- и -5- .

8 Вставить колпачки задних монтажных отверстий и подсоединить жгут проводки Kessy – для всех автомобилей:

Вставить колпачки верхних и нижних монтажных отверстий -1- и -2- .

9 Дополнительно на автомобилях с блоком управления Kessy:

Протянуть жгут проводки Kessy через отверстие вовнутрь. Установить резиновую втулку в крепежную раму двери до ее фиксации по окружности (-стрелка A- ).

Вставить разъем в разъемное гнездо (-стрелка B- ) до ощутимой фиксации.

Дополнительные работы

1 Установить зеркало заднего вида

2 Установить обшивку передней двери

3 Установить ручку двери

4 Адаптировать стеклоподъемники
Миниатюры:
Нажмите на изображение для увеличения
Название: Монтаж крепежной рамы передней двери.jpg
Просмотров: 910
Размер:	50.7 Кб
ID:	33528   Нажмите на изображение для увеличения
Название: 1.jpg
Просмотров: 905
Размер:	72.0 Кб
ID:	33529   Нажмите на изображение для увеличения
Название: 2.jpg
Просмотров: 875
Размер:	45.5 Кб
ID:	33530   Нажмите на изображение для увеличения
Название: 3.jpg
Просмотров: 889
Размер:	64.3 Кб
ID:	33531   Нажмите на изображение для увеличения
Название: 4.jpg
Просмотров: 886
Размер:	39.5 Кб
ID:	33532  

Нажмите на изображение для увеличения
Название: 5.jpg
Просмотров: 864
Размер:	32.8 Кб
ID:	33533   Нажмите на изображение для увеличения
Название: 6.jpg
Просмотров: 856
Размер:	70.3 Кб
ID:	33534   Нажмите на изображение для увеличения
Название: 7.jpg
Просмотров: 877
Размер:	67.9 Кб
ID:	33535   Нажмите на изображение для увеличения
Название: 8.jpg
Просмотров: 870
Размер:	60.3 Кб
ID:	33536   Нажмите на изображение для увеличения
Название: 9.jpg
Просмотров: 895
Размер:	61.1 Кб
ID:	33537  

Нажмите на изображение для увеличения
Название: 10.jpg
Просмотров: 896
Размер:	43.3 Кб
ID:	33538   Нажмите на изображение для увеличения
Название: 11.jpg
Просмотров: 928
Размер:	69.7 Кб
ID:	33539   Нажмите на изображение для увеличения
Название: 12.jpg
Просмотров: 890
Размер:	70.0 Кб
ID:	33540   Нажмите на изображение для увеличения
Название: 13.jpg
Просмотров: 910
Размер:	36.3 Кб
ID:	33541   Нажмите на изображение для увеличения
Название: 14.jpg
Просмотров: 897
Размер:	33.6 Кб
ID:	33542  

Нажмите на изображение для увеличения
Название: 15.jpg
Просмотров: 879
Размер:	72.2 Кб
ID:	33543   Нажмите на изображение для увеличения
Название: 16.jpg
Просмотров: 887
Размер:	80.6 Кб
ID:	33544   Нажмите на изображение для увеличения
Название: 17.jpg
Просмотров: 924
Размер:	56.7 Кб
ID:	33545   Нажмите на изображение для увеличения
Название: 18.jpg
Просмотров: 904
Размер:	67.7 Кб
ID:	33546   Нажмите на изображение для увеличения
Название: 19.jpg
Просмотров: 888
Размер:	41.8 Кб
ID:	33547  

Нажмите на изображение для увеличения
Название: 20.jpg
Просмотров: 870
Размер:	75.6 Кб
ID:	33548   Нажмите на изображение для увеличения
Название: 21.jpg
Просмотров: 883
Размер:	46.8 Кб
ID:	33549   Нажмите на изображение для увеличения
Название: 22.jpg
Просмотров: 915
Размер:	66.8 Кб
ID:	33550  

Метки
дверь, демонтаж, крепежный, монтаж, передний, рам, снять



Левый уголок Похожие темы Правый уголок
Тема Автор Раздел Ответов Последнее сообщение
[9PA] Демонтаж и монтаж передней панели Владимир Маркин Оснащение кузова - интерьер 13 19.08.2024 11:20
[970] Демонтаж и монтаж крепежной рамы передней двери Владимир Маркин Кузов 4 12.02.2023 00:08
[9YA] Монтаж ручки передней двери Cayenne Coupé Baturass Кузов 1 08.12.2019 14:45
[9PA] Демонтаж и монтаж передней двери PORSCHE CAYENNE 955 Владимир Маркин Кузов 1 16.04.2019 22:25
[92A] Демонтаж и монтаж ручки передней двери Владимир Маркин Кузов 0 18.12.2017 22:05



Powered by vBulletin® Version 3.8.7
Copyright ©2000 - 2025, vBulletin Solutions, Inc. Перевод: zCarot
Все права на материалы, находящиеся на сайте, охраняются в соответствии с законодательством РФ.
При любом использовании материалов сайта, письменное согласие обязательно.
Торговые марки, логотипы и марки услуг, размещенные на данном сайте, являются собственностью их владельцев.
CayService.ru не связан с Porsche AG или PCNA. ©2025 CayService.ru. Все права защищены.
Яндекс.Метрика