Правила форума Clear

9PA производство 2003>>2006 (L) Демонтаж и монтаж колесного датчика

28.12.2019, 20:55   #1
Владимир Маркин
Аватар для Владимир Маркин
Демонтаж колесного датчика

Общая информация относительно колесных датчиков

Система контроля давления в шинах (RDK) разработана для перманентного контроля давления в шинах во время движения и в неподвижном состоянии. В глубине диска каждого колеса установлен один колесный датчик -A-. Он регулярно измеряет значения давления и температуры в шине и передает эти значения по высокочастотной линии в центральный блок управления. Блок управления анализирует информацию и в случае необходимости передает ее в комбинацию приборов. Таким образом водитель получает соответствующие указания, если необходимо откорректировать давление в шинах.

Колесные датчики -A- существуют в различных исполнениях. Они частично несовместимы и передают на различных частотах.

Кроме того, в качестве отличительного признака, может использоваться следующее:

Информация

Для различения колесных датчиков, в системном тестере Porsche в ведомом поиске неисправностей имеется таблица. Обратить внимание на следующий путь:

Выбрать Поиск неисправностей>>Тип автомобиля>>Модельный год>>Модель>>RDK>>Ведомый поиск неисправностей. Нажать клавишу перехода (следы ног). Выбрать Выбор функциональных компонентов>>Ходовая часть>>RDK>>Проверки/тесты>>Колесные диски/шины>>Колесный датчик>>клавиша Номинальные значения<<.

Смотрите также https://forum.cayservice.ru/showthre...B2%D0%BD%D0%B0

надпись 433 МГц или 315 МГц, в зависимости от сопоставления со страной
номер детали
поколение системы RDK и колесных датчиков
цвет корпуса по модельный год 2006 включительно / 1-ое поколение (433 МГц темно-серый и 315 МГц светло-серый)
цвет корпуса по модельный год 2006 включительно / 1-ое поколение (433 МГц оранжевый и 315 МГц темно-коричневый)
2 x 4 звезды для усиленной мощности передачи по модельный год 2006 включительно
цвет корпуса начиная с модельного года 2008 / 2-ое поколение (433 МГц темно-серый и 315 МГц светло-серый)
без звезд на корпусе начиная с модельного года 2008

Начиная с модельного года 2008 применяются колесные датчики 2-го поколения со слегка измененным корпусом.

Колесные датчики, изготовленные после модельного года 2008, не совместимы с датчиками до модельного года 2006. Это означает:

Колесные датчики по модельный год 2006 включительно / 1-го поколения не распознаются новой системой

Колесные датчики начиная с модельного года 2008 / 2-го поколения не распознаются старой системой

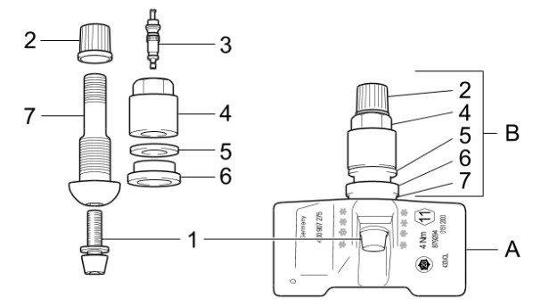
Вентиль и колесный датчик
A Колесный датчик
B Вентиль в сборе (от № 2 до № 7)
1 Самоконтрящийся винт крепления (Torx)
2 Колпачок вентиля (пластмасса)
3 Золотник вентиля
4 Накидная гайка
5 Подкладная шайба с двусторонней фаской
6 Уплотнительное кольцо
7 Вентиль

Демонтаж колесных датчиков

Вентиль заменяется вместе с винтом-1 по 7-, если:

Информация

На автомобилях с системой RDK вентили и колесные датчики заменяются в исключительных случаях! Следующие пункты описывают необходимую замену!

демонтирован колесный датчик
самоконтрящийся крепежный винт -1- ослаблен
уплотнительное кольцо с буртиком -6- пористо или повреждено
стержень вентиля -7- согнут
накидная гака -4- ослаблена.

Колесный датчик -A- подлежит замене, если:
корпус заметно деформирован
поверхность фильтра (прямоугольный или круглый пористый вырез на обратной стороне колесного датчика) загрязнена настолько, что очистка не дает положительного результата
применялся герметик для шин
ресурс элемента питания исчерпан
имеется дефект во внутренней системе колесного датчика.

После демонтажа шины становится виден колесный датчик -A- на вентиле во внешнем основании обода колеса.

1 Отвернуть колесный датчик от вентиля с помощью отвертки под внутреннюю головку Torx T 20 (при необходимости удерживать от проворота с помощью подходящего монтажного стержня, например, стального стержня Ø прибл. 1,8 мм, вставленного в отверстие основания вентиля) и снять его.
К новому вентилю прилагается монтажный штифт.

2 Затем открутить накидную гайку и снять вентиль.

Монтаж колесного датчика

Информация

Процесс затяжки вентиля до предписанного момента выполнять в диске только один раз. После установки удалить монтажный стержень. Если монтажный стержень останется в вентиле, шина может быть повреждена.

Информацию о каждой замене колеса необходимо прописать в блоке управления. В особенности при смене расположения колес. В главном меню комбинации приборов необходимо выбрать > давление в шинах > регулировки, тип и размер шин. Во время движения блок управления вновь распознает положения колес.

Колесные датчики, изготовленные после модельного года 2008, не совместимы с датчиками до модельного года 2006. Это означает:

колесные датчики до модельного года 2006 не опознаются новой системой.
колесные датчики начиная с модельного года 2008 не опознаются старой системой.

1 Очистить отверстие для вентиля предельно тщательно (визуальная проверка).

2 Наживить колесный датчик на вентиле (не затягивать) и вместе с новым вентилем и уплотнительным кольцом с буртиком вставить его в отверстие для вентиля.

Информация

При замене колесного датчика:

Всегда использовать абсолютно новый вентиль.
Всегда использовать новый крепежный винт.

3 Установить подкладную шайбу с двусторонней фаской снаружи и навинтить накидную гайку до прилегания. Повернуть основание вентиля так, чтобы стало видно отверстие, и заблокировать вентиль с помощью прилагаемого монтажного стержня.

Информация

Удерживать новый клапан от проворачивания с помощью монтажного штифта (прилагается к новому клапану).

Возможно проворачивание уплотнения вентиля и вследствие этого – повреждение.

4 Слегка прижать колесный датчик -A- в дно обода (таким образом регулируется угол наклона вентиля относительно датчика).

5 Затянуть самоконтрящийся крепежный винт (Torx) T20 с моментом затяжки Крутящий момент 4 Nm +/- 0,5 Nm. Теперь колесный датчик должен равномерно прилегать к колесному диску.

Информация

В процессе затяжки колесного датчика/вентиля прикладывать момент затяжки равномерно и в один этап. Процесс затяжки не допускается прерывать.

Удалить монтажный штифт после процесса затяжки.

6 Осторожно затянуть самоконтрящийся (Torx) крепежный винт T 20 с моментом 4 Нм (± 0,5 Нм). Теперь колесный датчик должен равномерно прилегать к диску.

Во время монтажа соблюдать предельную чистоту в области колесного датчика.

Информация

Беречь колесный датчик от попадания монтажной пасты и растворителя.
Миниатюры:
Нажмите на изображение для увеличения
Название: Вентиль и колесный датчик.jpg
Просмотров: 664
Размер:	28.7 Кб
ID:	26463   Нажмите на изображение для увеличения
Название: Обзор вентиля.jpg
Просмотров: 696
Размер:	29.0 Кб
ID:	26464   Нажмите на изображение для увеличения
Название: Колесный датчик.jpg
Просмотров: 692
Размер:	26.8 Кб
ID:	26465   Нажмите на изображение для увеличения
Название: Колесный датчик на диске.jpg
Просмотров: 677
Размер:	34.2 Кб
ID:	26466   Нажмите на изображение для увеличения
Название: Удержание вентиля RDK от проворота при отворачивании.jpg
Просмотров: 667
Размер:	36.7 Кб
ID:	26467  


Метки
датчик, демонтаж, колесный, монтаж



Левый уголок Похожие темы Правый уголок
Тема Автор Раздел Ответов Последнее сообщение
[970] Демонтаж и монтаж ротора датчика Холла Владимир Маркин Двигатель 8 17.02.2023 15:27
[970] Демонтаж и монтаж датчика указателя давления масла Владимир Маркин Двигатель 0 17.02.2019 17:55
[92A] Демонтаж и монтаж импульсного датчика коленчатого вала Владимир Маркин Система питания 1 05.11.2016 16:41
[9PA1] Демонтаж и монтаж датчика температуры (ОЖ) двигателя 3,0 л дизель Владимир Маркин Двигатель 0 19.05.2016 20:20
[9PA] Демонтаж и монтаж импульсного датчика коленчатого вала V6 Владимир Маркин Двигатель 0 10.05.2016 20:11



Powered by vBulletin® Version 3.8.7
Copyright ©2000 - 2025, vBulletin Solutions, Inc. Перевод: zCarot
Все права на материалы, находящиеся на сайте, охраняются в соответствии с законодательством РФ.
При любом использовании материалов сайта, письменное согласие обязательно.
Торговые марки, логотипы и марки услуг, размещенные на данном сайте, являются собственностью их владельцев.
CayService.ru не связан с Porsche AG или PCNA. ©2025 CayService.ru. Все права защищены.
Яндекс.Метрика