Правила форума Clear

9PA1 производство 2007>>2010 (L) Демонтаж и монтаж крышки ГБЦ (клапанной крышки) 4,8 л DFI PORSCHE CAYENNE 957

03.07.2019, 22:09   #1
Владимир Маркин
Аватар для Владимир Маркин
Информация

Изменения компонентов 2009 модельного года начиная с октября 2008 года

Информация

Обязательно обратить внимание на указания по измененным предписаниям по затяжке и связанным с ремонтом изменениям компонентов в зависимости от номера двигателя в информационной главе.

Предварительные работы

1 Снять облицовку двигателя.

2 Снять отделитель масляного тумана.

3 Снять модули зажигания.

Инструменты и материалы

Инструменты

Информация
Для ослабления и затяжки заднего крепежного винта крышки головки блока цилиндров рядом с водоотводящим коробом рекомендуется специальный инструмент с высотой головки менее 50 мм -A- (см. Специальные инструменты).

Рекомендуемый специальный инструмент
-A- Центровочная втулка
-B- Динамометрический ключ
-C- трещотка на 1/4 дюйма
-D- Сменная торцевая головка SW13 на 1/4 дюйма
-E- Бит с внутренним шестигранником T40

Информация

Обзор: компоненты

Клапанная крышка, уплотнения ряда цил. 1 - 4
1 Клапанная крышка ряда цил. 1 - 4 (выровнять по модулям зажигания)
2 Крышка маслозаливной горловины
3 Винт M6 x 16
4 Датчик Холла
5 Уплотнительное кольцо круглого сечения
6 Уплотнение клапанной крышки
7 Уплотнение клапанной крышки, внутреннее
8 Уплотнение гидравлического клапана регулировки положения распредвалов (NVS)

Уплотнение клапанной крышки ряда цил. 5 - 8
1 Клапанная крышка ряда цил. 5 - 8 (выровнять по модулям зажигания)
2 Датчик Холла
3 Винт M6 x 16
4 Уплотнительное кольцо круглого сечения
5 Уплотнение клапанной крышки
6 Уплотнение клапанной крышки, внутреннее
7 Уплотнение гидравлического клапана регулировки положения распредвала (NVS)

Модули зажигания и клапанная крышка ряда цил. 1 - 4
1 Клапанная крышка ряда цил. 1 - 4 (выровнять по модулям зажигания)
2 Модуль зажигания
3 Винт модуля зажигания
4 Винт М6
5 Колпачок
6 Винт M8
7 Несущая проушина
8 Держатель
A Направление движения
Без рисунка; декоративная накладка модулей зажигания

Модули зажигания и клапанная крышка ряда цил. 5 - 8
1 Клапанная крышка ряда цил. 5 - 8 (выровнять по модулям зажигания)
2 Несущая проушина
3 Винт M8
4 Винт М6
5 Модуль зажигания
6 Винт модуля зажигания
7 Держатель
8 Колпачок
A Направление движения
Без рисунка; декоративная накладка модулей зажигания
Миниатюры:
Нажмите на изображение для увеличения
Название: Высота инструмента.jpg
Просмотров: 251
Размер:	20.4 Кб
ID:	22240   Нажмите на изображение для увеличения
Название: Рекомендуемый специальный инструмент.jpg
Просмотров: 247
Размер:	18.0 Кб
ID:	22241   Нажмите на изображение для увеличения
Название: Клапанная крышка, уплотнения ряда цил. 1 - 4.jpg
Просмотров: 242
Размер:	21.8 Кб
ID:	22242   Нажмите на изображение для увеличения
Название: Уплотнение клапанной крышки ряда цил. 5 - 8.jpg
Просмотров: 239
Размер:	21.3 Кб
ID:	22243   Нажмите на изображение для увеличения
Название: Последов. затяжки клап. крышки ряда цил. 1 - 4.jpg
Просмотров: 271
Размер:	34.5 Кб
ID:	22245  

Нажмите на изображение для увеличения
Название: Послед. затяжки клап. крышки ряда цил. 5 - 8.jpg
Просмотров: 315
Размер:	32.2 Кб
ID:	22246   Нажмите на изображение для увеличения
Название: Модули зажигания и клапанная крышка ряда цил. 1 - 4.jpg
Просмотров: 273
Размер:	27.4 Кб
ID:	22247   Нажмите на изображение для увеличения
Название: Модули зажигания и клапанная крышка ряда цил. 5 - 8.jpg
Просмотров: 254
Размер:	29.3 Кб
ID:	22248  
03.07.2019, 22:20   #2
Владимир Маркин
Аватар для Владимир Маркин
Демонтаж крышки ГБЦ (клапанной крышки)

Уведомление

Ненадлежащая установка и затяжка крышки головки блока цилиндров
Неверное монтажное положение датчика Холла распредвала
Повреждения двигателя
Записи о неисправности в блоке управления DME

Осторожное выравнивание крышки головки блока цилиндров через вставленные модули зажигания.

1 Снять крышку и находящийся под ней кабельный разъем гидравлического клапана, нажав на проволочную скобу, -a- снять.

2 Отсоединить по две точки подключения массы от клапанных крышек. -1-

Жгут проводов двигателя, привод ГРМ и клапанная крышка
1 Винт M6 x 12
2 Винт M6 x 16

3 Подключить кабельный разъем датчика Холла.

4 Демонтировать держатель кабеля, осторожно потянув за держатели. Жгут проводов можно поднять, осторожно ослабив язычки. Отложить жгут проводов в сторону.

Информация

При ослаблении держателя жгута проводки возможно разрушение пластиковых клипс; необходимо проверить на возможность повторного использования!

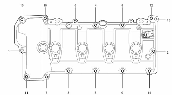
5 Вывернуть винты и осторожно поднять клапанную крышку. На рисунке показана последовательность затяжки. Последовательность затяжки клапанной крышки цил. с 1 по 4. Последовательность затяжки клапанной крышки цил. с 5 по 8

Для ослабления и затяжки заднего крепежного винта крышки ГБЦ рядом с водоотводящим коробом рекомендуется инструмент, высота головки которого меньше 50 мм -A- (см. специнструмент).
Если подходящего инструмента нет в распоряжении, то нужно демонтировать боковую часть водоотводящего короба и затем установить ее заново. Для этого демонтировать накладку водоотводящего короба.

Демонтировать стенку водоотводящего короба (левый рисунок). Извлечь разъем лямбда-зонда из крепления на стенке водоотводящего короба -1-. Высвободить кабель из зажима -2-. При наличии отсоединить от стенки водоотводящего короба расширительный бачок системы PDCC. Вывернуть три винта панели водоотводящего короба -3-. Снять панель по направлению вверх Установка производится в обратной последовательности. При этом уплотнитель сначала установить в кузов и обработать силиконовым спреем.

При этом отсоединить держатель жгута проводов 5-го цилиндра и отложить в сторону.-1-

Жгут проводов двигателя - генератор
1 Кронштейн => см. клапанную крышку
G Кабельный зажим

6 Перевернуть клапанную крышку и удалить внешние и внутренние уплотнения. Очистить уплотнительные поверхности на клапанной крышке и ГБЦ.

Информация
Всегда заменять уплотнения.
Миниатюры:
Нажмите на изображение для увеличения
Название: Крышка и кабельный разъем гидравлического клапана.jpg
Просмотров: 239
Размер:	59.3 Кб
ID:	22249   Нажмите на изображение для увеличения
Название: Жгут проводов двигателя, привод ГРМ и клапанная крыш.jpg
Просмотров: 248
Размер:	32.8 Кб
ID:	22250   Нажмите на изображение для увеличения
Название: Держатель жгута проводов.jpg
Просмотров: 214
Размер:	57.2 Кб
ID:	22251   Нажмите на изображение для увеличения
Название: Высота инструмента.jpg
Просмотров: 232
Размер:	20.9 Кб
ID:	22252   Нажмите на изображение для увеличения
Название: Стенка водоотводящего короба (изображена левая стор.jpg
Просмотров: 248
Размер:	70.0 Кб
ID:	22253  

Нажмите на изображение для увеличения
Название: Последовательность затяжки клапанной крышки цил. с 1.jpg
Просмотров: 278
Размер:	33.4 Кб
ID:	22254   Нажмите на изображение для увеличения
Название: Последовательность затяжки клапанной крышки цил. с 5.jpg
Просмотров: 271
Размер:	33.2 Кб
ID:	22255   Нажмите на изображение для увеличения
Название: Жгут проводов двигателя - генератор.jpg
Просмотров: 250
Размер:	32.3 Кб
ID:	22256   Нажмите на изображение для увеличения
Название: Уплотнительные поверхности ГБЦ.jpg
Просмотров: 232
Размер:	54.2 Кб
ID:	22257  
03.07.2019, 22:44   #3
Владимир Маркин
Аватар для Владимир Маркин
Монтаж крышки ГБЦ (клапанной крышки)

Монтаж крышки ГБЦ (клапанной крышки) (до октября 2008 года)

Информация

При ослаблении держателя жгута проводки возможно разрушение пластиковых клипс; необходимо проверить на возможность повторного использования!

1 Тщательно очистить уплотнительные поверхности крышки клапанного механизма и ГБЦ.

2 -6 и 7- / -5 и 6- Установить внутр. и наружн. прокладку в крышку корпуса распредвалов и нанести на обе стороны канта между ГБЦ и крышкой цепи газораспред. механизма трехкомпонентный силиконовый герметик 2210 (000.043.204.58 версия 02/06).Нанесение герметика на крышку газораспределительного механизма и ГБЦ.

Информация

Всегда заменять уплотнения.

3 Осторожно установить крышку клапанного механизма.

4 Все модули зажигания установить в соответств. крышку клапанного механизма для выравнивания.

Уведомление

Ненадлежащая установка и затяжка крышки головки блока цилиндров
Неверное монтажное положение датчика Холла распредвала
Повреждения двигателя
Записи о неисправности в блоке управления DME

Осторожное выравнивание крышки головки блока цилиндров через вставленные модули зажигания.

5 Установить все крепежные болты M6 и M8 (качающаяся опора и проушины) в соответствии с предписаниями.

Для ослабления и затяжки заднего крепежного винта крышки ГБЦ рядом с водоотводящим коробом рекомендуется инструмент, высота головки которого меньше 50 мм -A- (см. специнструмент).
Если подходящего инструмента нет в распоряжении, то нужно демонтировать боковую часть водоотводящего короба и затем установить ее заново. Для этого демонтировать накладку водоотводящего короба.

Демонтировать стенку водоотводящего короба (левый рисунок). Извлечь разъем лямбда-зонда из крепления на стенке водоотводящего короба -1-. Высвободить кабель из зажима -2-. При наличии отсоединить от стенки водоотводящего короба расширительный бачок системы PDCC. Вывернуть три винта панели водоотводящего короба -3-. Снять панель по направлению вверх Установка производится в обратной последовательности. При этом уплотнитель сначала установить в кузов и обработать силиконовым спреем.

6 Установить держатель жгута проводов. Для этого нажать на держатель жгута пров.

7 Подключить разъем гидравлического клапана и установить крышку.

8 Установить на клапанные крышки по две точки контакта с массой. -1-

Жгут проводки двигателя, кожух ГРМ и клапанная крышка
1 Винт M6 x 12 момент затяжки 10 Nm
2 Винт M6 x 16

9 Подключить разъем кабеля датчика Холла.

Монтаж крышки ГБЦ (клапанной крышки) (с октября 2008 года)

Информация

При ослаблении держателя жгута проводки возможно разрушение пластиковых клипс; необходимо проверить на возможность повторного использования!

1 Тщательно очистить уплотнительные поверхности крышки клапанного механизма и ГБЦ.

2 Вложить в клапанную крышку внутреннее и внешнее уплотнения -6 и 7-/ -5 и 6- и на обе стороны кромки стыка головки блока цилиндров и крышки кожуха ГРМ нанести небольшой слой дополнительного герметика Drei-Bond Silikon 2210 (000.043.204.58 по состоянию 12/08 может и впредь применяться в этой ограниченной области без контакта с алюминиевым резьбовым соединением). Нанесение герметика на крышку газораспределительного механизма и ГБЦ.

Информация

Всегда заменять уплотнения.

Прокладки клапанной крышки цилиндров с 1 по 4
1 Клапанная крышка цилиндров 1 - 4 (выровнять по модулям зажигания)
2 Крышка маслозаливной горловины
3 Алюминиевый винт M6 x 20; датчик Холла (датчик фаз газораспределения); алюминиевые винты всегда менять. Предварительная затяжка 4 Nm и Окончательная затяжка 90 °
4 Датчик Холла
5 Уплотнительное кольцо круглого сечения
6 Прокладка клапанной крышки
7 Внутренняя прокладка клапанной крышки
8 Прокладка гидравлического клапана механизма регулировки фаз газораспределения (NVS)

Прокладки клапанной крышки цилиндров с 5 по 8
1 Клапанная крышка цилиндров 5 - 4 (выровнять по модулям зажигания)
2 Датчик Холла
3 Алюминиевый винт M6 x 20; датчик Холла (датчик фаз газораспределения); алюминиевые винты всегда менять. Предварительная затяжка 4 Nm и Окончательная затяжка 90 °
4 Уплотнительное кольцо круглого сечения
5 Прокладка клапанной крышки
6 Внутренняя прокладка клапанной крышки
7 Прокладка гидравлического клапана механизма регулировки фаз газораспределения (NVS)

3 Осторожно установить крышку клапанного механизма.

4 Все модули зажигания установить в соответствующую клапанную крышку для выравнивания.

Уведомление

Ненадлежащая установка и затяжка крышки головки блока цилиндров
Неверное монтажное положение датчика Холла распредвала
Повреждения двигателя
Записи о неисправности в блоке управления DME

Осторожное выравнивание крышки головки блока цилиндров через вставленные модули зажигания.

5 Установить в соответствии с предписанием все крепежные винты M6 и M8 (реактивная опора и несущие проушины).

Модули зажигания и клапанная крышка ряда цилиндров 1-4
1 Клапанная крышка ряда цил. 1 - 4 (выровнять по модулям зажигания)
2 Индивидуальная катушка зажигания
3 Алюминиевый винт M6 x 20; модуль зажигания; алюминиевые винты всегда менять; Предварительная затяжка 4 Nm и Окончательная затяжка 90 °
4 Алюминиевый винт M6 x 30; алюминиевые винты всегда менять; Предварительная затяжка 4 Nm и Окончательная затяжка 90 °
5 Колпачок
6 Алюминиевый винт M8 x 35 (на реактивной опоре двигателя); алюминиевые винты всегда менять; Предварительная затяжка 10 Nm и Окончательная затяжка 90 ° Стальной винт на несущей проушине!

Информация

Несущие проушины запрещено крепить алюминиевыми винтами! => При подвешивании двигателя алюминиевые винты могут сломаться и стать причиной его падения!

7 Несущая проушина (со стальным винтом) Момент затяжки 23 Nm

8 Держатель

Без рисунка; декоративная накладка модулей зажигания Момент затяжки 4,4 Nm

Индивидуальные катушки зажигания и клапанная крышка ряда цилиндров 5 - 8
1 Клапанная крышка ряда цил. 5 - 8 (выровнять по модулям зажигания)
2 Транспортировочная серьга
3 Несущая проушина (со стальным винтом) Момент затяжки 23 Nm
4 Алюминиевый винт M6 x 30; алюминиевые винты всегда менять; Предварительная затяжка 4 Nm и Окончательная затяжка 90 °
5 Индивидуальная катушка зажигания
6 Алюминиевый винт M6 x 20; модуль зажигания; алюминиевые винты всегда менять; Предварительная затяжка 4 Nm и Окончательная затяжка 90 °
7 Держатель
8 Колпачок
A Направление движения
Без рисунка; декоративная накладка модулей зажигания Момент затяжки 4,4 Nm

6 Установить держатель жгута проводов. Для этого нажать на держатель жгута пров.

7 Подключить разъем гидравлического клапана и установить крышку.

8 Установить на клапанные крышки по две точки контакта с массой. -1-

9 Подключить разъем кабеля датчика Холла.

Дополнительные работы

1 Установить модули зажигания.

2 Установить отделитель масла.

3 Установить кожух двигателя.
Миниатюры:
Нажмите на изображение для увеличения
Название: Головка блока цилиндров.jpg
Просмотров: 249
Размер:	53.7 Кб
ID:	22258   Нажмите на изображение для увеличения
Название: Прокладки клапанной крышки цилиндров с 1 по 4.jpg
Просмотров: 246
Размер:	21.5 Кб
ID:	22259   Нажмите на изображение для увеличения
Название: Прокладки клапанной крышки цилиндров 5 - 8.jpg
Просмотров: 248
Размер:	22.2 Кб
ID:	22260   Нажмите на изображение для увеличения
Название: Нанесение герметика на крышку газораспределительно.jpg
Просмотров: 235
Размер:	58.6 Кб
ID:	22261   Нажмите на изображение для увеличения
Название: Герметик на обеих сторонах.jpg
Просмотров: 276
Размер:	69.9 Кб
ID:	22262  

Нажмите на изображение для увеличения
Название: Монтаж модулей зажигания.jpg
Просмотров: 251
Размер:	42.7 Кб
ID:	22263   Нажмите на изображение для увеличения
Название: Высота инструмента.jpg
Просмотров: 225
Размер:	20.7 Кб
ID:	22264   Нажмите на изображение для увеличения
Название: Стенка водоотводящего короба (изображена левая стор.jpg
Просмотров: 232
Размер:	71.2 Кб
ID:	22265   Нажмите на изображение для увеличения
Название: Последовательность затяжки клапанной крышки цил. с 1.jpg
Просмотров: 222
Размер:	34.7 Кб
ID:	22266   Нажмите на изображение для увеличения
Название: Последовательность затяжки клапанной крышки цил. 5 - .jpg
Просмотров: 251
Размер:	31.2 Кб
ID:	22267  

Нажмите на изображение для увеличения
Название: Модули зажигания и клапанная крышка ряда цилиндров 1.jpg
Просмотров: 274
Размер:	27.4 Кб
ID:	22268   Нажмите на изображение для увеличения
Название: Модули зажигания и клапанная крышка ряда цилиндров 5.jpg
Просмотров: 265
Размер:	29.2 Кб
ID:	22269   Нажмите на изображение для увеличения
Название: Держатель жгута проводки.jpg
Просмотров: 238
Размер:	56.6 Кб
ID:	22270   Нажмите на изображение для увеличения
Название: Кабельный разъем.jpg
Просмотров: 220
Размер:	59.3 Кб
ID:	22271   Нажмите на изображение для увеличения
Название: Жгут проводки двигателя, кожух ГРМ и клапанная крышк.jpg
Просмотров: 266
Размер:	31.6 Кб
ID:	22272  

Нажмите на изображение для увеличения
Название: Головка блока цилиндров....jpg
Просмотров: 220
Размер:	54.6 Кб
ID:	22273   Нажмите на изображение для увеличения
Название: Прокладки клапанной крышки цилиндров с 1 по 4....jpg
Просмотров: 205
Размер:	21.8 Кб
ID:	22274   Нажмите на изображение для увеличения
Название: Прокладки клапанной крышки цилиндров с 5 по 8.jpg
Просмотров: 229
Размер:	21.3 Кб
ID:	22275   Нажмите на изображение для увеличения
Название: Герметик на обеих сторонах....jpg
Просмотров: 212
Размер:	70.0 Кб
ID:	22276   Нажмите на изображение для увеличения
Название: Монтаж модулей зажигания....jpg
Просмотров: 196
Размер:	43.5 Кб
ID:	22277  

Нажмите на изображение для увеличения
Название: Высота инструмента....jpg
Просмотров: 217
Размер:	20.5 Кб
ID:	22278   Нажмите на изображение для увеличения
Название: Держатель жгута проводки....jpg
Просмотров: 202
Размер:	57.4 Кб
ID:	22280   Нажмите на изображение для увеличения
Название: Кабельный разъем....jpg
Просмотров: 257
Размер:	59.0 Кб
ID:	22281  

Метки
cayenne, porsche, демонтаж, зажигание, клапанный, крышка, модуль, монтаж



Левый уголок Похожие темы Правый уголок
Тема Автор Раздел Ответов Последнее сообщение
[970] Демонтаж и монтаж крышки сдвижного люка PORSCHE PANAMERA Владимир Маркин Кузов 2 03.06.2023 20:25
[9PA1] Демонтаж и монтаж гидравлического блока задней крышки Владимир Маркин Кузов 25 17.03.2021 11:31
[92A] Демонтаж и монтаж крышки головки блока цилиндров (клапанной крышки) Cayenne V6 бензин Владимир Маркин Двигатель 8 10.03.2020 15:37
[970] Демонтаж и монтаж облицовки крышки задней стенки Владимир Маркин Оснащение кузова - интерьер 0 03.09.2018 19:28
[9PA1] Демонтаж и монтаж обшивки задней крышки Владимир Маркин Внешнее оснащение кузова 0 01.12.2016 20:05



Powered by vBulletin® Version 3.8.7
Copyright ©2000 - 2025, vBulletin Solutions, Inc. Перевод: zCarot
Все права на материалы, находящиеся на сайте, охраняются в соответствии с законодательством РФ.
При любом использовании материалов сайта, письменное согласие обязательно.
Торговые марки, логотипы и марки услуг, размещенные на данном сайте, являются собственностью их владельцев.
CayService.ru не связан с Porsche AG или PCNA. ©2025 CayService.ru. Все права защищены.
Яндекс.Метрика