Правила форума Clear

9PA производство 2003>>2006 (L) Демонтаж и монтаж поршней

21.02.2017, 10:25   #1
Владимир Маркин
Аватар для Владимир Маркин
Обзор элементов: поршень
Обзор элементов
1 - 3 поршневых кольца (самое нижнее - маслосъемное)
2 - Поршень (стрелка на дне поршня указывает направление движения)
3 - 2 стопорных кольца поршня
4 - Поршневой палец
5 - Шатун и крышка шатунного подшипника
6 - 2 шатунных болта
7 - 2 вкладыша подшипника

Идентификация поршня

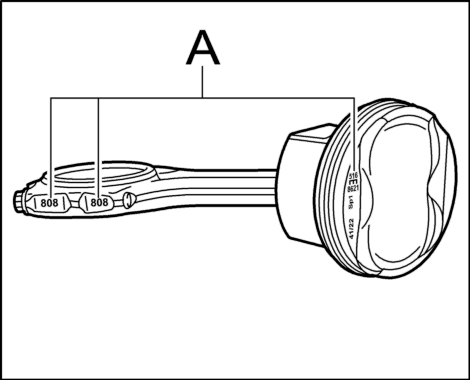
Маркировка на днище поршня: Службой запчастей Porsche поставляются только новые поршни размерной группы 'X' и в двух массовых группах '+' и '-'. Массовые группы перечислены в таблице.

Метка X - большая цветная печать в центре днища поршня, маленькая - в виде выгравированного знака -1- .
Метка + или — в виде большой цветной печати в центре днища поршня, маленькая - выгравированный знак -2- .

информация
Поршни серийно изготавливаются в трех размерных группах: I , X и II.
Поршни серийно изготавливаются в двух массовых группах: + и — .

Все эти данные выгравированы на днище поршня. Для четкой идентификации поршня его следует тщательно отчистить (латунная щетка, ультразвуковая установка). Если данные, несмотря на тщательную очистку, по-прежнему не видны, то необходимо взвесить поршень вместе с поршневыми кольцами, поршневым пальцем и двумя стопорными кольцами. Также и перед взвешиванием необходимо обязательно выполнить тщательную очистку (ультразвуковая установка), в противном случае искажается результат измерения.

При ремонте снятый поршень следует очистить и идентифицировать. При необходимости его замены следует заказать и установить поршень группы X с идентифицированной массовой группой + или —.
Миниатюры:
Нажмите на изображение для увеличения
Название: 9677.gif
Просмотров: 208
Размер:	3.7 Кб
ID:	13788   Нажмите на изображение для увеличения
Название: 13400022.gif
Просмотров: 260
Размер:	8.3 Кб
ID:	13789   Нажмите на изображение для увеличения
Название: 13101011.gif
Просмотров: 256
Размер:	20.8 Кб
ID:	13790   Нажмите на изображение для увеличения
Название: 10010289.gif
Просмотров: 248
Размер:	24.4 Кб
ID:	13791   Нажмите на изображение для увеличения
Название: 13100074.gif
Просмотров: 238
Размер:	11.9 Кб
ID:	13792  

Нажмите на изображение для увеличения
Название: 19400024.gif
Просмотров: 219
Размер:	9.1 Кб
ID:	13793   Нажмите на изображение для увеличения
Название: 19400023.gif
Просмотров: 248
Размер:	9.6 Кб
ID:	13794   Нажмите на изображение для увеличения
Название: 10010284.gif
Просмотров: 259
Размер:	24.4 Кб
ID:	13795   Нажмите на изображение для увеличения
Название: 10010290.gif
Просмотров: 219
Размер:	12.9 Кб
ID:	13796   Нажмите на изображение для увеличения
Название: 10010291.gif
Просмотров: 207
Размер:	20.9 Кб
ID:	13797  

Нажмите на изображение для увеличения
Название: 10010286.gif
Просмотров: 243
Размер:	12.8 Кб
ID:	13798  

Метки
демонтаж, монтаж



Левый уголок Похожие темы Правый уголок
Тема Автор Раздел Ответов Последнее сообщение
[9PA] Демонтаж и монтаж термостата V8 Владимир Маркин Двигатель 0 19.12.2016 11:13
[9PA1] Демонтаж и монтаж поршней двигателя 4,8 л DFI Владимир Маркин Двигатель 0 28.07.2016 14:59
[9PA] Демонтаж и монтаж фазовращателя V8 955 Владимир Маркин Двигатель 0 17.12.2015 14:59
[9PA] Демонтаж и монтаж термостата 9PA V6 Владимир Маркин Двигатель 0 15.06.2015 13:47
[9PA] Демонтаж/монтаж цепи ГРМ (9PA) 4.5 Владимир Маркин Двигатель 1 14.02.2015 14:35



Powered by vBulletin® Version 3.8.7
Copyright ©2000 - 2025, vBulletin Solutions, Inc. Перевод: zCarot
Все права на материалы, находящиеся на сайте, охраняются в соответствии с законодательством РФ.
При любом использовании материалов сайта, письменное согласие обязательно.
Торговые марки, логотипы и марки услуг, размещенные на данном сайте, являются собственностью их владельцев.
CayService.ru не связан с Porsche AG или PCNA. ©2025 CayService.ru. Все права защищены.
Яндекс.Метрика