Правила форума Clear

9PA1 производство 2007>>2010 (L) Демонтаж и монтаж подрамника передней оси

24.01.2016, 21:57   #1
Владимир Маркин
Аватар для Владимир Маркин
Демонтаж и монтаж подрамника передней оси

Технические значения
От нижнего края крыла до центра колеса контрольный размер 502 mm +/-10 mm

Предварительные работы
Для автомобилей с системой регулирования уровня дорожного просвета: выключить систему регулирования уровня дорожного просвета.
Поднимать автомобиль только за предусмотренные для этого места.

Инструменты
-A- - Траверса 10-222 A
-B- - Карабинный крюк или цепь – для удлинения стержней
-C- - Транспортировочная серьга 9700

-A- - Монтажный стенд
-1- - Упор – для демонтажа балки передней оси
-3- - Упор – для демонтажа балки передней оси
-4- - Вспомогательное устройство – для позиционирования монтажного стенда

Демонтаж подрамника передней оси
Демонтаж балки передней оси — V8

информация
Данное руководство по снятию и установке действительно для а/м с системой регулировки уровня кузова и пружинной подвеской. Пункты, касающиеся системы регулировки уровня кузова, неприменимы к а/м с пружинной подвеской.

1. Открыть крышку моторного отсека и зафиксировать помощью упора крышки 97040.
2. Снять декоративную накладку двигателя.
3. Демонтировать с двигателя -реактивную опору- . Затем снова установить крепежный винт -стрелка- .

информация
В пункте 4 на автомобилях с двигателем V8 второго поколения транспортировочная проушина 9700 не вворачивается. На двигателе установлены панели с отверстиями для транспортировки или для крепления на траверсе.

4. Установить траверсу 10-222 A в правильное положение и смонтировать цепь для крепления -A- . Смонтировать транспортировочную проушину 9700 для фиксации двигателя -B- (отверстие для транспортировочной проушины находится в левом ряду цилиндров между 6-ым и 7-ым цилиндрами).
5. Снять передние колеса.
6. Снять защиту двигателя.

информация
Для демонтажа подрамника передней оси амортизационные стойки не демонтируются.
Зафиксировать верхние рычаги подвески. Нижние поперечные рычаги отсоединяются от подрамника и вместе с амортизационными стойками остаются на автомобиле.

7. Зафиксировать верхний рычаг подвески с помощью пружинного зажима VW 552. Во избежание повреждения верхнего шарового шарнира, необходимо небольшое предварительное натяжение рычага. При этом -фиксатор- входит в верхнее отверстие колесной ниши (двойной лист под облицовкой колесной ниши) и в рычаг подвески (соединение пневмоподвески не расстыковывать!).
8. Для наиболее эффективного демонтажа внешнего шарнира рулевой тяги - соответствующую колесную стойку повернуть таким образом, чтобы рулевая тяга полностью выдвинулась. Снять -внешние шарниры поперечной тяги- с помощью съемника T10187. При выпрессовке прикрутить стопорную гайку заподлицо (защищает резьбу шарового шарнира).
9. Винт рулевого вала выкручивается изнутри колесной ниши. Отсоединить шланги ОЖ от креплений на кузове. Отсоединить -винт рулевой колонки (стрелка)- от рулевого механизма.
10. Отсоединить гидравлические каналы от рулевого механизма (слить гидравлическую жидкость в резервуар). При необходимости снять защитный экран рулевого управления.
11. Отметить монтажное положение карданного вала и отсоединить его от главной передачи передней оси. Принять меры для защиты карданного вала от складывания (привязать).
12. Отсоединить приводные валы от главной передачи передней оси. Принять меры для защиты приводных валов от провисания (привязать).
13. Отсоединить нижний поперечный рычаг от балки передней оси.
14. Отсоединить крепления стабилизатора.

информация
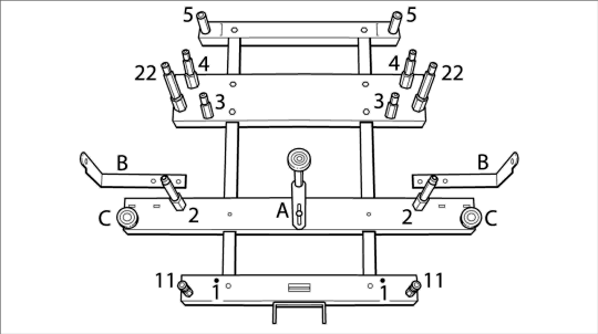
Для демонтажа подрамника передней оси необходимы крепления для подрамника передней оси (1 и 3), справа и слева, и два вспомогательных устройства (4), которые вставляются в кузов. Другие крепления можно демонтировать.
Крепления 1/11 (маркировка на направляющем штифте) монтируются в -Положение 1- . Двойная маркировка (например, 11, 22) предусмотрена также и для креплений задней оси.

Чтобы при спуске подрамника передней оси не повредить расположенные вокруг него компоненты, необходимо участие второго механика.
Для установки рекомендуется отметить монтажное положение подрамника передней оси по диагонали как минимум в двух точках кузова. Для этого нанести метки перпендикулярно днищу кузова фломастером (например, прочертить метки вдоль подрамника передней оси).

15. Установить -подъемную тележку- с помощью правильно установленного монтажного устройства под балкой передней оси.
16. Отметить монтажное положение балки передней оси по диагонали как минимум в двух точках кузова.
17. Позиции -стрелка- обозначают опорные площадки для монтажного устройства на балке передней оси (здесь: вид снизу).
18. Установить балку передней оси в предназначенные для этого точки крепления -(стрелки)- (пункты 4 на кузове).
19. Снять 4 крепежных винта -(стрелки)- балки передней оси.
20. Опустить балку передней оси с рулевым управлением, главной передачей, стабилизатором, с учетом расположенных рядом конструктивных элементов (например, карданного вала, масляного поддона, кузова).
21. Снять навесные элементы балки передней оси (рулевое управление, главная передача, стабилизатор). Необходима помощь второго механика.

Монтаж подрамника передней оси
Монтаж балки передней оси – V8


информация
Визуально проверить все компоненты перед установкой.
Учитывать отметки, нанесенные на балке передней оси и карданном валу.
Во избежание повреждения компонентов при подъеме балки передней оси необходима помощь второго механика.
При монтаже шарового шарнира обратить внимание на степень чистоты конического гнезда. Очистить коническое гнездо от грязи и смазки с помощью безворсовой ветоши. Не использовать чистящие средства/растворители.
Заменить все стопорные гайки и винты, затягивающиеся на пределе свойств металла (винты, затягивающиеся на угол доворота).
Все винтовые соединения оси следует затягивать при нормальном положении автомобиля. Нормальное положение автомобиля: Автомобиль стоит на колесах или подвеска поднята универсальным домкратом. -размер X- , соответствует нормальному положению автомобиля. → контрольный размер: 502 mm+/-10 mm

Отдельное колесо автомобиля (автомобиль стоит на колесах) нельзя поднимать выше нормального положения подвески. При подъеме использовать соответствующую -прокладку (жесткая резиновая опора)- . Не повредить тормозной щит.

Прокачать систему ГУР.
Соблюдать моменты затяжки.
Провести РУУК.
При помощи -тестера Porsche- откалибрировать датчик угла поворота рулевого колеса.

Монтаж осуществляется в обратной последовательности.

Данное руководство по снятию и установке действительно для а/м с системой регулирования клиренса и пружинной подвеской. Пункты, касающиеся системы регулирования клиренса, неприменимы к а/м с пружинной подвеской.

1. Поместить -балку передней оси- на монтажном устройстве.
2. Предварительно монтировать на балке передней оси навесные компоненты (рулевое управление, главную передачу, стабилизатор). Привлекать к работе второго механика.
3. Снова поместить балку передней оси в первоначальное, обозначенное метками монтажное положение с учетом прилегающих компонентов.
4. Затянуть четыре крепежных винта с предписанным моментом.
5. Убрать -тележку- с монтажным устройством и закрепить держатели для водяных шлангов.
6. Монтировать рулевой механизм на рулевой колонке и присоединить трубопроводы гидравлической системы.
7. Закрепить карданный вал в обозначенных метками точках.
8. Монтировать приводные валы.
9. Монтировать шарниры рулевой тяги. Момент затяжки стопорной гайки для крепления шарнира рулевой тяги составляет 70 Нм.
10. Установить защиту двигателя.
11. Демонтировать траверсу 10-222 A. Для этого демонтировать транспортировочную проушину 9700 -B- и цепь -A- для фиксации двигателя.
12. Монтировать -реактивную опору- .
13. Удалить воздух из системы рулевого механизма с усилителем.
14. Установить декоративные накладки двигателя и крышку водоотводящего короба.

Дополнительные работы
Включить систему регулирования клиренса.
Проввести процедуру РУУК
Миниатюры:
Нажмите на изображение для увеличения
Название: 10-222A.gif
Просмотров: 2616
Размер:	2.4 Кб
ID:	12107   Нажмите на изображение для увеличения
Название: 9700.gif
Просмотров: 2586
Размер:	2.7 Кб
ID:	12108   Нажмите на изображение для увеличения
Название: 97040.gif
Просмотров: 2594
Размер:	1.7 Кб
ID:	12109   Нажмите на изображение для увеличения
Название: T10187.gif
Просмотров: 2554
Размер:	3.1 Кб
ID:	12110   Нажмите на изображение для увеличения
Название: VW552.gif
Просмотров: 2568
Размер:	2.7 Кб
ID:	12111  

Нажмите на изображение для увеличения
Название: 10010259.gif
Просмотров: 2586
Размер:	7.3 Кб
ID:	12112   Нажмите на изображение для увеличения
Название: 40060008.gif
Просмотров: 2588
Размер:	11.2 Кб
ID:	12113   Нажмите на изображение для увеличения
Название: 40060009.gif
Просмотров: 2611
Размер:	11.3 Кб
ID:	12114   Нажмите на изображение для увеличения
Название: 10010199.gif
Просмотров: 2638
Размер:	25.9 Кб
ID:	12115   Нажмите на изображение для увеличения
Название: 40060004.gif
Просмотров: 2578
Размер:	31.0 Кб
ID:	12116  

Нажмите на изображение для увеличения
Название: 43300006.gif
Просмотров: 2555
Размер:	38.2 Кб
ID:	12117   Нажмите на изображение для увеличения
Название: 48790001.gif
Просмотров: 2634
Размер:	33.4 Кб
ID:	12118   Нажмите на изображение для увеличения
Название: 48900007.gif
Просмотров: 2557
Размер:	30.6 Кб
ID:	12119   Нажмите на изображение для увеличения
Название: 40060005.gif
Просмотров: 2604
Размер:	25.0 Кб
ID:	12120   Нажмите на изображение для увеличения
Название: 42050002.gif
Просмотров: 2572
Размер:	20.0 Кб
ID:	12121  

Нажмите на изображение для увеличения
Название: 40060006.gif
Просмотров: 2621
Размер:	20.1 Кб
ID:	12122   Нажмите на изображение для увеличения
Название: 40060007.gif
Просмотров: 2617
Размер:	30.1 Кб
ID:	12123   Нажмите на изображение для увеличения
Название: 40060001.gif
Просмотров: 2607
Размер:	37.2 Кб
ID:	12124   Нажмите на изображение для увеличения
Название: 44950028.gif
Просмотров: 2593
Размер:	31.5 Кб
ID:	12125   Нажмите на изображение для увеличения
Название: 40500002.gif
Просмотров: 2525
Размер:	21.3 Кб
ID:	12126  

Нажмите на изображение для увеличения
Название: 01010026.gif
Просмотров: 2610
Размер:	10.1 Кб
ID:	12127  

Метки
демонтаж, монтаж



Левый уголок Похожие темы Правый уголок
Тема Автор Раздел Ответов Последнее сообщение
[9PA1] Демонтаж и монтаж стартера 9PA V8 Владимир Маркин Система питания 27 21.01.2020 11:00
[9PA] Демонтаж и монтаж впускного коллектора 9PA V6 Владимир Маркин Двигатель 3 03.11.2018 00:25
[9PA] Демонтаж и монтаж фазовращателя V8 955 Владимир Маркин Двигатель 0 17.12.2015 14:59
[9PA] Демонтаж и монтаж термостата 9PA V6 Владимир Маркин Двигатель 0 15.06.2015 13:47
[9PA] Демонтаж/монтаж цепи ГРМ (9PA) 4.5 Владимир Маркин Двигатель 1 14.02.2015 14:35



Powered by vBulletin® Version 3.8.7
Copyright ©2000 - 2025, vBulletin Solutions, Inc. Перевод: zCarot
Все права на материалы, находящиеся на сайте, охраняются в соответствии с законодательством РФ.
При любом использовании материалов сайта, письменное согласие обязательно.
Торговые марки, логотипы и марки услуг, размещенные на данном сайте, являются собственностью их владельцев.
CayService.ru не связан с Porsche AG или PCNA. ©2025 CayService.ru. Все права защищены.
Яндекс.Метрика