Правила форума Clear

9PA1 производство 2007>>2010 (L) Проверка давления масла - проверка функционирования вариативного масляного насоса

26.06.2015, 23:19   #1
Владимир Маркин
Аватар для Владимир Маркин
Проверка давления масла - проверка функционирования вариативного масляного насоса V8 4.8

Технические значения
Температура измерения давления масла минимум Температура двигателя 90°C
Резьбовая пробка контрольного патрубка и адаптер датчика давления масла M10 x 1 (кол-во 1) момент затяжки 15 Nm
Отводной ролик с крышкой цепи ГРМ к верхней части блока цилиндров M10 x 90 (кол-во 1) момент затяжки 32 Nm +/-3 Nm
Натяжной элемент на рычаге M8 x 33 (кол-во 1) момент затяжки 32 Nm +/-3 Nm
Натяжной ролик на натяжном рычаге M10 x 28 (кол-во 1) момент затяжки 32 Nm +/-3 Nm
Рычаг в сборе на крышке кожуха ГРМ и ГБЦ M8 x 96 (кол-во 1) момент затяжки 32 Nm +/-3 Nm
Натяжитель ремня и крышка кожуха ГРМ на консоли M8 x 96 (кол-во 1) момент затяжки 32 Nm +/-3 Nm
Отводной ролик с крышкой кожуха ГРМ на ГБЦ M10 x 90 (кол-во 1) момент затяжки 32 Nm +/-3 Nm

Информация
Информация относительно функциональной проверки вариативного масляного насоса
информация

Для вариативного масляного насоса начиная с версии 19.000 возможна проверка в виде краткого теста с помощью тестера PIWIS. Если в тестере PIWIS краткий тест не отображается, следует обновить программное обеспечение для блока управления DFI.
Если для дальнейших проверок дополнительно подключается манометр для измерения давления масла, следовать руководству, начиная с "Предварительные работы".

1. Провести краткий тест "Вариативный масляный насос" в DME. Краткий тест возможен при температуре масла начиная с 60°C.
1.1. Запустить двигатель.
1.2. Выбрать краткий тест "Вариативный масляный насос" в DME.
1.3. В соответствии с указаниями одновременно нажать на педаль акселератора и тормоза и держать обе педали нажатыми. Производится короткий тест, при показании прибора i.O. (в норме) или n.i.O. (не в норме) тест завершен.

Предварительные работы

информация
На автомобилях с записями о неисправности в блоке управления DME (в том числе горящая предупредительная лампа в комбинации приборов) относительно давления масла, управления масляным насосом, контроля давления масла и т.д., необходимо действовать следующим образом:
Проверить уровень масла.
Удалить соответствующие неисправности.
Не менять компоненты, такие как масляный насос, датчик давления масла или клапан регулировки давления масла по подозрению.
В случае длительной стоянки автомобиля (месяцы), масляный насос в регулировочном механизме может прихватить (“залипнуть”).
В случае интенсивной эксплуатации на короткие расстояния и эксплуатации в режиме погрузки-разгрузки/маневрирования, возможно значительное разжижение масла => очень низкое давление масла. Например, 20 последовательных холодных запусков могут привести к падению вязкости моторного масла на 30%.
Выполнить замену моторного масла. Выполнить на автомобиле пробную поездку.
В случае повторных сообщений о неисправности / предупредительных сообщений действовать согласно Ведомому поиску неисправностей в тестере PIWIS.

1. Снять Y-образный патрубок или впускные каналы перед дроссельной заслонкой, при этом обеспечивается свободный доступ к приводному ремню или датчику давления масла.
2. Снять приводной ремень в области нижнего отводного ролика.
3. Снять маслоизмерительный щуп с направляющей трубкой. Собрать ветошью вытекающее моторное масло.

Кожух маслопровода с навесными компонентами
1 - Направляющая трубка
2 - Уплотнительное кольцо круглого сечения
3 - Винт M6 x 16
4 - Масломерный щуп
5 - Уплотнительное кольцо круглого сечения
6 - Винт M6 x 25; крышка кожуха ГРМ к кожуху маслопровода
7 - Датчик уровня масла
8 - Уплотнительное кольцо круглого сечения
9 - Уплотнительный фланец
10 - Винт M6 x 20
11 - Винт M6 x 16
A - Направление движения

4. Снять направляющий ролик между демпфером крутильных колебаний и генератором. Для этого отжать крышку маленькой отверткой и открутить винт. Снять направляющий ролик с винтом.

Ременный привод
1 - Обводной ролик
2 - Гидравлический натяжитель ремня; натяжной элемент к рычагу
3 - Винт M8 x 96 ; рычаг в сборе к крышке газораспределительного механизма и ГБЦ
4 - Обводной ролик
5 - Двойной поликлиновой ремень

Инструменты и материалы

Инструменты

Устройство для измерения давления масла
1 - Устройство для измерения давления масла V.A.G 1342 VAS product
2 - Уплотнительное кольцо
3 - Адаптер

информация
Давление масла может быть слишком низким по следующим причинам:
из-за разжижения масла (например, смешение масла с топливом при многократных холодных запусках без последующего прогревания двигателя).
-из-за неисправного масляного насоса.
-из-за слишком большого зазора в подшипниках (например, в коренных подшипниках).
-из-за слишком низкого уровня масла.
-из-за неисправного клапана регулировки давления масла.
-из-за неисправного датчика давления масла.
-из-за применения неподходящего масла. Осуществлять проверку только с использованием масла, рекомендованного Porsche.

информация
Давление масла может быть слишком высоким по следующим причинам:
-из-за загустевания масла или из-за очень холодного масла после холодного старта при высоких оборотах двигателя.
-из-за неисправного масляного насоса.
-из-за неисправного механического предохранительного клапана масляного насоса (необходимо заменить масляный насос).
-из-за неисправного клапана регулировки давления масла.
Отсоединение кабельного разъема клапана регулировки давления масла или обрыв провода к блоку управления (давление масла может составлять до 11 бар, двигатель теряет приблизительно 10 кВт мощности)
-из-за неисправного датчика давления масла.
-из-за применения неподходящего масла. Осуществлять проверку только с использованием масла, рекомендованного Porsche.

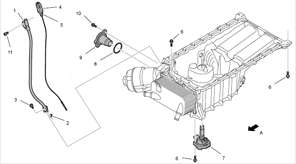
1. Вывинтить резьбовую пробку контрольной точки. При этом следить, чтобы уплотнительное кольцо не упало. Собрать ветошью вытекающее моторное масло.

Датчик давления и точка замера давления масла
1 - Адаптер датчика давления масла
2 - Уплотнительное кольцо круглого сечения
3 - Датчик давления масла с встроенным температурным датчиком
4 - Винт M6 x 40
5 - Заглушка; контрольный патрубок
6 - Уплотнительное кольцо
A - Направление движения

2. Прикрутить адаптер масляного манометра с уплотнительным кольцом к контрольной точке. Аккуратно затянуть, макс. 10 Нм.
3. Прикрутить масляный манометр к адаптеру. Фиксировать вильчатым гаечным ключом от прокручивания.
4. Установить масляный манометр в позицию вверх. При этом следить, чтобы шланг не соприкасался с вращающимися деталями.
5. Для измерения установить отводной ролик, масляный щуп с трубкой, приводной ремень и впускной коллектор.
6. Удостовериться, что измерительный шланг не соприкасается с вращающимися деталями, и положение манометра позволяет считывать с него информацию.
7. Подключить тестер PIWIS. Подключить зарядное устройство АКБ.

Просмотреть память неисправностей DME и устранить неисправности.
С помощью тестера PIWIS считать в DME фактические значения давления масла, температуры двигателя и частоты вращения коленвала. Давление масла, отображаемое тестером PIWIS всегда выше, чем на манометре - на величину атмосферного давления (в зависимости от высоты на уровнем моря, например, 1000 гПа).
Показания давления на масляном манометре и в тестере PIWIS с учетом атмосферного давления должны совпадать.
Показания давления на масляном манометре изменяются с большими задержками, чем в тестере PIWIS. Значение измерения в PIWIS тестере очень быстро меняется. Сопоставление показаний двух измерительных приборов дает исчерпывающую информацию.
Измеренное давление масла в различных диапазонах измерений остается почти постоянным. Масляный манометр лишь подтверждает правильность показаний датчика давления масла.
Проверка цепи регулирования системы регулируемого насоса выполняется тестером PIWIS в качестве краткого теста.

8. Завести двигатель и прогреть до температуры измерения. → Температура двигателя: 90°C
Измеряемые величины (примерные величины)
Холодный старт (например, 24°C), мгновенное повышение, кратковременно до 8 бар (масляный манометр).
После холодного старта давление масла падает кратковременно до 3 бар (масляный манометр) – 4000 гПа (тестер PIWIS).
Фаза прогрева, холостой ход – давление падает с 3 до 1,8 бар (масляный манометр) – с 4000 до 2800 гПа (тестер PIWIS)
При температуре двигателя 90°C, холостой ход – 1,5-1,6 бар (масляный манометр) – 2600 гПа (тестер PIWIS).
При температуре двигателя 90°C, 1000 об/мин – 2,8 бар (масляный манометр) – 3800 гПа (тестер PIWIS).
При температуре двигателя 90°C, от 2000 до 4000 об/мин давление масла почти постоянное – 3 бар (масляный манометр) – 4000 гПа (тестер PIWIS). Величина может колебаться на 0,1 бар (100 гПа).

Дополнительные работы
1. Снова снять масляный манометр и адаптер.
2. Снова установить резьбовую пробку с новым уплотнительным кольцом. → момент затяжки: 15 Nm
3. Установить отводной ролик между гасителем колебаний и генератором. Затянуть винт. Прижать крышку.

Ременный привод
1 - Отводной ролик → момент затяжки: 32 Nm+/-3 Nm
2 - Гидравлический натяжитель ремня ; натяжной элемент на рычаге → момент затяжки: 32 Nm+/-3 Nm ; натяжной ролик на натяжном рычаге → момент затяжки: 32 Nm+/-3 Nm
3 - Винт M8 x 96 ; рычаг в сборе на крышке кожуха ГРМ и ГБЦ → момент затяжки: 32 Nm+/-3 Nm ; натяжитель ремня и крышка кожуха ГРМ на консоли → момент затяжки: 32 Nm+/-3 Nm
4 - Отводной ролик → момент затяжки: 32 Nm+/-3 Nm
5 - Двойной поликлиновой ремень

4. Установить маслоизмерительный щуп с направляющей трубкой и с новым уплотнительным кольцом.
5. Установить приводной ремень.
6. Установить Y-образную трубу или впускные трубы перед дроссельной заслонкой.
Миниатюры:
Нажмите на изображение для увеличения
Название: VAG 1342.png
Просмотров: 4170
Размер:	237.2 Кб
ID:	14629   Нажмите на изображение для увеличения
Название: Кожух маслопровода с навес. комп..png
Просмотров: 4265
Размер:	41.8 Кб
ID:	14630   Нажмите на изображение для увеличения
Название: Ременный привод.png
Просмотров: 4213
Размер:	45.9 Кб
ID:	14631   Нажмите на изображение для увеличения
Название: Устройство для измер. давления масла.png
Просмотров: 4236
Размер:	19.9 Кб
ID:	14632   Нажмите на изображение для увеличения
Название: Датчик давл. и точка замера давл. масла.png
Просмотров: 4289
Размер:	32.6 Кб
ID:	14633  

Нажмите на изображение для увеличения
Название: Адаптер в точке измерения.png
Просмотров: 4217
Размер:	53.0 Кб
ID:	14634   Нажмите на изображение для увеличения
Название: Устройство адаптера.png
Просмотров: 4196
Размер:	52.2 Кб
ID:	14635   Нажмите на изображение для увеличения
Название: Манометр на адаптере.png
Просмотров: 4215
Размер:	44.7 Кб
ID:	14636   Нажмите на изображение для увеличения
Название: Манометр.png
Просмотров: 4246
Размер:	76.7 Кб
ID:	14637  
05.06.2017, 09:57   #2
Максим321
Спасибо
23.06.2017, 15:03   #3
AnD_55
Это все хорошо, а где эта контрольное отверстие на атмосферном 4,5 моторе ? Рядом с датчиком давления?
23.06.2017, 15:37   #4
Владимир Маркин
Аватар для Владимир Маркин
Сообщение от AnD_55 Посмотреть сообщение
Это все хорошо, а где эта контрольное отверстие на атмосферном 4,5 моторе ?
Эта тема посвящена мотору 4.8. Почему Вы задаете этот вопрос для мотора 4.5?
Нужно создать отдельную тему для мотора 4.5
24.06.2017, 11:32   #5
AnD_55
Я поторопился, оказывается 4,8 атмосферный. Cayenne 2007 года. WP1ZZZ9PZ8LA38205
24.06.2017, 13:54   #6
Владимир Маркин
Аватар для Владимир Маркин
Сообщение от AnD_55 Посмотреть сообщение
Я поторопился, оказывается 4,8 атмосферный. Cayenne 2007 года. WP1ZZZ9PZ8LA38205
Добавил информацию.
15.12.2020, 21:43   #7
makima
поиском не нашел такой же темы для 955 4.5 Турбо.
можете поделится информацией?
16.12.2020, 15:22   #8
Владимир Маркин
Аватар для Владимир Маркин
Сообщение от makima Посмотреть сообщение
поиском не нашел такой же темы для 955 4.5 Турбо.
https://forum.cayservice.ru/showthre...81%D0%BB%D0%B0

Сообщение от makima Посмотреть сообщение
можете поделится информацией?
давно уже на форуме
31.07.2023, 20:28   #9
Vgv
@Владимир Маркин,
Добрый день,
Cayenne 4.8 957.
Есть проблема: появляется ошибка oil pressure monitoring failure.
Условия проявлении ошибки: горячее масло (20 минут работы двигателя минимум) обороты двигателя около 1500-2000 (при больших оборотах не появляется) Если на этих оборотах тащишься периодически загорается желтым.

Что сделано: заменили магнитный клапан, не помогло и поменяли масляный насос на новый. И тоже не помогло.

Потом перебирали двигатель, работает без нареканий сейчас.
Но ошибка осталась
Что сделали далее: поменяли магнитный клапан снова (так как все твердили в один голос что это ошибка активации насоса), проверили проводку, заменили датчик давления масла (на такой же как по вину, датчик б/у ставили), поменяли масло с 5w40 she’ll на 0w40 Mobil.
До переборки двигателя жрал масло вёдрами, сейчас два года уровень в норме и не изменяется совсем.

Уже и не понятно где искать, может, как опытный человек, сможете мысль какую нибудь подкинуть, где еще искать.
01.08.2023, 14:15   #10
Владимир Маркин
Аватар для Владимир Маркин
Сообщение от Vgv Посмотреть сообщение
Добрый день
Добрый день!

Сообщение от Vgv Посмотреть сообщение
Cayenne 4.8 957
VIN?

Сообщение от Vgv Посмотреть сообщение
появляется ошибка oil pressure monitoring failure.
Код неисправности в блоке управления?

Метки
вариативного масляного, давление, датчик, двигатель, контакт, масло, масляного насоса, мотор, недосмотреть, ошибка, пина, проверка давления масла, разъем



Левый уголок Похожие темы Правый уголок
Тема Автор Раздел Ответов Последнее сообщение
[9PA] Проверка уровня и долив масла ATF Владимир Маркин Трансмиссия, АКПП, МКПП 31 02.12.2024 18:33
[92A] Шины и аварийное колесо: Проверка состояния и давления в шинах Владимир Маркин Ходовая и подвеска 64 26.11.2024 21:25
[9PA] Уровень моторного масла: проверка Владимир Маркин Двигатель 33 23.09.2021 10:47
[9PA1] Демонтаж и монтаж насоса высокого давления двигателя 3,0 л дизель Владимир Маркин Система питания 0 15.05.2015 22:53
Налоговая self-проверка! Rhein Юридическая консультация для друзей 9 01.02.2010 15:58



Powered by vBulletin® Version 3.8.7
Copyright ©2000 - 2025, vBulletin Solutions, Inc. Перевод: zCarot
Все права на материалы, находящиеся на сайте, охраняются в соответствии с законодательством РФ.
При любом использовании материалов сайта, письменное согласие обязательно.
Торговые марки, логотипы и марки услуг, размещенные на данном сайте, являются собственностью их владельцев.
CayService.ru не связан с Porsche AG или PCNA. ©2025 CayService.ru. Все права защищены.
Яндекс.Метрика