Сообщение от
Kostin-M-I
Добрый день.
Добрый день!
Сообщение от
Kostin-M-I
есть ли какие то особенности по замене сайлентблоков?
Инструменты
Насадки нажимной головки T10205
Монтажное приспособление T10230
Технические значения
От нижней кромки крыла до центра оси. Контрольное значение 502 mm +/-10 mm
Предварительные работы
1. Поднять автомобиль
2. Снять нижний поперечный рычаг подвески
Инструменты и материалы
информация
Начиная с модельного года 2008 для опоры -A- параллельно появляются новые гидравлические опоры с увеличенным диаметром. Для этих опор следует использовать дополнительный комплект T10230/14-16.
Процесс выпрессовки и запрессовки одинаковый в случае обоих вариантов опор.
Замена
информация
Если устанавливается гидроопора/резинометаллическая опора, она должна быть вставлена в правильном положении. Т.е. установка должна производиться в горизонтальном положении “Пазов” по отношению к положению автомобиля (± 5°) . Дополнительно в случае гидроопоры -B- : установить широкой боковой стенкой сердцевины опоры к середине автомобиля. Положение автомобиля = автомобиль, стоящий на колесах.
Установить цилиндр с пустотелым поршнем и создать небольшое предварительное усилие, чтобы избежать смещения оправок. Еще раз проверить положение оправок.
Максимальное усилие запрессовки в конечном положении не должно превышать 60 кН.
3 резинометаллические опоры -A,B,C- меняются при снятом поперечном рычаге подвески.
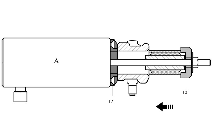
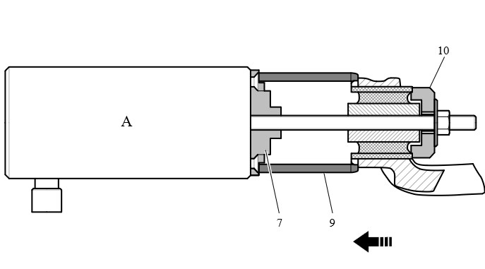
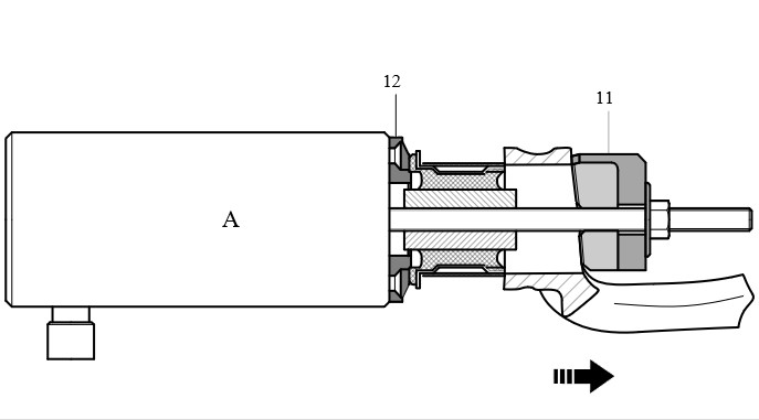
Для демонтажа используются оправки и цилиндр с пустотелым поршнем vas 6178. При этом в цилиндр с пустотелым поршнем вворачивается нажимная головка T10205/13. T10230/2 наворачивается на резьбовую штангу и при выпрессовке и запрессовке устанавливается в T10205/13. Гайка T10230/15 и шайба T10230/14 наворачиваются на противоположную сторону резьбовой штанги .
информация
При использовании оправок стрелка направления движения показывает направление запрессовки или выпрессовки резинометаллических опор в поперечном рычаге подвески.
информация
При запрессовке необходимо особенно следить за правильным положением оправки 11. Оправка 11 не должна перекрывать отверстие в рычаге!
Дополнительные работы
информация
Все резьбовые соединения оси следует затягивать при нормальном положении подвески. Нормальное положение подвески означает: автомобиль стоит на колесах или подвеска колеса поднята универсальным домкратом. Размер -X- , от нижней кромки крыла до центра колеса → Контрольное значение: 502 mm+/-10 mm соответствует нормальному положению автомобиля.
Визуально проверить все компоненты.
Заменить самоконтрящиеся гайки.
Заменить все болты, затягивающиеся на пределе свойств металла (болты, затягивающиеся на угол доворота).
Соблюдать момент и угол затяжки.
Следить за чистотой конических седел шаровых шарниров. При необходимости протереть неворсистой тканью. Не использовать чистящие средства.
1. Установить нижний поперечный рычаг подвески.
2. Установить колесо.
3. Проверить углы установки колес