Правила форума Clear

9PA производство 2003>>2006 (L) Демонтаж и монтаж гидротрансформатора 955

06.06.2023, 22:57   #1
Владимир Маркин
Аватар для Владимир Маркин
Предварительные работы

Предварительные работы с гидротрансформатором

1 Снять коробку передач Tiptronic.

Демонтаж гидротрансформатора

Монтаж гидротрансформатора

1 Картер гидротрансформатора очистить от подтеков масла.
Миниатюры:
Нажмите на изображение для увеличения
Название: Гидротрансформатор.jpg
Просмотров: 198
Размер:	41.1 Кб
ID:	67304  
06.06.2023, 22:59   #2
Владимир Маркин
Аватар для Владимир Маркин
Внимание
Повреждение насоса ATF из-за недопустимой установки
Срезать захват на шестерне насоса ATF

Точно выровнять канавки на втулке гидротрансформатора по отношению к захвату на шестерне насоса ATF

Медленный и осторожный монтаж гидротрансформатора

2 Перед монтажом выровнять гидротрансформатор таким образом, чтобы канавки гидротрансформатора совпадали с канавками захвата -стрелки- .

3 Медленно надвинуть гидротрансформатор на вал коробки передач до упора. Следить за тем, чтобы втулка гидротрансформатора была выровнена относительно захвата насоса ATF.
Миниатюры:
Нажмите на изображение для увеличения
Название: Захват насоса ATF - втулка гидротрансформатора.jpg
Просмотров: 196
Размер:	86.9 Кб
ID:	67305  
06.06.2023, 23:00   #3
Владимир Маркин
Аватар для Владимир Маркин
Информация
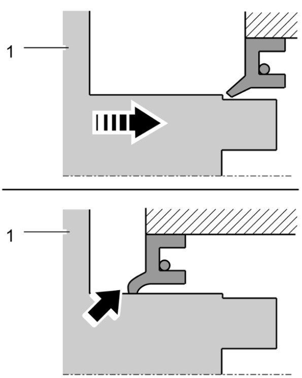
Обратить внимание на правильность посадки гидротрансформатора.

4 Гидротрансформатор установлен в правильном монтажном положении, если возможно установить специальный инструмент 9595 - стопорные штифты через отверстие в картере гидротрансформатора перед гидротрансформатором -лупа- .
Миниатюры:
Нажмите на изображение для увеличения
Название: Монтажное положение гидротрансформатора.jpg
Просмотров: 226
Размер:	68.0 Кб
ID:	67306  
06.06.2023, 23:01   #4
Владимир Маркин
Аватар для Владимир Маркин
Информация
В результате неверной последовательности монтажа гидротрансформатора появляются негерметичности. Для этого следовать указаниям по монтажу.

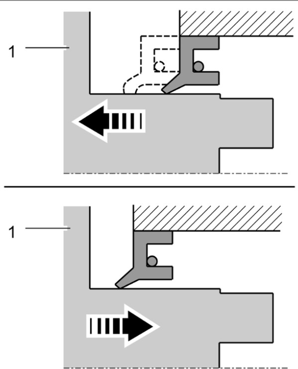
5 При установке гидротрансформатора -1- уплотнительная кромка сальника из-за выступа на гидротрансформаторе может -1- вывернуться. -стрелка снизу-
Миниатюры:
Нажмите на изображение для увеличения
Название: Смятая рабочая кромка уплотнителя.jpg
Просмотров: 186
Размер:	39.0 Кб
ID:	67307  
06.06.2023, 23:02   #5
Владимир Маркин
Аватар для Владимир Маркин
6 Вытянуть гидротрансформатор -1- прим. на 5 мм. Благодаря этому уплотнительное кольцо вала снова становится в правильное монтажное положение. Позиционирование рабочей кромки

7 Установка гидротрансформатора на вал коробки передач до упора
Миниатюры:
Нажмите на изображение для увеличения
Название: Позиционирование рабочей кромки.jpg
Просмотров: 173
Размер:	47.7 Кб
ID:	67308  
06.06.2023, 23:04   #6
Владимир Маркин
Аватар для Владимир Маркин
Информация
Обратить внимание на правильность посадки гидротрансформатора.

8 Гидротрансформатор установлен в правильном монтажном положении, если возможно установить специальный инструмент 9595 - стопорные штифты через отверстие в картере гидротрансформатора перед гидротрансформатором -лупа- .
Миниатюры:
Нажмите на изображение для увеличения
Название: Монтажное положение гидротрансформатора.jpg
Просмотров: 213
Размер:	66.1 Кб
ID:	67309  

Метки
гидротрансформатор, демонтаж, захват, канавка, монтаж, насос, предварительный, работа



Левый уголок Похожие темы Правый уголок
Тема Автор Раздел Ответов Последнее сообщение
[92A] Демонтаж и монтаж ведущего диска гидротрансформатора Владимир Маркин Двигатель 3 04.02.2023 15:03
[9PA] Демонтаж и монтаж форсунки Владимир Маркин Электрооборудование 0 28.10.2018 17:16
[92A] P1811/P1812 Муфта блокировки гидротрансформатора, температура, значение выше предельного Владимир Маркин Трансмиссия, АКПП, МКПП 0 23.10.2018 22:36
[92A] P0741/P0742 Муфта блокировки гидротрансформатора Владимир Маркин Трансмиссия, АКПП, МКПП 0 23.10.2018 22:17
[9PA] Демонтаж и монтаж теплообменника Владимир Маркин Система кондиционирования 1 10.03.2017 22:42



Powered by vBulletin® Version 3.8.7
Copyright ©2000 - 2025, vBulletin Solutions, Inc. Перевод: zCarot
Все права на материалы, находящиеся на сайте, охраняются в соответствии с законодательством РФ.
При любом использовании материалов сайта, письменное согласие обязательно.
Торговые марки, логотипы и марки услуг, размещенные на данном сайте, являются собственностью их владельцев.
CayService.ru не связан с Porsche AG или PCNA. ©2025 CayService.ru. Все права защищены.
Яндекс.Метрика