|
Демонтаж и монтаж датчика давления масла двигателя 4,8 л DFI
Предварительные работы
информация
На автомобилях с записями о неисправности в блоке управления DME (в том числе горящая предупредительная лампа в комбинации приборов) относительно давления масла, управления масляным насосом, контроля давления масла и т.д., необходимо действовать следующим образом:
Проверить уровень масла.
Удалить соответствующие неисправности.
Не менять компоненты, такие как масляный насос, датчик давления масла или клапан регулировки давления масла по подозрению.
В случае длительной стоянки автомобиля (месяцы), масляный насос в регулировочном механизме может прихватить (“залипнуть”).
В случае интенсивной эксплуатации на короткие расстояния и эксплуатации в режиме погрузки-разгрузки/маневрирования, возможно значительное разжижение масла => очень низкое давление масла. Например, 20 последовательных холодных запусков могут привести к падению вязкости моторного масла на 30%.
Выполнить замену моторного масла. Выполнить на автомобиле пробную поездку.
В случае повторных сообщений о неисправности / предупредительных сообщений действовать согласно Ведомому поиску неисправностей в тестере PIWIS.
1. Снять Y-образный патрубок или впускные каналы перед дроссельной заслонкой, при этом обеспечивается свободный доступ к приводному ремню или датчику давления масла.
2. Снять приводной ремень в области нижнего отводного ролика. Детали см.
3. Снять маслоизмерительный щуп с трубкой. -1-
Кожух маслопровода с навесными компонентами
1 - Направляющая трубка
2 - Уплотнительное кольцо круглого сечения
3 - Винт M6 x 16
4 - Маслоизмерительный щуп
5 - Уплотнительное кольцо круглого сечения
6 - Винт M6 x 25; крышка кожуха ГРМ к кожуху маслопровода
7 - Датчик уровня масла
8 - Уплотнительное кольцо круглого сечения
9 - Уплотнительный фланец
10 - Винт M6 x 20
11 - Винт M6 x 16
A - Направление движения
4. Снять отводной ролик между гасителем крутильных колебаний и генератором. Для этого отжать крышку маленькой отверткой и открутить винт. Снять отводной ролик с винтом. -1-
Ременный привод
1 - Обводной ролик
2 - Гидравлический натяжитель ремня; натяжной элемент к рычагу
3 - Винт M8 x 96 ; рычаг в сборе к крышке газораспределительного механизма и ГБЦ
4 - Обводной ролик
5 - Двойной поликлиновый ремень
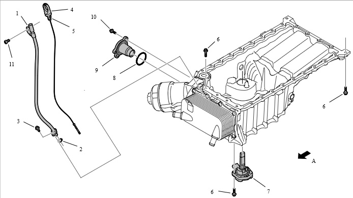
Демонтаж датчика давления масла
Снятие датчика давления масла
1. Отсоединить штекер кабеля датчика давления масла.
2. Положать ветошь вокруг деталей. Обеспечить сбор вытекающего масла.
3. Демонтировать датчик давления масла с помощью адаптера -3 и 1- . Для этого демонтировать винты -4- и снять компоненты. Заменить уплотнительные кольца.
Датчик давления масла и место замера давления масла
1 - Адаптер для датчика давления масла
2 - Уплотнительное кольцо круглого сечения
3 - Датчик давления масла с датчиком температуры
4 - Болт M6 x 40
5 - Заглушка; контрольный вывод
6 - Уплотнительное кольцо
A - Направление движения
Монтаж датчика давления масла
1. Очистить место установки датчика давления масла от следов масла.
информация
Не прокручивать датчик давления масла в адаптере. Опасность поломки!
Не ломать наконечник датчика! Устанавливать осторожно.
2. Датчик давления масла с адаптером и новым уплотнительным кольцом установить в монтажное положение -3 и 1- . Вставить оба винта -4- и закрутить.
Датчик давления масла и точка замера давления масла
1 - Адаптер датчика давления масла
2 - Уплотнительное кольцо круглого сечения
3 - Датчик давления масла с датчиком температуры
4 - Винт M6 x 40 → момент затяжки: 10 Nm
5 - Пробка → момент затяжки: 15 Nm
6 - Уплотнительное кольцо
A - Направление движения
3. Подсоединить кабельный разъем датчика давления масла.
Дополнительные работы
1. Установить отводной ролик между гасителем колебаний и генератором -1- . Отводной ролик с помощью винта присоединить и затянуть. Прижать крышку.
Ременный привод
1 - Отводной ролик → момент затяжки: 32 Nm+/-3 Nm
2 - Гидравлический натяжитель ремня ; натяжной элемент на рычаге → момент затяжки: 32 Nm+/-3 Nm ; натяжной ролик на натяжном рычаге → момент затяжки: 32 Nm+/-3 Nm
3 - Винт M8 x 96 ; рычаг в сборе на крышке кожуха ГРМ и ГБЦ → момент затяжки: 32 Nm+/-3 Nm ; натяжитель ремня и крышка кожуха ГРМ на консоли → момент затяжки: 32 Nm+/-3 Nm
4 - Отводной ролик → момент затяжки: 32 Nm+/-3 Nm
5 - Двойной поликлиновой ремень
2. Установить масляный щуп с трубкой -1- . Использовать новые уплотнительные кольца.
Кожух маслопровода с навесными компонентами
1 - Направляющая трубка
2 - Уплотнительное кольцо круглого сечения
3 - Винт M6 x 16 → момент затяжки: 10 Nm
4 - Маслоизмерительный щуп
5 - Уплотнительное кольцо круглого сечения
6 - Винт M6 x 25 ; крышка кожуха ГРМ и кожух маслопровода → момент затяжки: 12 Nm ; датчик уровня масла и кожух маслопровода → момент затяжки: 10 Nm ; кожух маслопровода и нижняя часть блока цилиндров → момент затяжки: 13 Nm
7 - Датчик уровня масла
8 - Уплотнительное кольцо круглого сечения
9 - Уплотнительный фланец
10 - Винт M6 x 20 → момент затяжки: 10 Nm
11 - Винт M6 x 16 → момент затяжки: 10 Nm
A - Направление движения
3. Установить приводной ремень.
4. Установить Y-образный патрубок или впускной коллектор.
Миниатюры:
|