Правила форума Clear

9PA1 производство 2007>>2010 (L) Схема разбора GTS спойлера 957

01.06.2020, 16:31   #1
meloman
Здравствуйте.

Владимир, поделитесь пожалуйста схемой
01.06.2020, 22:43   #2
Владимир Маркин
Аватар для Владимир Маркин
Сообщение от meloman Посмотреть сообщение
Здравствуйте.
Добрый день

Сообщение от meloman Посмотреть сообщение
Владимир, поделитесь пожалуйста схемой
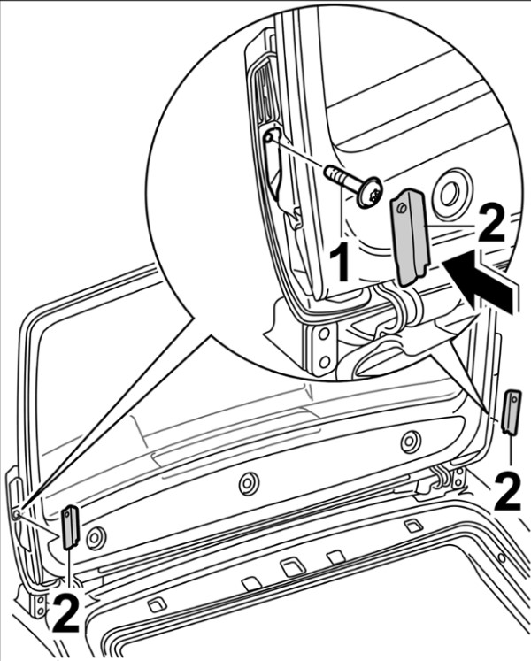
Во вложении...
Миниатюры:
Нажмите на изображение для увеличения
Название: Место установи заднего спойлера (Aerokit).jpg
Просмотров: 759
Размер:	45.7 Кб
ID:	31293   Нажмите на изображение для увеличения
Название: Отсоединение верхнего элемента заднего спойлера.jpg
Просмотров: 739
Размер:	69.1 Кб
ID:	31294   Нажмите на изображение для увеличения
Название: Отсоединение верхнего элемента.jpg
Просмотров: 797
Размер:	107.3 Кб
ID:	31295   Нажмите на изображение для увеличения
Название: Демонтаж верхнего элемента заднего спойлера.jpg
Просмотров: 782
Размер:	59.8 Кб
ID:	31296   Нажмите на изображение для увеличения
Название: Демонтаж нижнего элемента заднего спойлера.jpg
Просмотров: 756
Размер:	129.5 Кб
ID:	31297  

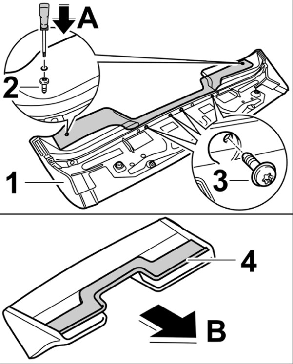
Нажмите на изображение для увеличения
Название: Монтаж нижнего элемента заднего спойлера.jpg
Просмотров: 806
Размер:	132.5 Кб
ID:	31298   Нажмите на изображение для увеличения
Название: Монтаж верхнего элемента заднего спойлера.jpg
Просмотров: 757
Размер:	58.7 Кб
ID:	31299   Нажмите на изображение для увеличения
Название: Закрепление верхнего элемента заднего спойлера.jpg
Просмотров: 760
Размер:	69.2 Кб
ID:	31300   Нажмите на изображение для увеличения
Название: Закрепление верхнего элемента.jpg
Просмотров: 751
Размер:	108.3 Кб
ID:	31301  
02.06.2020, 07:11   #3
meloman
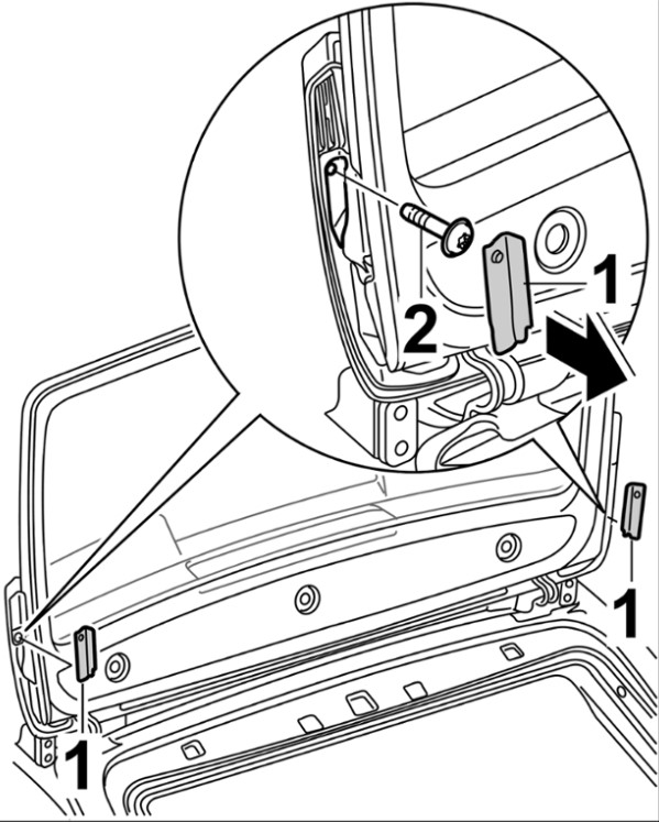
Спасибо.
Хочу покрасить спойлер, встал вопрос как именно снять вот эту часть. Она просто на скотче?
02.06.2020, 10:58   #4
Владимир Маркин
Аватар для Владимир Маркин
Разборка и сборка заднего спойлера (Aerokit)
Миниатюры:
Нажмите на изображение для увеличения
Название: Откручивание дополнительного спойлера.jpg
Просмотров: 774
Размер:	92.0 Кб
ID:	31309   Нажмите на изображение для увеличения
Название: Монтаж дополнительного спойлера.jpg
Просмотров: 754
Размер:	90.8 Кб
ID:	31310  

Метки
разбор, спойлер, схема



Левый уголок Похожие темы Правый уголок
Тема Автор Раздел Ответов Последнее сообщение
[970] Замена спойлера на Panamera S на спойлер GTS. Panama0001 Внешнее оснащение кузова 3 05.03.2020 22:32
[92A] Демонтаж и монтаж заднего спойлера 958 Владимир Маркин Внешнее оснащение кузова 0 04.06.2019 14:56
[9PA] Демонтаж и монтаж заднего спойлера 955 Владимир Маркин Внешнее оснащение кузова 1 08.05.2018 21:30
[991-1] Отключение спойлера darktroll Электрооборудование 1 17.03.2017 21:59
[92A] Установка спойлера Makarov Внешний вид 7 05.09.2015 23:37



Powered by vBulletin® Version 3.8.7
Copyright ©2000 - 2025, vBulletin Solutions, Inc. Перевод: zCarot
Все права на материалы, находящиеся на сайте, охраняются в соответствии с законодательством РФ.
При любом использовании материалов сайта, письменное согласие обязательно.
Торговые марки, логотипы и марки услуг, размещенные на данном сайте, являются собственностью их владельцев.
CayService.ru не связан с Porsche AG или PCNA. ©2025 CayService.ru. Все права защищены.
Яндекс.Метрика