Правила форума Clear

9PA1 производство 2007>>2010 (L) PORSCHE CAYENNE 957, ремонт 4.8, мотора единая тема - Страница 4

08.11.2015, 22:20   #31
_Vladimir_
Доброго времени суток! Собираю мотор 4,8 2007г. Получил мотор в разобранном виде. Не могу разобраться как устанавливать поршни, в PET разница между 1-4 и 5-8 есть, но визуально отличий найти не могу. подскажите пожалуйста как правильно установит поршни.

Добавлено через 3 минуты
Владимир Маркин, Доброго времени суток! Собираю мотор 4,8 2007г. Получил мотор в разобранном виде. Не могу разобраться как устанавливать поршни, в PET разница между 1-4 и 5-8 есть, но визуально отличий найти не могу. подскажите пожалуйста как правильно установит поршни.
08.11.2015, 23:02   #32
Дмитрий 51
замена цепи на S-ке 2003 сколько обойдётся?
22.11.2016, 07:49   #33
sto
подскажите пожалйуста на м48,01 момент и порядок затяжки болтов крышек вкладышей коленвала и шатунов
22.11.2016, 13:13   #34
Владимир Маркин
Аватар для Владимир Маркин
Сообщение от sto Посмотреть сообщение
подскажите пожалйуста на м48,01 момент и порядок затяжки вкладышей коленвала и шатунов
https://forum.cayservice.ru/showthread.php?t=7428
https://forum.cayservice.ru/showthre...775#post109775
23.11.2016, 13:27   #35
sto
Не смог найти информацию на м48,01 по затяжке плиты подшипников коленвала (момент, порядок)? Подскажите пожалуйста!
23.11.2016, 14:22   #36
Владимир Маркин
Аватар для Владимир Маркин
Последовательность затяжки винтов постели коренных подшипников
1 по 20 - Последовательность затяжки винтов M11 и M10 => учитывать разные моменты затяжки!
A - Направление движения

Нижняя часть блока цилиндров
1 - Нижняя часть блока цилиндров
2 - Цилиндрический штифт 6 x 18
3 - Уплотнительное кольцо круглого сечения
4 - Нанесение герметика Doboseal 224N (999.915.573.43 по состоянию на 09/08)
5 - Винт M11 постели подшипников; затянуть винты в течение 5 минут; соблюдать последовательность затяжки! → Предварительная затяжка: 30 Nm → Угол затяжки: 90°
6 - Винт M10 постели подшипников; затянуть винты в течение 5 минут; соблюдать последовательность затяжки! → Предварительная затяжка: 22 Nm → Угол затяжки: 60°
7 - Алюминиевый винт M8 x 70 ; (резьбовое соединение винтами с корончатыми головками); алюминиевые винты всегда менять; порядок затяжки по аналогии со стальными винтами → Предварительная затяжка: 10 Nm и → Окончательная затяжка: 90°
8 - Винт M8 x 35 → Момент затяжки: 23 Nm
9 - Винт M8 x 50 → Момент затяжки: 23 Nm
10 - Установочная втулка
A - Направление движения
Миниатюры:
Нажмите на изображение для увеличения
Название: Последовательность затяжки.png
Просмотров: 621
Размер:	78.4 Кб
ID:	13394   Нажмите на изображение для увеличения
Название: Нижняя часть блока цилиндров.png
Просмотров: 600
Размер:	57.8 Кб
ID:	13395   Нажмите на изображение для увеличения
Название: Затяжка (корончатые винты).png
Просмотров: 597
Размер:	118.6 Кб
ID:	13396  
23.11.2016, 14:29   #37
sto
Нескончаемое количество СПАСИБО!
24.01.2019, 21:28   #38
Владимир Маркин
Аватар для Владимир Маркин
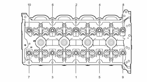
Последовательность затяжки ГБЦ

с 1 по 10
1-я затяжка > момент затяжки 30 Nm ; 2-я затяжка > момент затяжки 50 Nm ; ослабить 2 оборота > угол затяжки 720 ° ; 1-й проход >момент затяжки 30 Nm ; 2-й проход > момент затяжки 30 Nm ; 3-й проход и окончательная затяжка (угол затяжки) > угол затяжки 110 °
Миниатюры:
Нажмите на изображение для увеличения
Название: Последовательность затяжки ГБЦ.png
Просмотров: 556
Размер:	88.5 Кб
ID:	19579  
06.02.2019, 15:31   #39
strik
Владимир. подскажите пожалйуста моменты затяжек и порядок затяжки болтов крышек вкладышей коленвала, шатунов, плиты подшипников коленвала и крышки привода цепи ГРМ 48,01 957 TURBO
06.02.2019, 22:14   #40
Владимир Маркин
Аватар для Владимир Маркин
Сообщение от strik Посмотреть сообщение
Владимир. подскажите пожалйуста моменты затяжек и порядок затяжки болтов крышек вкладышей коленвала, шатунов, плиты подшипников коленвала и крышки привода цепи ГРМ 48,01 957 TURBO
В этой теме, выше, нет информации?

Метки
важно, винт, вкладыш, гильза, деть, добрый, затягивать, затяжка, коленвал, коренной, крышка, масло, момент, необходимый, подшипник, после, последовательность, прокладка, проход, стальной, стоять, угол, установить, цилиндр, шатун





Powered by vBulletin® Version 3.8.7
Copyright ©2000 - 2025, vBulletin Solutions, Inc. Перевод: zCarot
Все права на материалы, находящиеся на сайте, охраняются в соответствии с законодательством РФ.
При любом использовании материалов сайта, письменное согласие обязательно.
Торговые марки, логотипы и марки услуг, размещенные на данном сайте, являются собственностью их владельцев.
CayService.ru не связан с Porsche AG или PCNA. ©2025 CayService.ru. Все права защищены.
Яндекс.Метрика