Правила форума Clear

970 производство 2010>>2016 (L) Демонтаж и монтаж топливного насоса PORSCHE Panamera

07.06.2020, 15:54   #1
Владимир Маркин
Аватар для Владимир Маркин
Предварительные работы

Осторожно
Ядовитые вещества
Отравление или удушье
Ожоги глаз и кожи
Хорошо проветривать рабочее место.
Избегать проглатывания или вдыхания.
Соблюдать специфические указания на листе предупреждения об опасности.
Использовать средства индивидуальной защиты.
На рабочем месте не курить, не принимать пищу и напитки.

Осторожно
Легковоспламеняющиеся или взрывчатые вещества
Возгорание или взрыв
Избегать контакта с горячими деталями или источниками возгорания.
Обеспечить вытяжку паров топлива во избежание их воспламенения.
Установить хорошо заметную предупреждающую табличку.

Информация

Топливный фильтр встроен в правый модуль подключения, регулятор давления – в топливный насос (модуль подачи).

1 При необходимости опорожнить топливный бак.

1.1 Перед открытием фланцев под задним сиденьем следует опорожнить топливный бак. Если уровень топлива в баке находится ниже резерва, то можно не опорожнять топливный бак.

1 Демонтировать правую крышку -3- в отверстии кузова.

1.1 Снять и откинуть вверх правое заднее сиденье.

1.2 Снять правую крышку под задним сиденьем -3-. Для этого высвободить ковровое покрытие пола.
Миниатюры:
Нажмите на изображение для увеличения
Название: T10202.jpg
Просмотров: 1547
Размер:	17.6 Кб
ID:	31477   Нажмите на изображение для увеличения
Название: Крышки и отверстия в кузове.jpg
Просмотров: 1577
Размер:	58.0 Кб
ID:	31478  
07.06.2020, 15:57   #2
Владимир Маркин
Аватар для Владимир Маркин
Демонтаж топливного насоса

Осторожно
Ядовитые вещества
Отравление или удушье
Ожоги глаз и кожи
Хорошо проветривать рабочее место.
Избегать проглатывания или вдыхания.
Соблюдать специфические указания на листе предупреждения об опасности.
Использовать средства индивидуальной защиты.
На рабочем месте не курить, не принимать пищу и напитки.

Осторожно
Легковоспламеняющиеся или взрывчатые вещества
Возгорание или взрыв
Избегать контакта с горячими деталями или источниками возгорания.
Обеспечить вытяжку паров топлива во избежание их воспламенения.
Установить хорошо заметную предупреждающую табличку.

Информация

Топливный насос поставляется как запчасть в сборе с эжекционным насосом и комплектом трубопроводов (см. каталог запасных частей).

Схема подсоединения шлангов в примерном монтажном положении (компоненты лежат на полу в демонтированном состоянии)

1 Фланец вентиляции (положение под ковриком в багажном отсеке); с датчиком уровня
2 Фланец (слева по направлению движения под задним сиденьем)
3 Датчик уровня слева
4 Держатель левого эжекционного насоса
5 Эжекционный насос слева
6 Правый эжекционный насос
7 Разъем между эжекционными насосами
8 Держатель правого эжекционного насоса
9 Датчик уровня
10 Фланец (справа по направлению движения под задним сиденьем); включая фильтр
11 Топливный насос
12 Разъем между топливным насосом и фланцем вентиляции
Миниатюры:
Нажмите на изображение для увеличения
Название: Схема подсоединения шлангов.jpg
Просмотров: 1702
Размер:	30.0 Кб
ID:	31479  
07.06.2020, 16:20   #3
Владимир Маркин
Аватар для Владимир Маркин
1 Отсоединить правый фланец топливного бака под задним сиденьем.

1.1 Отсоединить соединения на правом фланце топливного бака. -1, 2 и 3- (3 только в случае автономного отопителя)

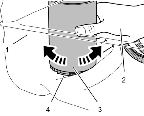
2 Демонтировать фланец с помощью T10202 - ключа. Специнструмент на кольце фланца

3 Поднять фланец и отсоединить все соединения. При этом пометить разъемы клейкой лентой (облегчение монтажа).

4 Топливный насос находится в топливном баке спереди справа по направлению движения (в переднем углу). Монтажное положение топливного насоса

5 Разблокировать датчик уровня и вынуть его из крепления. - 1-

6 Извлечь датчик уровня и отсоединить кабель. -1 и 2-

7 Разблокировать держатель эжекционного насоса и вынуть его из держателя. -1-

8 Пометить трубопроводы топливного насоса (помогает от перепутывания) и отсоединить их. -7 и 12-

9 Взяться рукой -1- в тонкой, нескользящей перчатке за топливный насос -2- через отверстие топливного бака и высвободить из донного фиксатора вращательным движением влево. Фиксатор топливного насоса на дне бака Заметить монтажное положение насоса (положение шлангов).

Фиксатор топливного насоса на дне бака
1 Топливный бак (представлен прозрачным)
2 Вставленная рука
3 Топливный насос
4 Донное крепление (байонетное кольцо)

10 Высвободить топливный насос. Сначала продеть трубопроводы в топливном баке с эжекционным насосом из отверстия.

11 Извлечь топливный насос. Топливный насос
Миниатюры:
Нажмите на изображение для увеличения
Название: Правый фланец.jpg
Просмотров: 1598
Размер:	45.2 Кб
ID:	31480   Нажмите на изображение для увеличения
Название: Специнструмент на кольце фланца.jpg
Просмотров: 1532
Размер:	59.7 Кб
ID:	31481   Нажмите на изображение для увеличения
Название: Монтажное положение топливного насоса.jpg
Просмотров: 1627
Размер:	65.9 Кб
ID:	31482   Нажмите на изображение для увеличения
Название: Держатель эжекционного насоса 2 и датчика уровня 1.jpg
Просмотров: 1578
Размер:	62.6 Кб
ID:	31483   Нажмите на изображение для увеличения
Название: Соединение кабеля датчика уровня.jpg
Просмотров: 1578
Размер:	66.9 Кб
ID:	31484  

Нажмите на изображение для увеличения
Название: Держатель эжекционного насоса....jpg
Просмотров: 1564
Размер:	59.0 Кб
ID:	31485   Нажмите на изображение для увеличения
Название: Воздействие.jpg
Просмотров: 1567
Размер:	57.5 Кб
ID:	31486   Нажмите на изображение для увеличения
Название: Фиксатор топливного насоса на дне бака.jpg
Просмотров: 1596
Размер:	38.8 Кб
ID:	31487   Нажмите на изображение для увеличения
Название: Топливный насос.jpg
Просмотров: 1554
Размер:	63.5 Кб
ID:	31488  
07.06.2020, 16:23   #4
Владимир Маркин
Аватар для Владимир Маркин
Монтаж топливного насоса

1 Монтаж осуществляется в обратной последовательности. При этом следить за тем чтобы помеченные при демонтаже трубопроводы снова прокладывались и монтировались правильно. Проверить плотность посадки фиксаторов потянув за них.

2 В случае повторного монтажа фланцев заменить уплотнения. Уплотнения фланцев

3 Смонтировать фланцы с помощью T10202 - ключа. Специнструмент на кольце фланца Момент затяжки 110 Nm

Дополнительные работы

1 Смонтировать крышку -3- в отверстии кузова.

1.1 Прижать крышку под задним сиденьем -3-. Обратить внимание на стрелку между крышкой и кузовом. Смонтировать коврик.

1.2 Смонтировать правое заднее сиденье.
Миниатюры:
Нажмите на изображение для увеличения
Название: Уплотнения фланцев.jpg
Просмотров: 1572
Размер:	57.2 Кб
ID:	31489   Нажмите на изображение для увеличения
Название: Специнструмент на кольце фланца.jpg
Просмотров: 1544
Размер:	59.9 Кб
ID:	31490   Нажмите на изображение для увеличения
Название: Крышки и отверстия в кузове.jpg
Просмотров: 1577
Размер:	58.0 Кб
ID:	31491  
11.08.2020, 11:13   #5
Саня54
Владимир доброго дня, подскажите, требуется ли адаптация или калибровка датчика уровня топлива, при замене насоса?
1 топливо сливалось не через насос
2 было слито порядка 25 литров
3 в настоящий момент при полном баке - показывает чуть более половины.
проехал более 800км с заправками и дозоправками, результат не изменился.
в бак лезть нет желания -- было повреждено три фильтра у быстросьема.
заранее спасибо за ответ
11.08.2020, 13:32   #6
Владимир Маркин
Аватар для Владимир Маркин
Сообщение от Саня54 Посмотреть сообщение
Владимир доброго дня
Добрый день!

Сообщение от Саня54 Посмотреть сообщение
подскажите, требуется ли адаптация или калибровка датчика уровня топлива, при замене насоса?
1 топливо сливалось не через насос
2 было слито порядка 25 литров
3 в настоящий момент при полном баке - показывает чуть более половины.
проехал более 800км с заправками и дозоправками, результат не изменился.
в бак лезть нет желания -- было повреждено три фильтра у быстросьема.
заранее спасибо за ответ
Какой VIN?
11.08.2020, 13:53   #7
Саня54
WP0ZZZ97ZBL003536
11.08.2020, 22:05   #8
Владимир Маркин
Аватар для Владимир Маркин
Сообщение от Саня54 Посмотреть сообщение
требуется ли адаптация или калибровка датчика уровня топлива, при замене насоса?
Нет
Сообщение от Саня54 Посмотреть сообщение
3 в настоящий момент при полном баке - показывает чуть более половины.
проехал более 800км с заправками и дозоправками, результат не изменился.
Как правило проблема с тем что некорректно уложены шланги в топливном баке, в связи с этим датчики уровня топлива упираются в эти шланги.
Миниатюры:
Нажмите на изображение для увеличения
Название: Низкое давление подачи топлива.png
Просмотров: 1597
Размер:	173.2 Кб
ID:	33671  

Метки
panamera, porsche, демонтаж, монтаж, насос, смонтировать, топливный, шланг



Левый уголок Похожие темы Правый уголок
Тема Автор Раздел Ответов Последнее сообщение
[970] Демонтаж и монтаж переднего приводного вала PORSCHE PANAMERA Владимир Маркин Ходовая и подвеска 2 10.12.2022 19:24
[970] Демонтаж и монтаж топливного фильтра PORSCHE Panamera Владимир Маркин Система питания 4 11.08.2020 11:48
[970] Демонтаж и монтаж сирены охранной сигнализации PORSCHE Panamera Владимир Маркин Электрооборудование 1 03.04.2020 17:53
[9PA1] Демонтаж и монтаж топливного насоса (в баке) двигателя 3,0 л дизель Владимир Маркин Система питания 0 02.12.2016 12:34
[9PA1] Демонтаж и монтаж топливного насоса (в баке) двигателей DFI Владимир Маркин Система питания 0 05.11.2016 13:47



Powered by vBulletin® Version 3.8.7
Copyright ©2000 - 2025, vBulletin Solutions, Inc. Перевод: zCarot
Все права на материалы, находящиеся на сайте, охраняются в соответствии с законодательством РФ.
При любом использовании материалов сайта, письменное согласие обязательно.
Торговые марки, логотипы и марки услуг, размещенные на данном сайте, являются собственностью их владельцев.
CayService.ru не связан с Porsche AG или PCNA. ©2025 CayService.ru. Все права защищены.
Яндекс.Метрика