Правила форума Clear

9PA1 производство 2007>>2010 (L) Демонтаж и монтаж форсунок (цилиндры 1-3) двигателя 3,0 л дизель

28.02.2017, 20:14   #1
Владимир Маркин
Аватар для Владимир Маркин
Технические значения
Крепежный винт держателя на крышке ГБЦ Момент затяжки 5 Nm
Крепежный винт держателя на крышке ГБЦ Момент затяжки 5 Nm
Крепежная гайка прихвата для форсунки Момент затяжки 10 Nm
Крепежный винт накладки форсунки Момент затяжки 5 Nm
Крепежный винт держателя на крышке ГБЦ Момент затяжки 5 Nm
Крепежный винт крышки ГБЦ Затянуть поэтапно крест-накрест Момент затяжки 9 Nm
Крепежная гайка прихвата Момент затяжки 10 Nm
Крепежный винт накладки форсунки Момент затяжки 5 Nm

Предварительные работы
1. Снимите облицовку двигателя (декоративную крышку).
2. Снимите шланг воздуховода справа на турбонагнетателе -стрелка- .
3. Снимите верхнюю часть корпуса воздушного фильтра.
4. Вынуть электрический разъем -стрелка- из держателя и отсоединить.
5. Разъедините электрические разъемы -с 1 по 6- и высвободите жгут проводов.
6. Снимите топливопровод (высокого давления) от топливной рампы к форсунке.

Информация
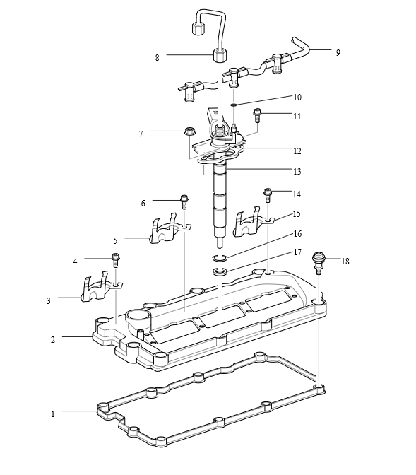
Обзор компонентов крышки ГБЦ
1 - Уплотнение крышки ГБЦ
2 - Крышка ГБЦ
3 - Держатель для электрического разъема
4 - Крепежный винт → Момент затяжки: 5 Nm
5 - Держатель редукционного клапана
6 - Крепежный винт → Момент затяжки: 5 Nm
7 - Крепежная гайка → Момент затяжки: 10 Nm
8 - Топливопровод (высокого давления)
9 - Обратный топливопровод
10 - Уплотнительное кольцо
11 - Крепежный винт → Момент затяжки: 5 Nm
12 - Прихват
13 - Форсунка
14 - Крепежный винт → Момент затяжки: 5 Nm
15 - Держатель электрического провода
16 - Уплотнительное кольцо
17 - Медное уплотнительное кольцо
18 - Крепежный винт крышки ГБЦ (с уплотнением) → Момент затяжки: 9 Nm

Демонтаж форсунок (цилиндры 1-3)

Осторожно
Горячее топливо и горячие топливопроводы.
Опасность ожога
Перед открытием соединений трубопроводов дать топливу остыть.
Использовать защитные перчатки.
Работать в защитных очках.

информация
При любых работах bis топливной системе прочитайте правила и указания по соблюдению чистоты.
Эти указания следует обязательно принимать во внимание до и во время проведения работ.

информация
Необходимо следить за чистотой, в демонтированные отводящие топливопроводы и разъемы форсунок не должны попасть загрязнения.
Если разъем отводящего топливопровода не извлекается наверх, открыть разъем путем проворота с помощью узкой отвертки -стрелки- .

1. Снимите соединения отводящих топливопроводов с форсунок, для этого потяните палец разблокировки вверх -стрелка- .

информация
Немедленно закройте открытые соединения подходящей крышкой.
Если форсунки и прихваты устанавливаются снова, пометьте снятые форсунки прихваты по цилиндрам. Применять их повторно допускается только на том же цилиндре.
Положите снятые форсунки на чистую, неворсистую ветошь.

Следующие рабочие операции с 2 по 5 представлены для примера на цилиндрах 4-6.
2. Выверните крепежные винты -стрелки- соответствующих накладок.
3. Потяните накладки вверх и поверните их на 90°.
4. Отверните крепежные гайки -стрелки- прихватов.
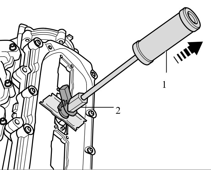
5. Вверните адаптер -2- в соединение топливопровода и выньте форсунки с помощью съемника ( -1- ) -стрелка- .

Монтаж форсунок (цилиндры 1-3)
1. В случае повторной установки старой форсунки, подготовить форсунку к монтажу.
1.1. Покройте кончик форсунки распыляемым очистителем ржавчины. Примерно через 5 минут удалите частицы сажи или масла с помощью ветоши.
1.2. В случае сильного загрязнения форсунки, для облегчения снятия медного уплотнительного кольца, дополнительно очистите кончик форсунки с помощью латунной щетки. При этом избегайте контакта латунной щетки с отверстиями распылителя.
1.3. Для демонтажа старого медного уплотнительного кольца с форсунки, осторожно зажать медное уплотнительное кольцо в тисках для того чтобы воспрепятствовать провороту медного уплотнительное кольцо с помощью зажимных щек. Вынуть форсунку из зажатого медного уплотнительного кольца руками легкими вращательными и вытягивающими движениями.
1.4. Очистите отложения под медным уплотнительным кольцом с помощью шабера.
1.5. Установите медное уплотнительное кольцо с помощью пластиковой втулки.
2. Заменить уплотнительное кольцо круглого сечения -2- соединения отводящего топливопровода. Для того чтобы при этом избежать повреждения уплотнительного кольца круглого сечения -2- , надвигайте новое уплотнительное кольцо круглого сечения -2- через монтажную оправку -1- .
3. Удалить частицы сажи на поверхности уплотнения форсунки на головке блока цилиндров. Для этого очистить нишу форсунки с помощью пропитанной моторным маслом или очистителем ржавчины тряпки. При этом не повреждать поверхность уплотнения.

информация
Следующие компоненты и уплотнения или уплотнительные кольца круглого сечения необходимо менять при каждом монтаже: медная шайба, уплотнительное кольцо круглого сечения ниши форсунки, уплотнительное кольцо круглого сечения соединения отводящего топливопровода. При замене форсунки дополнительно следует заменить прихват.
Перед выполнением монтажа все уплотнительные кольца круглого сечения должны быть покрыты монтажным маслом или моторным маслом.

4. Вставьте форсунку в отверстие головки блока цилиндров и вдавите ее до упора.

Следующие рабочие операции с 5 по 6 представлены для примера на цилиндрах 4-6.

5. Затяните крепежные гайки -стрелки- прихватов. → Момент затяжки: 10 Nm
6. Расположите накладки форсунок и затяните крепежные винты -стрелки- . → Момент затяжки: 5 Nm
7. Осторожно наденьте соединения обратных трубопроводов на форсунку через новое уплотнительное кольцо. Замок должен ощутимо зафиксироваться. Затем осторожно нажмите палец разблокировки вниз -стрелка- .

Дополнительные работы
1. Установите топливопроводы (высокого давления) от топливной рампы к форсунке.
2. Расположите жгут проводов и подсоедините электрические разъемы -с 1 по 6- .
3. Подсоединить и вдавить в держатель электрический разъем -стрелка- .
4. Установите верхнюю часть корпуса воздушного фильтра.
5. Установите шланг воздуховода справа на турбонагнетатель -стрелка- .
6. При замене форсунки необходимо записать в блок управления двигателя “Значение согласования количества впрыскиваемого форсункам топлива” и “Согласования напряжения форсунки (ISA)” для новой форсунки.

информация
Отворачивать соединения высокого давления для прокачки не допускается. Топливная система прокачивается самостоятельно.
Если в топливной системе еще имеется воздух, то во время пробной поездки двигатель может перейти в аварийный режим. Выключить двигатель, очистить память неисправностей и продолжить пробную поездку.

7. Прокачать топливную систему и выполнить проверку герметичности.
7.1. Дайте двигателю поработать несколько минут на холостом ходу, при этом не нажимать на педаль акселератора.
7.2. Выключите двигатель и зажигание.
7.3. Тщательно проверьте всю область высокого давления системы впрыска.
7.4. Затем проведите пробную поездку протяженностью более 20 км с минимум одним ускорением с полной нагрузкой. После этого необходимо еще раз проверить на герметичность область высокого давления
8. Установите облицовку двигателя (декоративную крышку).
Миниатюры:
Нажмите на изображение для увеличения
Название: Съемник.png
Просмотров: 827
Размер:	126.5 Кб
ID:	13826   Нажмите на изображение для увеличения
Название: Шланг воздуховода.png
Просмотров: 833
Размер:	133.5 Кб
ID:	13827   Нажмите на изображение для увеличения
Название: Электрический разъем.png
Просмотров: 812
Размер:	118.6 Кб
ID:	13828   Нажмите на изображение для увеличения
Название: Жгут проводов и разъемы.png
Просмотров: 806
Размер:	132.7 Кб
ID:	13829   Нажмите на изображение для увеличения
Название: Обзор компонентов.png
Просмотров: 826
Размер:	64.4 Кб
ID:	13830  

Нажмите на изображение для увеличения
Название: Разъемы трубопровода.png
Просмотров: 810
Размер:	120.0 Кб
ID:	13831   Нажмите на изображение для увеличения
Название: Топливопроводы соединения.png
Просмотров: 811
Размер:	120.6 Кб
ID:	13832   Нажмите на изображение для увеличения
Название: Крепежные винты накладок форсунок.png
Просмотров: 803
Размер:	78.6 Кб
ID:	13833   Нажмите на изображение для увеличения
Название: Крепежные гайки прихватов.png
Просмотров: 817
Размер:	90.2 Кб
ID:	13834   Нажмите на изображение для увеличения
Название: Извлечение форсунки.png
Просмотров: 801
Размер:	84.5 Кб
ID:	13835  

Нажмите на изображение для увеличения
Название: Уплотнительное кольцо на оправке.png
Просмотров: 775
Размер:	31.2 Кб
ID:	13836  

Метки
двигатель, демонтаж



Левый уголок Похожие темы Правый уголок
Тема Автор Раздел Ответов Последнее сообщение
[9PA1] Демонтаж и монтаж коленвала двигателя 4,8 л DFI Владимир Маркин Двигатель 3 17.07.2017 20:37
[9PA1] Демонтаж и монтаж топливного насоса (в баке) двигателя 3,0 л дизель Владимир Маркин Система питания 0 02.12.2016 12:34
[9PA1] Демонтаж и монтаж поршней двигателя 4,8 л DFI Владимир Маркин Двигатель 0 28.07.2016 14:59
[9PA1] Демонтаж и монтаж датчика температуры (ОЖ) двигателя 3,0 л дизель Владимир Маркин Двигатель 0 19.05.2016 20:20
[9PA1] Демонтаж и монтаж насоса высокого давления двигателя 3,0 л дизель Владимир Маркин Система питания 0 15.05.2015 22:53



Powered by vBulletin® Version 3.8.7
Copyright ©2000 - 2025, vBulletin Solutions, Inc. Перевод: zCarot
Все права на материалы, находящиеся на сайте, охраняются в соответствии с законодательством РФ.
При любом использовании материалов сайта, письменное согласие обязательно.
Торговые марки, логотипы и марки услуг, размещенные на данном сайте, являются собственностью их владельцев.
CayService.ru не связан с Porsche AG или PCNA. ©2025 CayService.ru. Все права защищены.
Яндекс.Метрика