Правила форума Clear

92A производство 2011>>2018 (K;L) Демонтаж и монтаж газоразрядной лампы PORSCHE Cayenne 958

02.02.2019, 20:16   #1
Владимир Маркин
Аватар для Владимир Маркин
Предварительные работы

1 Снять основную фару.

Демонтаж газоразрядной лампы

Уведомление

Неправильное обращение с лампами накаливания
Опасность повреждения лампы накаливания и корпуса лампы
Выключить зажигание и извлечь ключ зажигания.
При замене ламп накаливания следует отключить соответствующий потребитель.
Использовать только лампы накаливания указанные в обзоре.
Устанавливать только чистые лампы без следов жира и смазки.
При работах с лампами следует использовать ткань или мягкую бумагу.
При замене лампы накаливания биксеноновой фары соблюдать указания по безопасности.
В некоторых государствах наличие запасных ламп обязательно.

Информация

На рисунках ремонтные работы частично изображены лишь на примере одной стороны автомобиля или на аналогичном компоненте.
Некоторые рабочие операции следует самостоятельно выполнить также на противоположной стороне автомобиля.

1 Разблокировать крышку на обоих фиксаторах -A- и снять ее.

2 Разблокировать газоразрядную лампу путем вращения -стрелка- и осторожно вынуть ее из крепления.

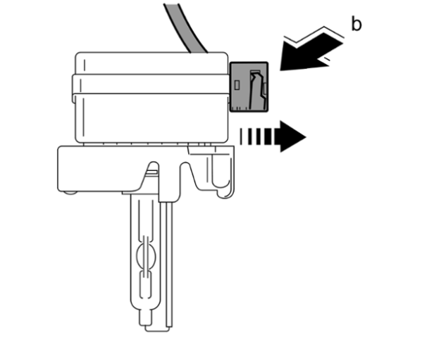
3 Разблокировать электрический разъем -b- и отсоединить его.

Монтаж газоразрядной лампы

1 Вставить электрический разъем на газоразрядной лампе до ощутимой фиксации разъема.

2 Осторожно вставить газоразрядную лампу в крепление и заблокировать ее путем поворота (байонетный замок) -стрелка-.

Информация
Проверить уплотнитель крышки.
Должна быть обеспечена герметичность.
В случае сомнения заменить крышку с уплотнителем.

3 Вставить крышку в предусмотренные язычки и закрыть ее до ощутимой фиксации крышки.

Дополнительные работы

1 Установить фары.
Миниатюры:
Нажмите на изображение для увеличения
Название: Место установки газоразрядной лампы.png
Просмотров: 750
Размер:	114.4 Кб
ID:	19698   Нажмите на изображение для увеличения
Название: Открытие крышки.png
Просмотров: 746
Размер:	376.6 Кб
ID:	19699   Нажмите на изображение для увеличения
Название: Разблокирование газоразрядной лампы.png
Просмотров: 747
Размер:	121.1 Кб
ID:	19700   Нажмите на изображение для увеличения
Название: Отсоединение электрического разъема.png
Просмотров: 730
Размер:	29.6 Кб
ID:	19701   Нажмите на изображение для увеличения
Название: Подсоединение разъема.png
Просмотров: 731
Размер:	25.8 Кб
ID:	19702  

Нажмите на изображение для увеличения
Название: Установка газоразрядной лампы.png
Просмотров: 758
Размер:	121.2 Кб
ID:	19703   Нажмите на изображение для увеличения
Название: Закрывание крышки.png
Просмотров: 756
Размер:	334.6 Кб
ID:	19704  
22.02.2019, 21:47   #2
Rss_team
Сообщение от Владимир Маркин Посмотреть сообщение
Предварительные работы

1 Снять основную фару.

Демонтаж газоразрядной лампы

Уведомление

Неправильное обращение с лампами накаливания
Опасность повреждения лампы накаливания и корпуса лампы
Выключить зажигание и извлечь ключ зажигания.
При замене ламп накаливания следует отключить соответствующий потребитель.
Использовать только лампы накаливания указанные в обзоре.
Устанавливать только чистые лампы без следов жира и смазки.
При работах с лампами следует использовать ткань или мягкую бумагу.
При замене лампы накаливания биксеноновой фары соблюдать указания по безопасности.
В некоторых государствах наличие запасных ламп обязательно.

Информация

На рисунках ремонтные работы частично изображены лишь на примере одной стороны автомобиля или на аналогичном компоненте.
Некоторые рабочие операции следует самостоятельно выполнить также на противоположной стороне автомобиля.

1 Разблокировать крышку на обоих фиксаторах -A- и снять ее.

2 Разблокировать газоразрядную лампу путем вращения -стрелка- и осторожно вынуть ее из крепления.

3 Разблокировать электрический разъем -b- и отсоединить его.

Монтаж газоразрядной лампы

1 Вставить электрический разъем на газоразрядной лампе до ощутимой фиксации разъема.

2 Осторожно вставить газоразрядную лампу в крепление и заблокировать ее путем поворота (байонетный замок) -стрелка-.

Информация
Проверить уплотнитель крышки.
Должна быть обеспечена герметичность.
В случае сомнения заменить крышку с уплотнителем.

3 Вставить крышку в предусмотренные язычки и закрыть ее до ощутимой фиксации крышки.

Дополнительные работы

1 Установить фары.
Владимир, доброго времени суток!

Подскажите, как снять фару? Специльным ключом повернул по часовой, вроде освобождается, но сверху как-будто что-то держит...боюсь сломать.
22.02.2019, 22:08   #3
Владимир Маркин
Аватар для Владимир Маркин
Сообщение от Rim Посмотреть сообщение
Владимир, доброго времени суток!
Добрый вечер!

Сообщение от Rim Посмотреть сообщение
Подскажите, как снять фару? Специльным ключом повернул по часовой, вроде освобождается, но сверху как-будто что-то держит...боюсь сломать.
https://forum.cayservice.ru/showthre...9479#post99479
https://forum.cayservice.ru/showthre...283#post124283

Метки
cayenne, porsche, газоразрядный, демонтаж, лампа, монтаж



Левый уголок Похожие темы Правый уголок
Тема Автор Раздел Ответов Последнее сообщение
[92A] Замена блока управления газоразрядной лампы Владимир Маркин Электрооборудование 38 19.08.2025 23:24
[9PA] Демонтаж и монтаж центральной консоли PORSCHE CAYENNE 955 Владимир Маркин Оснащение кузова - интерьер 0 29.01.2019 12:24
[9PA] Демонтаж и монтаж генератора PORSCHE CAYENNE S бабо56 Электрооборудование 1 08.12.2017 20:13
[92A] Демонтаж и монтаж клапана рециркуляции ОГ PORSCHE CAYENNE V6 DIESEL Владимир Маркин Система питания 0 14.11.2016 19:05
[9PA] Демонтаж и монтаж генератора PORSCHE CAYENNE V6 TIP. Владимир Маркин Система питания 0 20.05.2015 22:56



Powered by vBulletin® Version 3.8.7
Copyright ©2000 - 2025, vBulletin Solutions, Inc. Перевод: zCarot
Все права на материалы, находящиеся на сайте, охраняются в соответствии с законодательством РФ.
При любом использовании материалов сайта, письменное согласие обязательно.
Торговые марки, логотипы и марки услуг, размещенные на данном сайте, являются собственностью их владельцев.
CayService.ru не связан с Porsche AG или PCNA. ©2025 CayService.ru. Все права защищены.
Яндекс.Метрика