Правила форума Clear

970 производство 2010>>2016 (L) Контроль уровня моторного масла Panamera Diesel (970140)

08.08.2023, 23:02   #1
Владимир Маркин
Аватар для Владимир Маркин
Проверка уровня моторного масла

Осторожно
Горячая жидкость
Ожоги

Дать жидкости остыть.

Использовать средства индивидуальной защиты.

Уведомление
Неверный уровень масла
Неисправность двигателя или катализатора

Регулярно проверять уровень масла.

Уровень масла не должен опускаться ниже метки минимума или быть выше метки максимума.

Использовать только одобренные компанией Porsche моторные масла.

Информация
Измерение в комбинации приборов согласно руководству по эксплуатации после соблюдения условий является достаточным.

Условия проверки:

Температура моторного масла мин. 60°C

Автомобиль стоит горизонтально.

После выключения двигателя подождать несколько минут, чтобы масло могло стечь обратно в масляный поддон.
08.08.2023, 23:03   #2
Владимир Маркин
Аватар для Владимир Маркин
Порядок проверки.

1 Поле отметки на T40178B - Прибор для проверки индикатора уровня масла .
Миниатюры:
Нажмите на изображение для увеличения
Название: Поле отметки индикатора уровня масла.jpg
Просмотров: 2730
Размер:	38.9 Кб
ID:	69300  
08.08.2023, 23:04   #3
Владимир Маркин
Аватар для Владимир Маркин
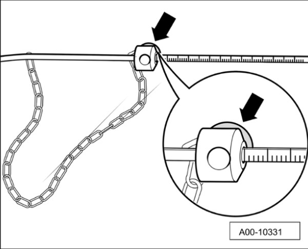
2 Путем отворачивания винта с накатанной головкой и смещения установочного кольца выставить на приборе для проверки указателя уровня масла на верхней шкале -стрелка- значение из таблицы по нижней кромке установочного кольца.

Задвинуть прибор для проверки индикатора уровня масла до упора (установочное кольцо) в трубку для маслоизмерительного щупа, затем снова извлечь его и считать уровень масла.
Миниатюры:
Нажмите на изображение для увеличения
Название: Установочное кольцо маслоизмерительного щупа.jpg
Просмотров: 2776
Размер:	40.8 Кб
ID:	69301  
08.08.2023, 23:04   #4
Владимир Маркин
Аватар для Владимир Маркин
3 Считать значения по нижней шкале.
Миниатюры:
Нажмите на изображение для увеличения
Название: Шкала маслоизмерительного щупа.jpg
Просмотров: 2726
Размер:	16.9 Кб
ID:	69302  
08.08.2023, 23:06   #5
Владимир Маркин
Аватар для Владимир Маркин
Двигатель 3,0 л дизель

Установочное значение на установочном кольце сверху 60 мм

Минимальный уровень масла на нижней шкале 0 мм

Максимальный уровень масла на нижней шкале 16 мм
08.08.2023, 23:06   #6
Владимир Маркин
Аватар для Владимир Маркин
Заправочные объемы масла

Уведомление
Неверный уровень масла
Неисправность двигателя или катализатора

Регулярно проверять уровень масла.

Уровень масла не должен опускаться ниже метки минимума или быть выше метки максимума.

Использовать только одобренные компанией Porsche моторные масла.
Заправочный объем масла с заменой масляного фильтра
MIN 6,7 л
MAX 7,7 литра
Разница MIN — MAX 1,0 л
Первоначальная заправка 8,7 л

Метки
diesel, panamera, кольцо, контроль, масло, моторный, нижний, проверка, уровень, установочный, шкала



Левый уголок Похожие темы Правый уголок
Тема Автор Раздел Ответов Последнее сообщение
[92A] Контроль уровня моторного масла CAYENNE TIP (92AAG1) Владимир Маркин Двигатель 3 26.12.2023 11:48
[92A] Контроль уровня моторного масла, Cayenne Diesel Tiptronic (92AAP1) Владимир Маркин Двигатель 3 25.11.2021 20:15
[92A] Неисправность индикации уровня моторного масла Cayenne Diesel Tiptronic (92AAP1) Stepan76 Двигатель 4 10.07.2020 16:29
[92A] Контроль уровня моторного масла Cayenne V6 Hybrid Владимир Маркин Двигатель 0 08.08.2019 20:00
[92A] Контроль уровня моторного масла Двигатель 4,2 л дизель Владимир Маркин Двигатель 0 21.01.2018 17:56



Powered by vBulletin® Version 3.8.7
Copyright ©2000 - 2025, vBulletin Solutions, Inc. Перевод: zCarot
Все права на материалы, находящиеся на сайте, охраняются в соответствии с законодательством РФ.
При любом использовании материалов сайта, письменное согласие обязательно.
Торговые марки, логотипы и марки услуг, размещенные на данном сайте, являются собственностью их владельцев.
CayService.ru не связан с Porsche AG или PCNA. ©2025 CayService.ru. Все права защищены.
Яндекс.Метрика