|   | 
			
			Измерение поршней (включая измерение внутреннего диаметра цилиндра)
 Размеры поршней и цилиндров
 Ремонтный размер в мм
 Базовый размер,
 Ø поршня, мм  82,924...82,936  1)
 Ø цилиндра, мм 83,006...83,014  2)
 1) Размеры без графитового покрытия (толщина 0,02 мм). Графитовое покрытие частично стирается.
 2) Измерять на глубине 50 мм в цилиндре.
 
 Ремонтная ступень
 Ø поршня, мм 82,964...82,976  1)
 Ø цилиндра, мм 83,046...83,054  2)
 1) Размеры без графитового покрытия (толщина 0,02 мм). Графитовое покрытие частично стирается.
 2) Измерять на глубине 50 мм в цилиндре.
 
 Измерение поршней (включает измерение цилиндра)
 
 Проверка теплового зазора поршневого кольца
 Задвинуть кольцо в цилиндр сверху перпендикулярно стенке цилиндра, установив его на расстоянии примерно 50 мм от кромки цилиндра. Для задвигания использовать поршень без колец
 
 Размеры поршневого кольца в мм
 1-ое компрессионное кольцо
 Новое состояние, мм 0,25 … 0,40
 Предел износа, мм 0,60
 
 2-ое компрессионное кольцо
 Новое состояние, мм 0,70 … 0,90
 Предел износа, мм 1,20
 
 Маслосъемное кольцо
 Новое состояние, мм 0,25 ... 0,50
 Предел износа, мм 0,70
 
 Проверка зазора высоты поршневого кольца
 Перед проверкой очистить кольцевой паз поршня.
 
 Размеры поршневого кольца в мм
 1-ое компрессионное кольцо
 Новое состояние, мм 0,009 … 0,130
 Предел износа, мм 0,160
 
 2-ое компрессионное кольцо
 Новое состояние, мм 0,050 … 0,090
 Предел износа, мм 0,110
 
 Маслосъемное кольцо
 Новое состояние, мм 0,030 … 0,070
 Предел износа, мм 0,100
 
 Проверка поршня
 Измерить с помощью внешнего микрометра на 75 … 100 мм прим. в 10 мм от нижней кромки, под углом 90° к оси поршневого пальца.
 Макс. отклонение от номинального размера: 0,05 мм.
 
 Ремонтный размер в мм
 Базовый размер
 Ø поршня, мм 82,924 ... 82,936  1)
 
 Ремонтная ступень
 Ø поршня, мм 82,964 ... 82,976  1)
 
 1) Размеры без графитового покрытия (толщина 0,02 мм). Графитовое покрытие частично стирается.
 
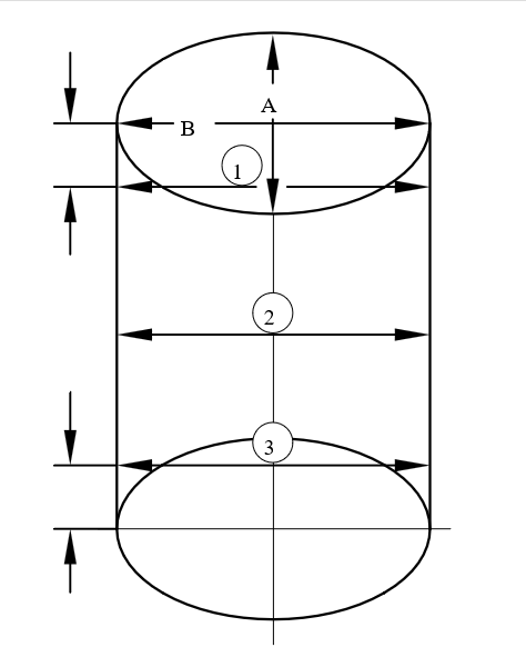
 Проверка отверстия цилиндра
 Измерить нутромером на 50 … 100 мм в 3 местах крест-накрест в поперечном направлении -A- und в продольном направлении -B- .
 Макс. отклонение от номинального размера: 0,08 мм.
 
 Ремонтный размер в мм
 Базовый размер
 Ø цилиндра, мм 83,006 ... 83,014
 
 Ремонтная ступень
 Ø цилиндра, мм 83,046 ... 83,054
 
 Маркировка прокладки головки блока цилиндров
 Номер детали -стрелка 1-
 Отверстия -стрелка 2-
 
 Соответствие: прокладка ГБЦ — выступание поршня
 Выступание поршня над верхней кромкой блока цилиндров
 0,835 ... 0,97 Маркировка отверстиями 1
 0,97 ... 1,02 Маркировка отверстиями 2
 1,02 ... 1,13 Маркировка отверстиями 3
 
 информация
 Прокладки левой и правой головки блока цилиндров не могут быть перепутаны благодаря различной форме.
 Миниатюры:           
 
   |