Правила форума Clear

970 производство 2010>>2016 (L) Опорожнение и наполнение системы регулирования дорожного просвета PORSCHE Panamera

12.04.2017, 21:36   #1
Владимир Маркин
Аватар для Владимир Маркин
Указаниям по обращению с автомобилями с опорожненной системой пневматической подвески на СТО

информация
Автомобили, которые были подняты с опорожненной системой пневматической подвески, не допускается ставить на колеса и перемещать в режиме движения.
В результате подъема автомобиля с пустыми пневматическими амортизационными стойками в пневмоэлементах возникает разрежение. После опускания автомобиля на пол, на чехлах пневматических амортизационных стоек могут возникнуть складки. Это приводит к преждевременному выходу пневматических амортизационных стоек из строя.
Если автомобиль передвигался в “режиме движения” с одним или несколькими опорожненными пневмоэлементами, то этот/эти пневмоэлементы необходимо заменить.
При обращении с системами пневматической подвески соблюдать абсолютную чистоту.

Следующий процесс выполняется только при опускании автомобиля на колеса и последующем “длительном маневрировании” автомобиля

Если после считывания памяти неисправностей и возможного поиска неисправностей по плану поиска неисправностей (в случае неочевидных неисправностей), следует действовать следующим образом:
1. Отсоединить на блоке клапанов пневматические трубопроводы исправных пневматических амортизационных стоек. Блок клапанов системы регулирования дорожного просвета смонтирован с левой стороны позади задней оси на нише пола багажного отсека.
2. К каждому исправному пневмоэлементу подключить адаптер (клапан).
3. Подсоединить трубопровод подключения с баллоном с азотом и редуктор VAS product (на рисунке адаптер смонтирован на правой передней амортизационной стойке).
4. Наполнить каждый исправный пневмоэлемент давлением → Давление: +7 bar+1 bar. Удалить трубопровод подключения и баллон с азотом. Теперь возможно маневрирование автомобиля по СТО.

По завершении ремонтных работ следовать указаниям в главе Опорожнение и наполнение нескольких компонентов или ресивера.

Опорожнение и наполнение пневмоэлемента
Опорожнение пневмоэлемента без потери объема воздуха в системе

Эта функция служит для опорожнения при работах по одному пневмоэлементу или по трубопроводам одного пневмоэлемента. Ресивер может принять объем воздуха максимум одной пневматической амортизационной стойки.

Выключение системы регулирования дорожного просвета:
– Включить зажигание.
– Удерживать кнопку высокого уровня в течение минимум → Время: +10 s.

1. Поднять автомобиль.
2. В обзоре блоков управления выбрать >>Система регулирования дорожного просвета/PASM<<>>Обслуживание/ремонт<<>>Замена одного пневмоэлемента<<. Выбрать соответствующий пневмоэлемент и >>Выпустить воздух<<. Следовать указаниям системного тестера Porsche.
3. По завершении ремонтных работ в обзоре блоков управления выбрать >>Система регулирования дорожного просвета/PASM<<>>Обслуживание/ремонт<<>>Замена одного пневмоэлемента<< и >>Наполнить<<. Следовать указаниям системного тестера Porsche.

Опорожнение и наполнение нескольких компонентов или ресивера
Опорожнение нескольких компонентов или ресивера с потерей части объема воздуха в системе

Эта функция служит для опорожнения при работах по системе и/или ресиверу. При этом теряется часть объема воздуха в системе.

1. В обзоре блоков управления выбрать >>Система регулирования дорожного просвета/PASM<<>>Обслуживание/ремонт<<>>Замена нескольких компонентов или ресивера<< и >>Выпустить воздух<<. Следовать указаниям системного тестера Porsche.
2. По завершении ремонтных работ в обзоре блоков управления выбрать >>Система регулирования дорожного просвета/PASM<<>>Обслуживание/ремонт<<>>Замена нескольких компонентов или ресивера<< и >>Наполнить<<. Следовать указаниям системного тестера Porsche. Обязательно обратить внимание на главу “Наполнение”!

Информация

Наполнение

информация
Систему пневматической подвески допускается наполнять только азотом 5.0.
Использовать баллон с газом с соответствующим блоком редуктора и манометром.
Наполнить систему пневматической подвески до давления минимум → Давление: +16 bar.
Наполнить систему пневматической подвески под давлением максимум → Давление: +17 bar
Колеса должны быть вывешены.
Включить зажигание.

Система пневматической подвески наполняется из пневматического трубопровода спереди справа. После того, как наполнение с помощью баллона с азотом завершено, из ресивера наполняется передняя правая пневматическая амортизационная стойка.

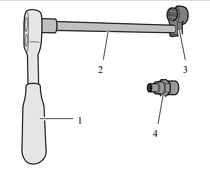
Инструмент для наполнения и опорожнения пневмоэлементов
1 - Трещотка на 1/4 дюйма
2 - Удлинитель
3 - Вставная деталь
4 - Адаптер

1. Демонтировать декоративную крышку спереди справа над чашкой амортизационной стойки и отсоединить трубопровод передней правой пневматической амортизационной стойки -2- .
1.1. Подсоединить адаптер -1- и трубопровод подключения с баллоном с азотом и редуктор VAS product.
1.2. Открыть баллон с газом и установить → Давление: 17 bar на максимальное значение (на рисунке представлен пример!)
2. Подключить системный тестер Porsche и выбрать в обзоре блоков управления >>Система регулирования дорожного просвета/PASM<<>>Обслуживание/ремонт<<>>Замена нескольких компонентов или замена ресивера<< и выполнить >>Наполнение<<. Следовать указаниям системного тестера Porsche.
3. Смонтировать пневматический трубопровод спереди справа. Завершить >>Наполнение<<. Следовать указаниям системного тестера Porsche.
4. Смонтировать декоративную крышку спереди справа над чашкой амортизационной стойки.
Миниатюры:
Нажмите на изображение для увеличения
Название: Вворачивание специнструмента.png
Просмотров: 1709
Размер:	87.0 Кб
ID:	14152   Нажмите на изображение для увеличения
Название: Инструмент.png
Просмотров: 1614
Размер:	33.8 Кб
ID:	14153   Нажмите на изображение для увеличения
Название: Трубопровод пневмоэлемента.png
Просмотров: 1592
Размер:	82.6 Кб
ID:	14154   Нажмите на изображение для увеличения
Название: Пример на рис..png
Просмотров: 1615
Размер:	92.9 Кб
ID:	14155  
13.12.2019, 22:05   #2
Кот Вася
Аватар для Кот Вася
Владимир , скажите пожалуйста , как заполнится стойка азотом (правая передняя)если она будет отключена во время заправки азотом всей системы ?
13.12.2019, 22:13   #3
Владимир Маркин
Аватар для Владимир Маркин
Сообщение от Кот Вася Посмотреть сообщение
Владимир , скажите пожалуйста , как заполнится стойка азотом (правая передняя)если она будет отключена во время заправки азотом всей системы ?
Для какой цели?
13.12.2019, 22:17   #4
Кот Вася
Аватар для Кот Вася
Сообщение от Владимир Маркин Посмотреть сообщение
Для какой цели?
для заполнение пневмосистемы
13.12.2019, 22:20   #5
Владимир Маркин
Аватар для Владимир Маркин
Сообщение от Кот Вася Посмотреть сообщение
для заполнение пневмосистемы
Сообщение от Владимир Маркин Посмотреть сообщение
Система пневматической подвески наполняется из пневматического трубопровода спереди справа. После того, как наполнение с помощью баллона с азотом завершено, из ресивера наполняется передняя правая пневматическая амортизационная стойка.
Наполнить соответствующий пневмоэлемент с помощью тестера PIWIS II
13.12.2019, 22:24   #6
Кот Вася
Аватар для Кот Вася
Сообщение от Владимир Маркин Посмотреть сообщение
Наполнить соответствующий пневмоэлемент с помощью тестера PIWIS II
как же его наполнить если он будет отключен во время заполнения всей системы ?
13.12.2019, 22:30   #7
Владимир Маркин
Аватар для Владимир Маркин
Сообщение от Кот Вася Посмотреть сообщение
как же его наполнить если он будет отключен во время заполнения всей системы ?
Наполняется вся система и ресивер. А из ресивера через PIWIS уже заполняется передняя правая
13.12.2019, 22:34   #8
Кот Вася
Аватар для Кот Вася
Сообщение от Владимир Маркин Посмотреть сообщение
Наполняется вся система и ресивер. А из ресивера через PIWIS уже заполняется передняя правая
Спасибо ! Сейчас понятно
Изначально заправится вся система, потом прикрутить на место трубку к передней стойки и азот из ресивера подать в стойку с помощью тестера
13.12.2019, 22:36   #9
Владимир Маркин
Аватар для Владимир Маркин
Сообщение от Кот Вася Посмотреть сообщение
Изначально заправится вся система, потом прикрутить на место трубку к передней стойки и азот из ресивера подать в стойку с помощью тестера
Верно. Смонтировать пневматический трубопровод спереди справа. Завершить >>Наполнение<<. Следовать указаниям системного тестера Porsche.
14.12.2019, 12:40   #10
Кот Вася
Аватар для Кот Вася
Сообщение от Владимир Маркин Посмотреть сообщение
Верно. Смонтировать пневматический трубопровод спереди справа. Завершить >>Наполнение<<. Следовать указаниям системного тестера Porsche.
Всю систему заполнил а вот на передней правой дальше не проходит процесс.
Подскажите Владимир может что то не так ?
Миниатюры:
Нажмите на изображение для увеличения
Название: Панамера.jpg
Просмотров: 1652
Размер:	106.9 Кб
ID:	26105  

Метки
адаптер, азот, дорожный, заказать, машина, наполнение, ошибка, после, ресивер, стойка



Левый уголок Похожие темы Правый уголок
Тема Автор Раздел Ответов Последнее сообщение
[92A] Опорожнение и наполнение системы регулирования дорожного просвета PORSCHE CAYENNE 958 Владимир Маркин Ходовая и подвеска 63 31.01.2024 11:09
[92A] Поиск неисправностей системы регулирования дорожного просвета Владимир Маркин Ходовая и подвеска 7 09.03.2023 17:35
[970] Калибровка системы регулирования дорожного просвета Владимир Маркин Ходовая и подвеска 0 31.03.2017 14:57
[9PA] Датчик дорожного просвета dimatrixxx Ходовая и подвеска 3 10.01.2017 16:22
Автомобиль стоит неровно - Неисправность системы регулирования дорожного просвета Владимир Маркин Ходовая и подвеска 8 06.01.2015 20:07



Powered by vBulletin® Version 3.8.7
Copyright ©2000 - 2025, vBulletin Solutions, Inc. Перевод: zCarot
Все права на материалы, находящиеся на сайте, охраняются в соответствии с законодательством РФ.
При любом использовании материалов сайта, письменное согласие обязательно.
Торговые марки, логотипы и марки услуг, размещенные на данном сайте, являются собственностью их владельцев.
CayService.ru не связан с Porsche AG или PCNA. ©2025 CayService.ru. Все права защищены.
Яндекс.Метрика