Правила форума Clear

92A производство 2011>>2018 (K;L) Калибровка датчика адаптивного круиз контроля на Е2 дорейстал

03.08.2015, 00:35   #1
Makarov
Здравствуйте!

Поставил на С-ку бампер от турбо. Датчик адаптивного круиз контроля пришлось перенести выше, т.к. дырка в решетке на турбо бампере выше, чем на С-ке. После этого появилась проблема с адаптивным круиз контролем и, соответственно, системой помощи водителю.

На скоростях до примерно 80 км/ч всё работает нормально, а на более высокой скорости система просто выключается. Если снизить скорость, то через пару минут система вновь начинает работать нормально.

Видимо, нужно сделать калибровку датчика. Как я понимаю, необходимо изменить угол положения датчика по вертикали с помощью регулировочного винта? Надо ли для этого снимать бампер?

Был бы благодарен за описание процесса калибровки.
03.08.2015, 11:59   #2
Владимир Маркин
Аватар для Владимир Маркин
Сообщение от Makarov Посмотреть сообщение
Здравствуйте!
Добрый день.

Сообщение от Makarov Посмотреть сообщение
Поставил на С-ку бампер от турбо. Датчик адаптивного круиз контроля пришлось перенести выше, т.к. дырка в решетке на турбо бампере выше, чем на С-ке. После этого появилась проблема с адаптивным круиз контролем и, соответственно, системой помощи водителю.

На скоростях до примерно 80 км/ч всё работает нормально, а на более высокой скорости система просто выключается. Если снизить скорость, то через пару минут система вновь начинает работать нормально.

Видимо, нужно сделать калибровку датчика. Как я понимаю, необходимо изменить угол положения датчика по вертикали с помощью регулировочного винта? Надо ли для этого снимать бампер?

Был бы благодарен за описание процесса калибровки.
При следующих работах необходимо заново регулировать датчик измерения расстояния.
1. На автомобиле было выполнено измерение и регулировка углов установки колес.
2. Был снят, заменен и снова установлен блок управления датчика измерения расстояния (датчик ACC) или держатель блока управления.
3. Была снята замковая панель.
4. Имеется повреждение передней части.
5. Запись в памяти неисправностей: датчик ACC разрегулирован (D00004).
5.1. Угол разрегулировки находится вне диапазона от - 1,5° до + 1,5°.

Условия проверки
1. Глубина рисунка протектора на одной оси может различаться максимум на 2 мм.
2. Предписанное давление накачки шин (вне зависимости от того, “комфортное” или “нормальное” давление воздуха).
3. Как и при процедуре РУУК полностью, следить во время измерения за тем, чтобы сдвижные основания и поворотные пластины не находились на конечном упоре.
3.1. Учитывать колею и расстояния между осями.
4. Обеспечить незагруженное состояние автомобиля. Вес снаряженного автомобиля (полностью заправленный топливный бак, а также бачек для воды стекло/фароочистителя, запасное колесо, бортовой инструмент, домкрат) и без водителя.
5. Запасное колесо, бортовой инструмент, домкрат должны находится на предписанных производителем автомобиля местах.
6. Автомобиль выровнен безупречно, несколько раз осажен и раскачан.
7. Проверить подвеску колес, рулевое управление, рулевые тяги на предмет люфта и повреждения.
7.1. Если необходимо, отремонтировать.
8. Автомобили с системой регулирования дорожного просвета (пневмоэлементами) перевести на нормальный уровень*.
8.1. *Информация: двигатель / зажигание выключено, двери закрыты, заблокировать автомобиль
8.2. Подождать 15 секунд (пневмоэлементы производят регулирование автомобиля)
8.3. Разблокировать автомобиль, открыть дверь и оставить ее открытой во время измерения, включить зажигание

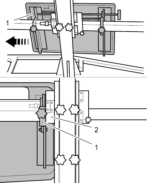
Сборка измерительной системы

информация
Следить за наличием достаточно большого расстояния между автомобилем и приспособлением для регулировки, которое должно составлять прибл. 120 см.
Если перед измерительной платформой нет достаточного пространства, то автомобиль можно поставить на подъемник для РУУК задним ходом.
Передний и задний мосты автомобиля необходимо расположить посередине поворотных дисков / поворотно-сдвижных пластин.

информация
Описанный процесс адаптирован к системе измерения углов установки колес ML 5000 Porsche WE 1272 и к системе измерения углов установки колес с датчиками DSP508XF WE 1328.
При наличии других измерительных систем возможны отличия.

1. Смонтировать держатели измерительных приборов на колеса задней оси.
2. Задние чувствительные элементы смонтировать на заднюю ось с адаптерами для спойлера (только Beissbarth, в результате этого чувствительные элементы располагаются глубже).
3. Выровнять задние чувствительные элементы на задней оси по уровням и затянуть с помощью винтов-барашков держателей измерительных приборов.

информация
Если автомобиль и регулировочный инструмент были выровнены, то дальнейшее перемещение автомобиля и инструмента не допускается.
Автомобиль стоит на разблокированных с одной стороны поворотных тарелках/сдвижных пластинах и благодаря этому может легко перемещаться.
Если во время измерения автомобиль перемещается на поворотных пластинах, то измерение необходимо повторить.
Если после выравнивания регулировочный инструмент перемещается, то измерение необходимо повторить.

4. Вставить передние чувствительные элементы в измерительное зеркало, выровнять по уровню и затянуть.
4.1. Выровнять регулировочный инструмент посередине.
4.2. Расстояние от регулировочного инструмента до автомобиля прим. 120 см, расстояние от регулировочного инструмента до датчика измерения расстояния прим. 130 см.
4.3. Расстояние от чувствительного элемента слева до автомобиля -Bl- должно быть равно расстоянию от чувствительного элемента справа до автомобиля -Br- .
5. Включить (инициализировать) чувствительные элементы.

Подготовка к регулировке датчика измерения расстояния
1. Подключить к точкам питания от внешнего источника зарядное устройство АКБ с номинальным значением тока минимум 40 A.
2. Считать память неисправностей с помощью тестера PIWIS второго поколения 9818, если необходимо создать FAP (→ 0X03IN Создание протокола анализа неисправностей (FAP) и устранить имеющиеся неисправности.
3. Автомобили с системой регулирования дорожного просвета (пневмоэлементами) перевести на нормальный уровень*.
3.1. *Информация: двигатель / зажигание выключено, двери закрыты, заблокировать автомобиль.
3.2. Подождать 15 секунд (пневмоэлементы производят регулирование автомобиля).
3.3. Разблокировать автомобиль, открыть дверь и оставить ее открытой во время измерения, включить зажигание.
4. Снять накладку на датчике.
4.1. Разблокировать накладку сверху два раза -стрелка- с помощью демонтажного инструмента Nr.21 или в качестве альтернативы с помощью рычага для отсоединения обшивки двери (Hazet 799–3).
4.2. Откинуть накладку вперед и вывести из зацепления на нижнем держателе.
5. Очистить датчик и накладку стандартным очистителем.
6. Смонтировать передние чувствительные элементы на регулировочном приспособлении, выровнять по уровням, затянуть винтами-барашками и включить (инициализировать).
7. Расстояние между регулировочным приспособлением >> Регулировочное приспособление с отражателем VAS 6430/1 WE 1362 << и автомобилем должно составлять прим. 120 см.
7.1. Расположить регулировочное приспособление для ACC >> Регулировочное приспособление с отражателем VAS 6430/1 WE 1362 << на расстоянии 130+/- 10 см от линзы датчика до поверхности зеркала >> Зеркало регулировочного приспособления VAS 6430/3 WE 1363 <<.
7.2. Расстояние от чувствительного элемента слева до автомобиля -Bl- должно быть равно расстоянию от уровня справа до автомобиля -Br- .
8. На регулировочном приспособлении привести зеркало в положение -2- для совпадения с меткой ( -A- цифра 2 на ручке должна быть направлена к автомобилю).

информация
Если автомобиль и регулировочный инструмент были выровнены, то дальнейшее перемещение автомобиля и инструмента не допускается.
Автомобиль стоит на разблокированных с одной стороны поворотно-сдвижных пластинах и благодаря этому может перемещаться.
Если во время измерения автомобиль перемещается на поворотных пластинах, то измерение необходимо повторить.
Если после выравнивания регулировочный инструмент перемещается, то измерение необходимо повторить.

9. Разблокировать поворотные диски/сдвижные пластины с одной стороны автомобиля.
10. Запустить соответствующее меню (использовать руководство по эксплуатации измерительного стенда) для того чтобы отрегулировать датчик измерения расстояния.
11. Перед началом регулировки необходимо проверить на зеркале регулировочного приспособления, попадает ли лазерный луч -3- (включение лазерного луча >> см. руководство по эксплуатации регулировочного приспособления) в линзу датчика. Указание:
11.1. Если после установки одинаковых значений отдельной колеи лазерный луч еще попадает в линзу датчика, то регулировочное приспособление выровнено (спозиционировано) правильно.
11.2. Если лазерный луч не попадает в линзу датчика, то необходимо повторить выравнивание регулировочного приспособления.
12. Выровнять регулировочное приспособление по горизонтали:
12.1. Лазерный луч регулировочного приспособления должен попадать в середину линзы датчика.
13. С помощью регулировочных винтов -1, 2, 3, 4, 5- регулировочного приспособления привести уровни -A, B- зеркала в равновесие.
14. С помощью кривошипа -стрелка- регулировочного приспособления отрегулировать зеркало таким образом, чтобы лазерный луч (включение лазерного луча >> см. руководство по эксплуатации регулировочного приспособления) попадал по вертикали в середину линзы датчика.
15. Провернуть регулировочную балку сбоку на регулировочном приспособлении с помощью регулировочного винта -5- до появления на экране измерительного стенда зеленой индикации на регулировочной балке.
Регулировка блока управления датчика измерения расстояния
1. К точкам питания от внешнего источника должно быть подключено зарядное устройство АКБ с номинальным значением тока минимум 40 A.
2. Запустить подключенный к автомобилю тестер PIWIS второго поколения 9818.
3. Включить зажигание.
4. Выбрать автомобиль и блок управления Адаптивный круиз-контроль и далее по клавише >> .
5. В меню Адаптивный круиз-контроль выбрать подменю Обслуживание, ремонт и далее по клавише >> .
6. Следовать указаниям тестера и если необходим отрегулировать датчик -1- по указанию тестера с помощью регулировочного инструмента Т-образный торцовый ключ для датчика ACC, VAS 6190/2 WE 1364.
7. Процесс необходимо повторять до появления указания тестера Регулировка прошла успешно.

Дополнительные работы
1. Выключить зажигание и вынуть ручной передатчик.
2. Отключить от автомобиля тестер PIWIS второго поколения 9818.
3. Отсоединить зарядное устройство для АКБ.
4. Демонтировать чувствительные элементы и держатель измерительного прибора.

информация
До и после монтажа накладки блока управления датчика измерения расстояния выполнить проверки по следующим пунктам:
Держатель блока управления датчика измерения расстояния не должен иметь деформаций, которые появились, например, в ходе (де)монтажа накладки блока управления датчика измерения расстояния. В этом случае держатель блока управления датчика измерения расстояния необходимо осторожно выгнуть обратно.
При наличии повреждений или трещин заменить накладку.
После монтажа накладки проверить правильность и прочность ее посадки.

5. Смонтировать накладку блока управления датчика измерения расстояния.
6. Выполнить пробную поездку, проверить функционирование блока управления датчика измерения расстояния.
7. Считать память неисправностей блока управления датчика измерения расстояния (ACC).
Миниатюры:
Нажмите на изображение для увеличения
Название: Сборка регулировочного приспособления, представлен.jpg
Просмотров: 1114
Размер:	52.6 Кб
ID:	11307   Нажмите на изображение для увеличения
Название: Демонтаж накладки на датчике.jpg
Просмотров: 1122
Размер:	86.6 Кб
ID:	11308   Нажмите на изображение для увеличения
Название: Позиция 2 регулировочного приспособления.jpg
Просмотров: 1115
Размер:	58.6 Кб
ID:	11309   Нажмите на изображение для увеличения
Название: Выравнивание регулировочного приспособления.jpg
Просмотров: 1112
Размер:	68.5 Кб
ID:	11310   Нажмите на изображение для увеличения
Название: Пример индикации регулировочной балки.jpg
Просмотров: 1102
Размер:	26.4 Кб
ID:	11311  

Нажмите на изображение для увеличения
Название: Пример индикации Hunter.jpg
Просмотров: 1097
Размер:	12.1 Кб
ID:	11312   Нажмите на изображение для увеличения
Название: Регулировочные винты датчика измерения расстояния.jpg
Просмотров: 1079
Размер:	77.7 Кб
ID:	11313   Нажмите на изображение для увеличения
Название: Монтаж накладки датчика ACC.jpg
Просмотров: 1087
Размер:	52.3 Кб
ID:	11314  
03.08.2015, 13:22   #3
Makarov
Огромное спасибо!
14.03.2016, 18:33   #4
Tolyas
Добрый день.
Подскажите, есть у кого опыт самостоятельной установки?
Интересует точный перечень зап.чатей необходимый к замене и перечень необходимых настроек у блоках.
По опыту установки на Touareg GP, по мимо радара и проводки, заменял еще блок управления рулевой колонкой, подрулевой переключатель и блок кнопок на руле по управлению круизом.
28.05.2018, 11:57   #5
sparamo
Сообщение от Tolyas Посмотреть сообщение
Добрый день.
Подскажите, есть у кого опыт самостоятельной установки?
Интересует точный перечень зап.чатей необходимый к замене и перечень необходимых настроек у блоках.
По опыту установки на Touareg GP, по мимо радара и проводки, заменял еще блок управления рулевой колонкой, подрулевой переключатель и блок кнопок на руле по управлению круизом.
Тоже интересует этот вопрос

Метки
адаптивный, блок



Левый уголок Похожие темы Правый уголок
Тема Автор Раздел Ответов Последнее сообщение
[92A] Калибровка пневмоподвески на PORSCHE 958(Е-2) Чижман Ходовая и подвеска 26 24.11.2024 19:17
[9PA] Калибровка пневмоподвески на PORSCHE Владимир Маркин Ходовая и подвеска 90 09.04.2024 16:52
[9PA1] Круиз контроль установка Cayenne Tiptronic Ivano Установка и переоснащение Tequipment 43 26.07.2023 06:05
[9PA] Замена лампочки в элементе адаптивного (статического) освещения goshmann Вопросы специалистам 8 06.02.2014 14:48
[9PA] Снятие и установка датчика дождя или датчика дождя и освещенности Владимир Маркин Электрооборудование 0 20.02.2010 19:52



Powered by vBulletin® Version 3.8.7
Copyright ©2000 - 2025, vBulletin Solutions, Inc. Перевод: zCarot
Все права на материалы, находящиеся на сайте, охраняются в соответствии с законодательством РФ.
При любом использовании материалов сайта, письменное согласие обязательно.
Торговые марки, логотипы и марки услуг, размещенные на данном сайте, являются собственностью их владельцев.
CayService.ru не связан с Porsche AG или PCNA. ©2025 CayService.ru. Все права защищены.
Яндекс.Метрика