Правила форума Clear

970 производство 2010>>2016 (L) Проверка давления топлива PANAMERA TURBO (970430), 2010

23.08.2020, 17:12   #1
Владимир Маркин
Аватар для Владимир Маркин
Проверка давления топлива (низкого давления) с помощью тестера PIWIS (ускоренная проверка)

Информация

Неисправности в системе впрыска топлива под высоким давлением могут быть также вызваны неисправностями в подающем контуре (низкое давление топлива).
В случае проблем в системе впрыска топлива под высоким давлением необходимо сначала проверить подающий контур.

Информация

Негерметичность топливного насоса высокого давления в направлении двигателя (механический привод) ведет к разжижению масла. В этом случае следует проверить моторное масло и принять соответствующие меры.

Информация

Измерение давления подачи топлива (низкого давления) во время пробной поездки невозможно. Во время движения с тестером PIWIS, в блоке управления DME через датчик высокого давления можно считать только измеренное значения Фактическое значение высокого давления топлива. Фактическое значение “Низкое давление” не существует.

Информация

Система топливоподачи включает в себя топливный насос, управляемый блоком управления в зависимости от потребности, и подключенный в подающий трубопровод эжекционный насос (в зависимости от модели один или два).

Информация

В случае подозрения на неисправность подкачивающего насоса в баке (особенно в случае симптомов с очень низким уровнем топлива), следует обязательно проверить эжекционные насосы на загрязнение и засорение.

Информация

Проверка системы низкого давления с помощью датчика высокого давления не может использоваться в качестве единственной отправной точки.
Датчик высокого давления неточен в области низкого давления.
Проверку системы низкого давления лучше всего выполнять с помощью обеих методик (тестером и манометром).
23.08.2020, 17:15   #2
Владимир Маркин
Аватар для Владимир Маркин
Общая информация. Пересчет давления =>

10000 гПа =10 бар =10000 мбар
1000 кПа =10 бар =10000 мбар
1 МПа =10 бар =10000 мбар

1 Подключить и подготовить тестер. 9818 - Тестер PIWIS II

1.1 Подключить зарядное устройство к АКБ автомобиля. Должно присутствовать прим. 12,5 Вольт (не использовать быструю зарядку, так как при этом слишком велико напряжение!).

1.2 Топливный насос можно активировать и отключить следующим образом.

1.3 DME => Проверка исполнительных элементов / проверки => Исполнительные элементы => Топливный насос 1

1.4 Указывается 100%. Топливный насос начинает подачу при нажатии клавиши Старт.

1.5 Топливный насос останавливается при изменении процентного значения до 0%. Повторное нажатие клавиши Старт.

2 Вызов проверочного значения B070 Фактическое значение высокого давления топлива.

2.1 DME => Фактические значения / переключающие входы => B070 Фактическое значение высокого давления топлива

Давление топлива примерно от 5500,0 гПа до 5800,0 гПа при работе насоса.

1 Исполнительные элементы / проверки

2 Состояние топливного насоса (0% - насос выключен, 100% - насос работает). В каждом случае подтверждается с помощью клавиши Старт.

3 Давление топлива в гПа (на рисунке остаточное давление вскоре после отключения).
Миниатюры:
Нажмите на изображение для увеличения
Название: Вид обоих значений в тестере PIWIS друг под другом.jpg
Просмотров: 1956
Размер:	41.6 Кб
ID:	34008  
23.08.2020, 17:17   #3
Владимир Маркин
Аватар для Владимир Маркин
3 Шаг 2: проверить герметичность топливной системы =>

Информация

Остаточное давление топлива в течение 1 часа должно упасть не более чем на 1 бар (1000 мбар).

3.1 С помощью тестера PIWIS считать в блоке управления DME фактическое значение Фактическое значение высокого давления топлива.

Заданное давление прим. от 5000 до 5500,0 гПа. Наблюдать за давлением топлива в течение примерно 5-10 минут.
Давление не сохраняется, то есть фактическое значение давления топлива сильно упало. Существует внутренняя или внешняя негерметичность топливной системы.
Давление сохраняется, то есть фактическое значение давления топлива упало лишь незначительно.
23.08.2020, 17:18   #4
Владимир Маркин
Аватар для Владимир Маркин
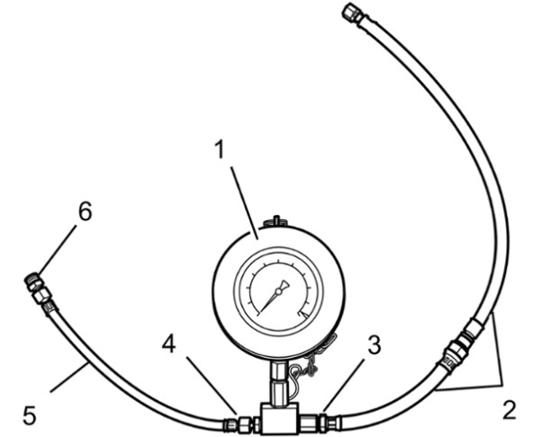
Инструменты и материалы

Конструкция инструмента для проверки

Конструкция инструмента для проверки давления

1 Прибор для проверки Манометр (без запорного крана) V.A.G 1318 - Тестер K-Jetronic

2 Соединительный трубопровод 9705/3 - трубопровод подключения (оба трубопровода) => подключение к

3 адаптеру 1318/15

4 адаптеру 1318/23

5 Соединительный трубопровод P378c - Соединительные трубопроводы

6 Адаптер 1318/12 => подключение к трубопроводу со стороны двигателя
Миниатюры:
Нажмите на изображение для увеличения
Название: Конструкция инструмента для проверки давления.jpg
Просмотров: 1924
Размер:	31.9 Кб
ID:	34009  
23.08.2020, 17:20   #5
Владимир Маркин
Аватар для Владимир Маркин
Конструкция инструмента для проверки объема подаваемого топлива

1 Адаптер 1318/12

2 Соединительный трубопровод P378c - Соединительные трубопроводы

3 Соединительный трубопровод 1318/17

4 Редуктор 9705 - измерительный адаптер
Миниатюры:
Нажмите на изображение для увеличения
Название: Конструкция инструм. для пров. объема подав. топлива.jpg
Просмотров: 1913
Размер:	23.5 Кб
ID:	34011  
23.08.2020, 17:22   #6
Владимир Маркин
Аватар для Владимир Маркин
Проверка давления топлива (низкого давления) с помощью манометра

Осторожно

Ядовитые вещества
Отравление или удушье
Ожоги глаз и кожи

Хорошо проветривать рабочее место.

Избегать проглатывания или вдыхания.

Соблюдать специфические указания на листе предупреждения об опасности.

Использовать средства индивидуальной защиты.

На рабочем месте не курить, не принимать пищу и напитки.

Осторожно

Легковоспламеняющиеся или взрывчатые вещества
Возгорание или взрыв

Избегать контакта с горячими деталями или источниками возгорания.

Обеспечить вытяжку паров топлива во избежание их воспламенения.

Установить хорошо заметную предупреждающую табличку.

Соберите вытекшие жидкости с помощью негорючего впитывающего материала и поместите в специальный контейнер для утилизации согласно действующим предписаниям.

Обеспечьте защиту контейнера и резервуара от опрокидывания
23.08.2020, 17:23   #7
Владимир Маркин
Аватар для Владимир Маркин
1 Положить под подводящий топливопровод (низкого давления) -трубопровод 4- ветошь и отвернуть с помощью двух рожковых ключей. При этом удерживать среднюю часть и ослабить накидную гайку со стороны двигателя. Топливопровод низкого давления
Миниатюры:
Нажмите на изображение для увеличения
Название: Точка соединения трубопроводов моторного отсека.jpg
Просмотров: 1930
Размер:	62.7 Кб
ID:	34012   Нажмите на изображение для увеличения
Название: Топливопровод низкого давления.jpg
Просмотров: 1923
Размер:	49.9 Кб
ID:	34013  
23.08.2020, 17:25   #8
Владимир Маркин
Аватар для Владимир Маркин
2 Проверка давления подачи топлива (низкое давление) =>

2.1 Подключить прибор для проверки. При сборке инструмента следует монтировать между отдельными компонентами уплотнительные кольца (на выбор, медные, алюминиевые, пластиковые и т.д.). Конструкция должна быть герметичной. Подключение для измерения давления на автомобиле

Подключение для измерения давления на автомобиле

1 Подключение трубопровода низкого давления со стороны двигателя

2 Подключение шланга низкого давления со стороны кузова
Миниатюры:
Нажмите на изображение для увеличения
Название: Подключение для измерения давления на автомобиле.jpg
Просмотров: 1952
Размер:	104.8 Кб
ID:	34014  
23.08.2020, 17:25   #9
Владимир Маркин
Аватар для Владимир Маркин
2.2 Запустить двигатель и оставить его работать на холостом ходу. Считать давление топлива на манометре. На холостом ходу стрелка манометра может слегка колебаться. При увеличенных оборотах холостого хода (небольшое нажатие на педаль акселератора) стрелка успокаивается. Топливная система низкого давления работает при давлении топлива от 5,5 до 5,8 бар. Стрелка колеблется около этого значения. Измерения под нагрузкой (особенно Turbo) могут также кратковременно вызвать значения менее 5 бар (4,5 бар). Это не является признаком неисправности.
23.08.2020, 17:26   #10
Владимир Маркин
Аватар для Владимир Маркин
3 Проверка остаточного давления топлива (низкое давление) =>

Двигатель холодный
Помещение с нормальным климатом
При прогретом двигателе или при высокой температуре окружающего воздуха возможны колебания
Герметично собранный измерительный инструмент

3.1 Сборка и подключение инструмента аналогично измерению давления подачи топлива (см. выше).

3.2 Дать двигателю поработать в течение нескольких минут. Выключить двигатель. Проверка падения давления. Падение давления топлива после выключения зажигания не должно быть выше 1 бара через 1 час. Следить за тем, чтобы сама конструкция инструмента не давала утечек и не имела негерметичностей (даже малейших). Давление топлива очень быстро снижается и искажает результат измерения уже при наличии малейшей утечки.

Дополнительные работы

1 Снять инструмент и снова соединить разъемы со стороны автомобиля Момент затяжки 30 Nm. Собрать ветошью остатки топлива.

Метки
cayservice, forum, https, panamera, showthread, turbo, адаптер, быль, давление, значение, инструмент, насос, низкий, подключение, проверка, сбрасываться, соединительный, топливо, топливопровод, трубопровод, фактический



Левый уголок Похожие темы Правый уголок
Тема Автор Раздел Ответов Последнее сообщение
[9PA1] Проверка давления топлива (низкое давление) двигателей DFI при помощи тестера PIWIS Владимир Маркин Система питания 51 25.06.2025 16:11
[92A] Проверка давления топлива Cayenne 958 Владимир Маркин Система питания 10 08.04.2024 14:02
[9PA] Проверка давления топлива V8 4.5 Владимир Маркин Система питания 17 28.01.2023 22:15
[970] Демонтаж и монтаж коленвала Panamera Turbo (970430), 2010 Владимир Маркин Двигатель 0 20.08.2020 21:03
[970] Panamera Turbo (970430), 2011 Моменты затяжки двигатель lipil Двигатель 8 20.03.2020 18:39



Powered by vBulletin® Version 3.8.7
Copyright ©2000 - 2025, vBulletin Solutions, Inc. Перевод: zCarot
Все права на материалы, находящиеся на сайте, охраняются в соответствии с законодательством РФ.
При любом использовании материалов сайта, письменное согласие обязательно.
Торговые марки, логотипы и марки услуг, размещенные на данном сайте, являются собственностью их владельцев.
CayService.ru не связан с Porsche AG или PCNA. ©2025 CayService.ru. Все права защищены.
Яндекс.Метрика