Правила форума Clear

9PA производство 2003>>2006 (L) Демонтаж и монтаж центральной консоли PORSCHE CAYENNE 955

29.01.2019, 12:24   #1
Владимир Маркин
Аватар для Владимир Маркин
Предварительные работы

1 Снять накладку центральной консоли

2 Для автомобилей с соответствующим кодом комплектации: Снять блок управления дополнительной системы кондиционирования

3 Для автомобилей с соответствующим кодом комплектации: Снять регулятор подогрева заднего сиденья

Демонтаж центральной консоли

1 Снять заглушки и подстаканники.

Расклипсовать заглушки -2, 4- из центральной консоли.

Вскрыть подстаканник -3-.

Нажать на подстаканник -3- вверх и расклипсовать из центральной консоли.

2 Снять разъем или прикуриватель.
– только на автомобилях с соответствующим номером I

Выкрутить крепежные винты -5-.

Разъем или прикуриватель -4a- расклипсовать и снять с центральной консоли.

Отсоединить разъемы.

На фиксатор разъема -6- нажать (-стрелка A-).

Разъем -6- отсоединить (-стрелка B-).

3 Отсоединить разъем.

Выкрутить крепежный винт -14-.

Антенны Kessy -12- слегка сдвинуть вперед и поднять.

Отсоединить разъем -13-.

4 Отсоединить центральную консоль пер.

Расклипсовать накладки на ручках -7-.

Выкрутить крепежные винты -8-.

5 Отсоединить центральную консоль в средней части.

Выкрутить крепежные винты -9-.

6 Отсоединить центральную консоль задн.

Снять подкладочный коврик -10-.

Выкрутить крепежные винты -11-.

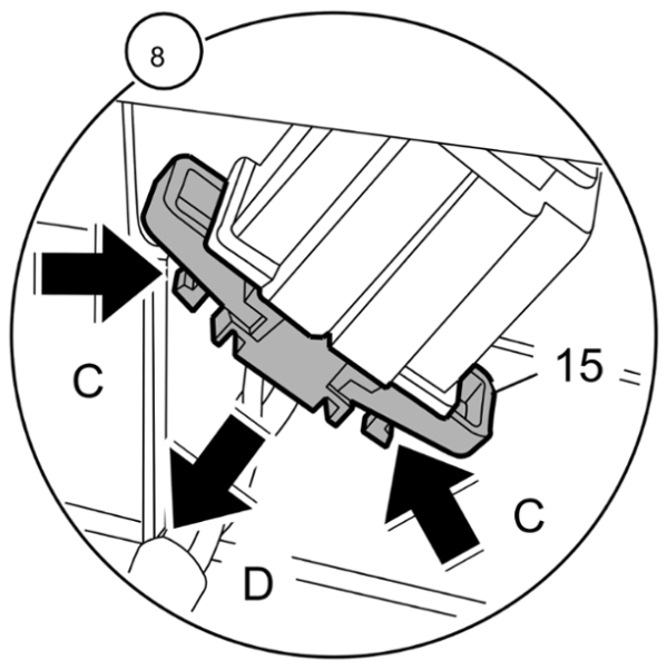
7 Отсоединить разъем.

Разъем -15- разблокировать (-стрелки C-) и отсоединить (-стрелка D-).

8 Снять центральную консоль

Монтаж центральной консоли

1 Установить центральную консоль.

Удостовериться, что задний воздушный канал точно подсоединен -стрелка-.

2 Закрепить центральную консоль сзади.

Крепежные винты -11- вкрутить и затянуть с моментом затяжки.

Момент затяжки 8 Nm + 0.8 Nm

Вложить коврик отсека для хранения -10- .

Разъем -15- вставить, пока фиксаторы не защелкнутся.

3 Закрепить центральную консоль в средней части.

Крепежные винты -9- вкрутить и затянуть с моментом затяжки. Момент затяжки 8 Nm + 0.8 Nm.

4 Закрепить центральную консоль спереди.

Крепежные винты -8- вкрутить и затянуть с моментом затяжки. Момент затяжки 8 Nm + 0.8 Nm.

Накладки на ручки -7- заклипсовать.

5 Соединить разъем.

Подключить разъемное соединение -13- .

Антенны Kessy -12- сдвинуть вперед и установить.

Крепежные винты -14- вкрутить и затянуть.

6 Только для автомобилей с соответствующим I-номером:установить розетку или прикуриватель

Разъем -6- подключить.

Розетку или прикуриватель -4a- заклипсовать на центральной консоли.

Крепежные винты -5- вкрутить и затянуть с моментом затяжки. Момент затяжки 2 Nm + 0.2 Nm.

7 Установить заглушки и подстаканник.

Заглушки -2, 4- и подстаканник -3- заклипсовать на центральной консоли.

Дополнительные работы

1 Только для автомобилей с соответствующим идентификационным номером: установить регулятор обогрева заднего сиденья.

2 Только для автомобилей с соответствующим идентификационным номером: установить блок управления дополнительного кондиционера.

3 Установить накладку центральной консоли
Миниатюры:
Нажмите на изображение для увеличения
Название: Центральная консоль.png
Просмотров: 3294
Размер:	124.1 Кб
ID:	19620   Нажмите на изображение для увеличения
Название: Центральная консоль..png
Просмотров: 3222
Размер:	53.4 Кб
ID:	19621   Нажмите на изображение для увеличения
Название: Снять заглушки и подстаканники.png
Просмотров: 3265
Размер:	129.8 Кб
ID:	19622   Нажмите на изображение для увеличения
Название: Снять разъем или прикуриватель.png
Просмотров: 3240
Размер:	100.7 Кб
ID:	19623   Нажмите на изображение для увеличения
Название: Отсоединить разъемы.png
Просмотров: 3324
Размер:	118.4 Кб
ID:	19624  

Нажмите на изображение для увеличения
Название: Kessy антенна.png
Просмотров: 3272
Размер:	142.1 Кб
ID:	19625   Нажмите на изображение для увеличения
Название: Отсоединить разъем.png
Просмотров: 3274
Размер:	85.4 Кб
ID:	19626   Нажмите на изображение для увеличения
Название: Отсоединить центральную консоль пер..png
Просмотров: 3206
Размер:	106.7 Кб
ID:	19627   Нажмите на изображение для увеличения
Название: Отсоединить центральную консоль в средней части.png
Просмотров: 3318
Размер:	130.8 Кб
ID:	19628   Нажмите на изображение для увеличения
Название: Снять подкладочный коврик.png
Просмотров: 3354
Размер:	155.8 Кб
ID:	19629  

Нажмите на изображение для увеличения
Название: Выкрутить крепежные винты.png
Просмотров: 3326
Размер:	158.6 Кб
ID:	19630   Нажмите на изображение для увеличения
Название: Разъем  разблокировать (-стрелки C-) и отсоединить.png
Просмотров: 3266
Размер:	110.0 Кб
ID:	19631   Нажмите на изображение для увеличения
Название: Снять центральную консоль.png
Просмотров: 3374
Размер:	156.3 Кб
ID:	19632   Нажмите на изображение для увеличения
Название: Установить центральную консоль.png
Просмотров: 3288
Размер:	151.8 Кб
ID:	19633   Нажмите на изображение для увеличения
Название: Закрепить центральную консоль сзади.png
Просмотров: 3258
Размер:	143.7 Кб
ID:	19634  

Нажмите на изображение для увеличения
Название: Вложить коврик отсека для хранения.png
Просмотров: 3323
Размер:	155.0 Кб
ID:	19635   Нажмите на изображение для увеличения
Название: Разъем -15- вставить.png
Просмотров: 3289
Размер:	157.8 Кб
ID:	19636   Нажмите на изображение для увеличения
Название: Закрепить центральную консоль в средней части.png
Просмотров: 3269
Размер:	132.5 Кб
ID:	19637   Нажмите на изображение для увеличения
Название: Закрепить центральную консоль спереди.png
Просмотров: 3243
Размер:	106.0 Кб
ID:	19638   Нажмите на изображение для увеличения
Название: Соединить разъем.png
Просмотров: 3279
Размер:	129.8 Кб
ID:	19639  

Нажмите на изображение для увеличения
Название: установить розетку или прикуриватель.png
Просмотров: 3225
Размер:	112.5 Кб
ID:	19640   Нажмите на изображение для увеличения
Название: Розетка или прикуриватель.png
Просмотров: 3298
Размер:	99.1 Кб
ID:	19641   Нажмите на изображение для увеличения
Название: Установить заглушки и подстаканник..png
Просмотров: 3246
Размер:	117.3 Кб
ID:	19642  

Метки
cayenne, porsche, демонтаж, консоль, монтаж, центральный



Левый уголок Похожие темы Правый уголок
Тема Автор Раздел Ответов Последнее сообщение
[9PA1] Ручки центральной консоли ltybc Оснащение кузова - интерьер 4 12.03.2018 19:17
[9PA] Демонтаж и монтаж генератора PORSCHE CAYENNE S бабо56 Электрооборудование 1 08.12.2017 20:13
[92A] Демонтаж и монтаж накладки центральной консоли Владимир Маркин Внешнее оснащение кузова 2 02.10.2017 19:31
[92A] Демонтаж и монтаж клапана рециркуляции ОГ PORSCHE CAYENNE V6 DIESEL Владимир Маркин Система питания 0 14.11.2016 19:05
[9PA] Демонтаж и монтаж генератора PORSCHE CAYENNE V6 TIP. Владимир Маркин Система питания 0 20.05.2015 22:56



Powered by vBulletin® Version 3.8.7
Copyright ©2000 - 2025, vBulletin Solutions, Inc. Перевод: zCarot
Все права на материалы, находящиеся на сайте, охраняются в соответствии с законодательством РФ.
При любом использовании материалов сайта, письменное согласие обязательно.
Торговые марки, логотипы и марки услуг, размещенные на данном сайте, являются собственностью их владельцев.
CayService.ru не связан с Porsche AG или PCNA. ©2025 CayService.ru. Все права защищены.
Яндекс.Метрика