Правила форума Clear

970 производство 2010>>2016 (L) Перегрев холодного двигателя Panamera 4S (970420)

15.05.2023, 21:58   #1
traglodit
Добрый день. Porsche Panamera 970 Хэтчбек 4.8 4S 411 л.с. ВИН-WP0AB2A7XAL063001. Подскажите пожалуйста куда копать, странная проблема. Сажусь утром в холодную машину, включаю зажигание, сразу выдает проверьте уровень охлаждающей жидкости и показывает температуру двигателя в районе 140 градусов. Завожу, глушу, выключаю зажигание. Опять включаю, и так может пропасть проблема со второго раза, а иногда и с 3-4. Еще заметил, если ночь теплая была то может и не быть проблемы, если было прохладно то постоянно вылазит. Похоже просто плохой контакт где то, но на диагностику не ехать же, ведь не постоянная проблема. Может есть конкретно где проверить, или ждать пока окончательно сдохнет?
16.05.2023, 03:55   #2
Taycan
Аватар для Taycan
Сообщение от traglodit Посмотреть сообщение
Добрый день. Porsche Panamera 970 Хэтчбек 4.8 4S 411 л.с. ВИН-WP0AB2A7XAL063001. Подскажите пожалуйста куда копать, странная проблема. Сажусь утром в холодную машину, включаю зажигание, сразу выдает проверьте уровень охлаждающей жидкости и показывает температуру двигателя в районе 140 градусов. Завожу, глушу, выключаю зажигание. Опять включаю, и так может пропасть проблема со второго раза, а иногда и с 3-4. Еще заметил, если ночь теплая была то может и не быть проблемы, если было прохладно то постоянно вылазит. Похоже просто плохой контакт где то, но на диагностику не ехать же, ведь не постоянная проблема. Может есть конкретно где проверить, или ждать пока окончательно сдохнет?
Здравствуйте!

Идентификационный номер автомобиля (VIN)
WP0AB2A7XAL063001
Тип заказа
Panamera 4S (970420)
Модельный год
2010

Первым делом проверьте уровень охлаждающей жидкости в расширительном бачке. Если уровень в пограничной зоне датчика уровня, то может происходить то что у вас.
16.05.2023, 10:34   #3
traglodit
Конечно уровень проверил первым делом. Все норм, да и если бы было дело в уровне то была бы постоянная проблема.
16.05.2023, 14:49   #4
Taycan
Аватар для Taycan
Тогда правильнее заехать на СТОА и считать ошибки, которые были записаны после появления предупреждений - так называемая первичная диагностика.
Если ошибки неактивные. то затереть и сделать тест-драйв с имитацией условий их прописания.
Если ошибки активные или прописались вновь после тест драйва, то надо делать диагностику по этим ошибкам.
Не шутите с системой охлаждения. Можно запороть ДВС.
16.05.2023, 22:04   #5
Владимир Маркин
Аватар для Владимир Маркин
Сообщение от traglodit Посмотреть сообщение
Добрый день
Добрый вечер

Сообщение от traglodit Посмотреть сообщение
Сажусь утром в холодную машину, включаю зажигание, сразу выдает проверьте уровень охлаждающей жидкости и показывает температуру двигателя в районе 140 градусов. Завожу, глушу, выключаю зажигание. Опять включаю, и так может пропасть проблема со второго раза, а иногда и с 3-4. Еще заметил, если ночь теплая была то может и не быть проблемы, если было прохладно то постоянно вылазит.
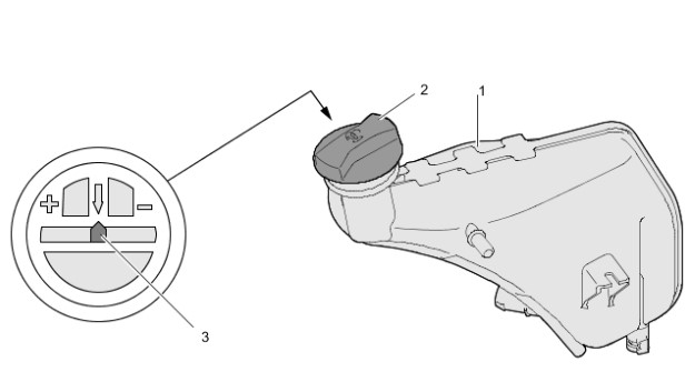
Проверку сделать на холодный двигатель!

Отвернуть пробку -2- расширительного бачка ОЖ -1- и посмотреть в расширительный бачок ОЖ. Указательная игла -3- указателя уровня должна находиться под стрелкой между маркировками минуса и плюса. Оптимальные уровень находится между маркировкой плюса и стрелкой.
Миниатюры:
Нажмите на изображение для увеличения
Название: Уровень ОЖ.jpg
Просмотров: 533
Размер:	26.7 Кб
ID:	66680  

Метки
бачок, двигатель, маркировка, находиться, ошибка, перегрев, плюс, расширительный, стрелка, уровень, холодный



Левый уголок Похожие темы Правый уголок
Тема Автор Раздел Ответов Последнее сообщение
[970] Клапана холодного впуска gevaki8288 Система питания 2 15.12.2022 22:42
[991-2] Перегрев двигателя Artemka74 Двигатель 2 10.05.2022 11:45
[970] 000582 Перегрев отопителя PORSCHE Panamera Diesel Edition (970840) Владимир Маркин Система кондиционирования 2 15.12.2021 14:55
[9PA] Перегрев двигателя. 4.5 турбо с RomanBook Двигатель 6 02.11.2020 23:43
[92A] 000582 Перегрев отопителя Владимир Маркин Система кондиционирования 0 05.08.2020 23:30



Powered by vBulletin® Version 3.8.7
Copyright ©2000 - 2025, vBulletin Solutions, Inc. Перевод: zCarot
Все права на материалы, находящиеся на сайте, охраняются в соответствии с законодательством РФ.
При любом использовании материалов сайта, письменное согласие обязательно.
Торговые марки, логотипы и марки услуг, размещенные на данном сайте, являются собственностью их владельцев.
CayService.ru не связан с Porsche AG или PCNA. ©2025 CayService.ru. Все права защищены.
Яндекс.Метрика