Правила форума Clear

9PA производство 2003>>2006 (L) Сломался механизм стеклоподъемника

21.09.2010, 15:59   #1
Nanuk
Снял обшивку правой передней двери и обнаружил сломанный механиз стекпоподьемника. Подскажите какие конкретно детали необходимо заказать для ремонта механизма и как его заметить?
Миниатюры:
Нажмите на изображение для увеличения
Название: 19092010252.jpg
Просмотров: 182
Размер:	1.12 Мб
ID:	3229   Нажмите на изображение для увеличения
Название: 19092010251.jpg
Просмотров: 155
Размер:	1.44 Мб
ID:	3230   Нажмите на изображение для увеличения
Название: 18092010230.jpg
Просмотров: 166
Размер:	1.15 Мб
ID:	3231  
22.09.2010, 00:27   #2
гро
Аватар для гро
На сколько я знаю меняется целиком в сборе.

22.09.2010, 00:47   #3
Nanuk
Сообщение от гро Посмотреть сообщение
На сколько я знаю меняется целиком в сборе.
Спасибо

22.09.2010, 11:33   #4
Владимир Маркин
Аватар для Владимир Маркин
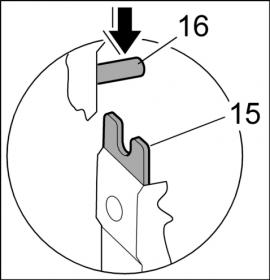
меняется стеклоподъемник , кроме этого, для установки Вам понадобятся стальные клепки 4 шт. (одноразовые) и клипсы обшивки двери 6 шт. (одноразовые).
Миниатюры:
Нажмите на изображение для увеличения
Название: 64520001.jpg
Просмотров: 128
Размер:	8.5 Кб
ID:	3236   Нажмите на изображение для увеличения
Название: 64520002.jpg
Просмотров: 142
Размер:	18.2 Кб
ID:	3237   Нажмите на изображение для увеличения
Название: 64520002_1_a.jpg
Просмотров: 137
Размер:	10.5 Кб
ID:	3238   Нажмите на изображение для увеличения
Название: 64520003_1.jpg
Просмотров: 147
Размер:	15.8 Кб
ID:	3239  
28.09.2010, 11:00   #5
Nanuk
Огромное спасибо, Владимир. Внутренюю металическую панель полностью пока снимать не стал, держиться за счет какой то детали от механичекого замка на двух заклепках, что справа, вверху. Наверное их надо потом срезать, а замок помоему трогать не надо, он не мешает? Может существуют какие то тонкости?
Миниатюры:
Нажмите на изображение для увеличения
Название: 18092010227.jpg
Просмотров: 171
Размер:	1.45 Мб
ID:	3276  
28.09.2010, 11:11   #6
Nanuk
Сообщение от Владимир Маркин Посмотреть сообщение
меняется стеклоподъемник , кроме этого, для установки Вам понадобятся стальные клепки 4 шт. (одноразовые) и клипсы обшивки двери 6 шт. (одноразовые).
Владимир. А будет разумным поменять механизм и на второй, передней, двери вместе с первой? Планирую сделать "шумку" и двери разбирать все равно придется. Как я понимаю механизм стеклоподъемника выходит из строя потому что тросик ржавеет, авто -2004 года. Правый механизм есть в наличии а левый на заказ 1,5 месяца.

28.09.2010, 11:37   #7
Владимир Маркин
Аватар для Владимир Маркин
Сообщение от Nanuk Посмотреть сообщение
Владимир. А будет разумным поменять механизм и на второй, передней, двери вместе с первой? Планирую сделать "шумку" и двери разбирать все равно придется. Как я понимаю механизм стеклоподъемника выходит из строя потому что тросик ржавеет, авто -2004 года. Правый механизм есть в наличии а левый на заказ 1,5 месяца.
Верно, тросик ржавеет от времени и от отсутствии на нем смазки. При установке нового стекло подъемника обязательно обработайте трос смазкой...
Если на другой стороне визуально трос в порядке, достаточно будет его только в виде профилактике обработать смазкой, тогда в будущем его замена не понадобится....

Добавлено через 3 минуты
Сообщение от Nanuk Посмотреть сообщение
Огромное спасибо, Владимир. Внутренюю металическую панель полностью пока снимать не стал, держиться за счет какой то детали от механичекого замка на двух заклепках, что справа, вверху. Наверное их надо потом срезать, а замок помоему трогать не надо, он не мешает? Может существуют какие то тонкости?
рамка двери демонтируется вместе с замком двери...

28.09.2010, 12:11   #8
Nanuk
Владимир.
как собирать?

там моменты с тросиком на ручку наружнюю и с ручкой, с регулировкой двери

28.09.2010, 13:35   #9
Владимир Маркин
Аватар для Владимир Маркин
.......
Миниатюры:
Нажмите на изображение для увеличения
Название: 57300003.jpg
Просмотров: 152
Размер:	22.7 Кб
ID:	3277   Нажмите на изображение для увеличения
Название: 57300016_1_a.jpg
Просмотров: 133
Размер:	13.7 Кб
ID:	3278   Нажмите на изображение для увеличения
Название: 57300016_1.jpg
Просмотров: 141
Размер:	19.3 Кб
ID:	3279   Нажмите на изображение для увеличения
Название: 57300016_1_b.jpg
Просмотров: 147
Размер:	15.4 Кб
ID:	3280   Нажмите на изображение для увеличения
Название: 57300016_1_c.jpg
Просмотров: 140
Размер:	18.4 Кб
ID:	3281  

Нажмите на изображение для увеличения
Название: 57300016_2_a.jpg
Просмотров: 137
Размер:	14.1 Кб
ID:	3282   Нажмите на изображение для увеличения
Название: 57300016_2_b.jpg
Просмотров: 132
Размер:	17.0 Кб
ID:	3283   Нажмите на изображение для увеличения
Название: 57300009_3.jpg
Просмотров: 135
Размер:	22.9 Кб
ID:	3284   Нажмите на изображение для увеличения
Название: 57300009_3_a.jpg
Просмотров: 134
Размер:	17.5 Кб
ID:	3285   Нажмите на изображение для увеличения
Название: 57300009_4.jpg
Просмотров: 147
Размер:	20.2 Кб
ID:	3286  

Нажмите на изображение для увеличения
Название: 57300009_4_a.jpg
Просмотров: 139
Размер:	12.2 Кб
ID:	3287   Нажмите на изображение для увеличения
Название: 57300009_4_b.jpg
Просмотров: 139
Размер:	11.1 Кб
ID:	3288  
28.09.2010, 13:45   #10
Владимир Маркин
Аватар для Владимир Маркин
......регулировка рамки двери проводится 4-мя болтами с торца двери....
Миниатюры:
Нажмите на изображение для увеличения
Название: 57300019_1.jpg
Просмотров: 124
Размер:	17.5 Кб
ID:	3289   Нажмите на изображение для увеличения
Название: 57300019_1_a.jpg
Просмотров: 137
Размер:	14.4 Кб
ID:	3290   Нажмите на изображение для увеличения
Название: 57300019_2.jpg
Просмотров: 136
Размер:	20.1 Кб
ID:	3291   Нажмите на изображение для увеличения
Название: 57300019_2_a.jpg
Просмотров: 141
Размер:	12.2 Кб
ID:	3292   Нажмите на изображение для увеличения
Название: 57300019_2_b.jpg
Просмотров: 121
Размер:	11.1 Кб
ID:	3293  

Нажмите на изображение для увеличения
Название: 57300019_3_c.jpg
Просмотров: 136
Размер:	16.8 Кб
ID:	3294   Нажмите на изображение для увеличения
Название: 57300019_3_b.jpg
Просмотров: 132
Размер:	16.9 Кб
ID:	3295   Нажмите на изображение для увеличения
Название: 57300019_3_a.jpg
Просмотров: 128
Размер:	15.4 Кб
ID:	3296   Нажмите на изображение для увеличения
Название: 57300019_4.jpg
Просмотров: 127
Размер:	19.5 Кб
ID:	3297   Нажмите на изображение для увеличения
Название: 57300020_5.jpg
Просмотров: 117
Размер:	20.5 Кб
ID:	3298  



Метки
механизм, сломаться

Опции темы




Powered by vBulletin® Version 3.8.7
Copyright ©2000 - 2026, vBulletin Solutions, Inc. Перевод: zCarot
Все права на материалы, находящиеся на сайте, охраняются в соответствии с законодательством РФ.
При любом использовании материалов сайта, письменное согласие обязательно.
Торговые марки, логотипы и марки услуг, размещенные на данном сайте, являются собственностью их владельцев.
CayService.ru не связан с Porsche AG или PCNA. ©2026 CayService.ru. Все права защищены.
Яндекс.Метрика