Правила форума Clear

92A производство 2011>>2018 (K;L) Метки цепи ГРМ, мотор 4.8 - Страница 3

11.07.2016, 01:47   #21
klimentiy
Здравствуйте всем! Не стал создавать новую тему, поскольку эта подходит под мой вопрос. Прошу помощи у знающих людей. Проблема вот в чем: имеем Порш Кайен 2011 года.( вернее пока он меня имеет...) Двигатель 48./52. Была течь масла из под передней крышки. Ремонтами моторов занимаюсь очень давно, но последние 10 лет только мерседес. Уговорили меня знакомые разобраться с течью и снять переднюю крышку. В общем ничего сложного. Но... Видимо жара в голову бахнула и я при съёме крышки забыл застопорить цепь и пометить положения. Наверное думал что это двиг очередного мерседеса на который и знаний и приспособ в достатке..Соответственно цепь перескочила... Стал искать инфу как её выставить. Нашёл ваш форум, нашёл информацию по меткам и шаблону. Но не нашёл где метка ВМТ на шкиве. (шкив очень ржавый). Понял одно- на 4.5 метка вмт не там где на 4.8 .(у меня дырка для фиксации если смотреть по валам 1-го цилиндра строго вверху, а не в низу). Поэтому прошу помощи в этом вопросе. Кое как с помощью шестого чувства пока выставил метки. Машину завел работает конечно не ровно и получил ошибку р0018. Понятно что ошибся на зубах и судя по ошибке на левой голове. Нужно переставлять. Проблема в том, что не знаю точную метку вмт ну и конечно же нет шаблона для распредвалов. Я сам из Питера-там бы решил проблему быстро, но сейчас живу в Ялте, а здесь шаблон точно не найти. Изготовить по размерам - без проблем. Купить конечно можно , но ради одной машины как-то нецелесообразно. И доставка будет больше недели. Поэтому очень прошу помощи в этом вопросе (не безвозмездно) Надеюсь на помощь и дельные советы!
11.07.2016, 17:11   #22
Владимир Маркин
Аватар для Владимир Маркин
Регулировка фаз газораспределения

Предварительные работы
1. Снять крышки ГБЦ (клапанные крышки) обоих радов цилиндров.
2. Для облегчения проворачивания коленвала следует демонтировать свечи зажигания.

Инструменты и материалы

Специальный инструмент
Инструмент для регулировки фаз газораспределения
1 - Оба нивелировочных инструмента следует использовать попарно для регулировки распредвалов. Нивелировочный инструмент 9678/1 . Инструменты следует использовать зеркально для обеих ГБЦ.
2 - Стопорный штифт фиксирующие штифты 9595/1 используется для стопорного отверстия между гасителем колебаний и крышкой цепи ГРМ для регулировки в.м.т.
3 - Монтажный натяжитель ремня вспомогательный натяжитель ремня 9683/1 необходим для точной регулировки фаз газораспределения из-за погрешностей длинной цепи ГРМ в двигателе V8. Он не подходит для 4,5-литровых двигателей. В разъем залить несколько капель стандартного нагнетаемого масла (предупреждает закисание внутреннего поршня). Рабочее давление от 5,0 до 5,5 бар.
4 - Шланг нагнетаемого воздуха для вспомогательного натяжителя цепи 9683/1

Информация
Правильная регулировка и возможные неисправности

1. Регулировка фаз газораспределения. Фиксирующий инструмент устанавливается между цилиндрами 3 / 4 и 7 / 8. Он осторожно и равномерно при вращении взад и вперед распредвалов за шестигранники накручивается на ГБЦ (от руки).

Фиксирующий инструмент и распредвалы
1 - Фиксирующий инструмент Фиксирующий инструмент 9678/1. Два одинаковых фиксирующих инструмента необходимы для четырех распредвалов.
2 - Боковые поверхности (двугранный угол) в качестве фиксатора между фиксирующим инструментом и распредвалами; совпадает только в одном положении.
3 - Болты клапанной крышки для равномерного накручивания фиксирующего инструмента на ГБЦ
4 - Шестигранник для проворачивания распредвалов

2. Фиксирующий инструмент осторожно и равномерно при вращении взад и вперед распредвалов за шестигранники надеть на ГБЦ (от руки). Не прилагать чрезмерное усилие, действовать аккуратно и осторожно.
3. В данном положении регулировка не возможна, поскольку широкая часть боковых поверхностей (двугранный угол) направлена вверх. Провернуть распредвалы, пока узкая часть не будет направлена вверх.
4. В данном положении регулировка не возможна, поскольку широкая часть боковых поверхностей (двугранный угол) одного распредвала направлена вверх. Данный распредвал провернуть, пока узкая часть не будет направлена вверх.
5. В данном положении регулировка не возможна, поскольку широкая часть боковых поверхностей (двугранный угол) одного распредвала направлена вверх. Распредвал стоит немного неровно. Распредвалы провернуть, пока узкая часть обоих распредвалов не будет направлена строго вверх.
6. В данном положении регулировка не возможна, поскольку один распредвал стоит немного неровно. Данный распредвал слегка провернуть, пока узкая часть не будет направлена вверх.
7. В данном положении регулировка не возможна, поскольку фиксирующий инструмент перекручен. Повернуть фиксирующий инструмент. Учитывать разницу в высоте инструмента и положение распредвалов в ГБЦ
8. При правильном положении распредвалов (обе боковые поверхности распредвалов узкой частью направлены симметрично вверх) инструмент можно легко надеть
9. Для равномерного накручивания фиксирующего инструмента на ГБЦ прикрепить его с помощью болтов клапанной крышки. В зависимости от зазоров между деталями распредвалов или на ГБЦ инструмент может фиксироваться или непосредственно на ГБЦ, или на небольшом расстоянии от нее. Достаточно визуальной проверки, при необходимости с помощью фонаря. Необходимо соблюдать одинаковое расстояние с обеих сторон. Болты клапанной крышки закручиваются от руки.
10. Фиксирующий инструмент установлен на ГБЦ неровно. Необходимо соблюдать одинаковое расстояние с обеих сторон. Внимание: в данном случае неправильную установку можно не заметить.

Регулировка фаз газораспределения

Уведомление
Неправильное обращение с коленвалом
Повреждение привода ГРМ
Запрещается проворачивать коленчатый вал в направлении, противоположном движению хода, или при демонтированном натяжителе цели.
Соблюдать осторожность при проведении работ.
Проворачивать двигатель только за коленчатый вал.
После работ с распределительным валом заново отрегулировать фазы газораспределения.
Соблюдать общие указания по технике безопасности и правила работы.

Уведомление
Неправильная регулировка фаз газораспределения
Повреждение двигателя
Неровная работа двигателя
Потеря мощности двигателя

Установить фиксирующий инструмент без применения силы.
Соблюсти равномерный зазор на обеих сторонах.
При установке фиксирующего инструмента не проворачивать распредвал с применением силы в направлении, противоположном ходу распредвала.
Двигатель должен находиться точно в ВМТ.
Противоположный цилиндр должен находиться в точке ВМТ зажигания.

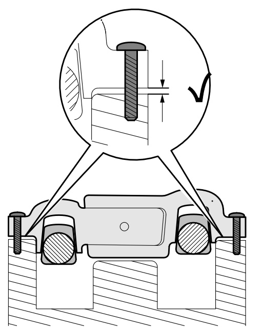
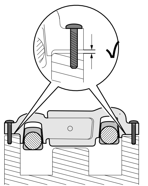
1. Провернуть коленчатый вал за гаситель колебаний с помощью насадки торцового ключа 9714 таким образом, чтобы стопорное отверстие гасителя колебаний -2- находилось прибл. за 45° перед нижней точкой фиксации на крышке кожуха ГРМ -1- .
2. Ослабить регуляторы фаз газораспределения и звездочки четырех распределительных валов лишь настолько, чтобы они едва могли свободно вращаться (следует обязательно избежать покачивания). При этим обязательно удерживать за шестигранники компонентов.
3. Вывернуть натяжитель цепи двигателя. Подложить ветошь из-за капающего масла.
4. Ввернуть от руки монтажный натяжитель цепи вспомогательный натяжитель цепи 9683/1. Подсоединить сжатый воздух под давлением 1 бар и медленно увеличить давление до 5,0 – 5,5 бар (предотвращает удар монтажного натяжителя цепи о цепь ГРМ). -стрелка-
5. Вращать шестигранники четырех распредвалов гаечным ключом до положения, при котором фиксирующая планка 9678/1 может быть установлена одновременно и равномерно на боковые поверхности (двугранный угол) впускного и выпускного распредвалов между цилиндрами 3 / 4 и 7 / 8. Возможные неисправности см. выше (глава “Информация”).
5.1. Установить фиксирующую планку в соотв. с приведенной выше главой “Правильная установка и возможные неисправности”.
5.2. Установить фиксирующую планку над бок. поверхностями обоих распредвалов так, чтобы узкие концы бок. поверхностей распредвалов были направлены вверх к планке. При установке фиксирующей планки следует учитывать конструктивную разность высот распредвалов в ГБЦ. При необходимости повернуть фиксирующую планку.
5.3. Осторожно проворачивать распределительные валы за шестигранники рожковым ключом, до появления возможности смонтировать фиксирующий инструмент на боковые поверхности. Затем попеременно вращать туда и обратно распределительные валы за шестигранник и медленно и осторожно подтягивать винты клапанной крышки на фиксирующем инструменте. Этот процесс необходимо выполнять таким образом, чтобы фиксирующий инструмент отстоял от головки блока цилиндров на одинаковом расстоянии с обеих сторон (визуальная проверка с помощью карманного фонарика). В зависимости от допусков изготовления, возможно что фиксирующий инструмент будет соприкасаться непосредственно с головкой блока цилиндров или будет находится на расстоянии от нее. Если фиксирующий инструмент смонтирован равномерно и распределительный вал более не имеет зазора при проворачивании шестигранника, то все зафиксировано правильно.
5.4. Аналог. образом регулировать другой ряд цилиндров (зафиксировать распредвалы).
5.5. Теперь все четыре распредвала равномерно и без зазора зафиксированы обеими планками. Между бок. поверхностями распредвалов и фиксир. планкой не должно проявляться зазоров при свете лампы.
6. Вставить стопорный штифт фиксирующие штифты 9595/1 в отверстие для фиксации гасителя крутильных колебаний -2- .
Из-за недостатка свободного пространства вместо фиксирующего штифта 9595/1 можно использовать винт M8 x 50–65.
Например: Номер запчасти: 900.385.071.01 винт M8 x 50 или 999.073.411.01 винт M8 x 60.
7. Провернуть коленчатый вал за гаситель крутильных колебаний таким образом -3- , чтобы стопорный штифт в гасителе крутильных колебаний выскользнул в нижней точке фиксации на крышке кожуха ГРМ -1- . При этом в ходе вращения оказывать небольшое давление на стопорный штифт.
8. При ошибочном проворачивании демпфера вращение в обратном направлении запрещено! Снять фиксирующую планку и вращать распредвалы с наименьшим нажатием на пружины клапанов. Один раз провернуть коленвал и возобновить регулировку.
9. Распредвал и коленвал закреплены правильно.

Установленные инструменты
1 - Ввинченный монтажный натяжитель цепи, давление примерно 5,0 – 5,5 бар.
2 - Две фиксирующие планки, установленные на распредвалах.
3 - Стопорный штифт фиксирует коленвал в ВМТ цил. 1.

10. Затянуть регуляторы фаз газораспределения и звездочки четырех распределительных валов в соответствии с предписанием. При этом обязательно удерживать за шестигранники компонентов.Соблюдать при этом следующую последовательность =>

1) Звездочка выпускного распредвала цилиндров с 1 по 4
2) Регулятор фаз газораспределения впускного распределительного вала цилиндров с 1 по 4
3) Регулятор фаз газораспределения впускного распределительного вала цилиндров с 5 по 8
4) Звездочка выпускного распредвала цилиндров с 5 по 8

Регулирование фаз газораспределения
1 - Винт M12, полная затяжка после регулировки фаз газораспределения!; винт не следует менять для регулировки
2 - Регулятор фаз газораспределения с интегрированным шестигранником для удержания
3 - Гидравлический клапан системы регулирования фаз газораспределения (NVS)
4 - Болт M5 x 12

Цепь ГРМ и звездочки
1 - Двухрядная цепь привода распредвалов
2 - Звездочка распределительного вала с интегрированным шестигранником для удержания
3 - Винт M12, полная затяжка после регулировки фаз газораспределения!; винт не следует менять для регулировки
4 - Направляющая планка
5 - Винт M8 x 35
6 - Поверхность скольжения распредвал-распредвал
A - Направление движения

11. Снять инструменты.
12. Смонтировать натяжитель цепи.

Дополнительные работы
1. Смонтировать свечи зажигания.
2. Установить крышки ГБЦ (клапанные крышки) обоих рядов цилиндров.
Миниатюры:
Нажмите на изображение для увеличения
Название: Специальный инструмент 9595.1.jpg
Просмотров: 324
Размер:	57.3 Кб
ID:	12673   Нажмите на изображение для увеличения
Название: Специальный инструмент 9678.1.jpg
Просмотров: 239
Размер:	61.2 Кб
ID:	12674   Нажмите на изображение для увеличения
Название: Специальный инструмент 9683.1.jpg
Просмотров: 216
Размер:	55.7 Кб
ID:	12675   Нажмите на изображение для увеличения
Название: Специальный инструмент 9714.jpg
Просмотров: 193
Размер:	44.2 Кб
ID:	12676   Нажмите на изображение для увеличения
Название: Инструмент для регулировки фаз газораспределения.jpg
Просмотров: 230
Размер:	48.3 Кб
ID:	12677  

Нажмите на изображение для увеличения
Название: Фиксирующий инструмент и распредвалы.jpg
Просмотров: 230
Размер:	78.8 Кб
ID:	12678   Нажмите на изображение для увеличения
Название: Проворачив.распредв. во время монтажа инструм..jpg
Просмотров: 257
Размер:	80.8 Кб
ID:	12680   Нажмите на изображение для увеличения
Название: Оба распредвала в неправильном положении.jpg
Просмотров: 210
Размер:	73.9 Кб
ID:	12681   Нажмите на изображение для увеличения
Название: Один в прав. полож., второй  неправ. полож..jpg
Просмотров: 207
Размер:	74.2 Кб
ID:	12682   Нажмите на изображение для увеличения
Название: Оба распредв. - каждый по своему - в неправ. полож..jpg
Просмотров: 181
Размер:	72.5 Кб
ID:	12683  

Нажмите на изображение для увеличения
Название: Один распр. в прав. полож. и один распр. в слегка непра.jpg
Просмотров: 212
Размер:	71.5 Кб
ID:	12684   Нажмите на изображение для увеличения
Название: Перекруч. фиксир. инстр. (констр. разница в высоте рас.jpg
Просмотров: 186
Размер:	74.2 Кб
ID:	12685   Нажмите на изображение для увеличения
Название: Равномерная установка на распредвалы.jpg
Просмотров: 235
Размер:	77.1 Кб
ID:	12686   Нажмите на изображение для увеличения
Название: Равн. прикручив. фиксир. инструм. на ГБЦ.jpg
Просмотров: 217
Размер:	76.9 Кб
ID:	12687   Нажмите на изображение для увеличения
Название: Неровн. несим. устан. фиксир. инструм. на ГБЦ.jpg
Просмотров: 191
Размер:	76.5 Кб
ID:	12688  

Нажмите на изображение для увеличения
Название: Стоп. отв. под угл. 45 град. до ВМТ перекр. цил. 1.jpg
Просмотров: 257
Размер:	118.2 Кб
ID:	12689   Нажмите на изображение для увеличения
Название: Звездочка.jpg
Просмотров: 284
Размер:	202.2 Кб
ID:	12690   Нажмите на изображение для увеличения
Название: Фазовращатель.jpg
Просмотров: 502
Размер:	178.2 Кб
ID:	12691   Нажмите на изображение для увеличения
Название: Монтажный натяжитель цепи.jpg
Просмотров: 568
Размер:	176.4 Кб
ID:	12692   Нажмите на изображение для увеличения
Название: Шестигранник на распредвале.jpg
Просмотров: 243
Размер:	150.4 Кб
ID:	12693  

Нажмите на изображение для увеличения
Название: Вращ.распр. во время установки инструмента.jpg
Просмотров: 232
Размер:	78.8 Кб
ID:	12696   Нажмите на изображение для увеличения
Название: Равномерное крепление винтами фиксирующей планки к .jpg
Просмотров: 316
Размер:	76.5 Кб
ID:	12697   Нажмите на изображение для увеличения
Название: Отверстие в демпфере.jpg
Просмотров: 433
Размер:	117.9 Кб
ID:	12698   Нажмите на изображение для увеличения
Название: Положение фиксатора в крышке ГРМ.jpg
Просмотров: 253
Размер:	118.1 Кб
ID:	12699   Нажмите на изображение для увеличения
Название: Установленные инструменты.jpg
Просмотров: 390
Размер:	175.6 Кб
ID:	12700  

Нажмите на изображение для увеличения
Название: Регулирование фаз газораспределения.jpg
Просмотров: 302
Размер:	63.6 Кб
ID:	12701   Нажмите на изображение для увеличения
Название: Цепь ГРМ и звездочки.jpg
Просмотров: 318
Размер:	84.1 Кб
ID:	12702  
11.07.2016, 18:37   #23
Владимир Маркин
Аватар для Владимир Маркин
Сообщение от klimentiy Посмотреть сообщение
Здравствуйте всем!
Добрый день.

Сообщение от klimentiy Посмотреть сообщение
Надеюсь на помощь и дельные советы!
Инструкция по всем работам выше. С Вас фотоотчет!
11.07.2016, 23:38   #24
klimentiy
Спасибо Владимир за очень подробный ответ! Всё просто и понятно (при наличии инструмента которого у меня нет) Но это пол беды.... Все то что написано читал ранее здесь же. По описанию дырка для стопора в демпфере коленвала в положении ВМТ должна быть внизу. Если я ставлю колено в такое положение у меня 1 цилиндр даже близко не становится в ВМТ. Только когда отверстие ровно на противоположной стороне (вверху) на 1-м цилиндре клапана закрыты и поршень вверху. Регулировочные кулачки узкой стороной смотрят вверх как на рисунке. Поэтому я подумал что на этом моторе метка вмт ставиться по-другому. Демпфер снимал- шпонка на месте. Единственно он мне сам по себе не нравится-для 2011года слишком ржавый. Цепь я поставил по- своему способу, (отверстие для фиксатора вверху) машина заводиться, пропусков воспламенения нет, только ошибка 0018 по фазам левой головы. Я понимаю где ошибся -на выпускном валу. Он перескочил только на зуб , а я его вернул на два. Как такое может быть с ВМТ? Или чего-то не понимаю?
12.07.2016, 01:31   #25
klimentiy
Нажмите на изображение для увеличения
Название: Положение фиксатора в крышке ГРМ 1.JPG
Просмотров: 223
Размер:	66.8 Кб
ID:	12705
Вот так у меня стоит демпфер когда 1-й цилиндр в ВМТ. Может я конечно совсем с ума сошёл и путаю первый с пятым? Или конструкторы Порш решили правую(пассажирскую) голову сделать банк2? Думаю вряд ли...Я встречал несколько америкосовских двигов с отсчетом первого горшка на водительской голове, но не думаю что здесь немцы вытворили то же самое...
12.07.2016, 19:53   #26
Владимир Маркин
Аватар для Владимир Маркин
По ходу движения автомобиля:
левая сторона Банк 2 (водителя)
правая сторона Банк 1 (переднего пассажира)
Миниатюры:
Нажмите на изображение для увеличения
Название: Двигатель M48.52 в разрезе.jpg
Просмотров: 233
Размер:	216.7 Кб
ID:	12712  
11.02.2019, 18:48   #27
Vitamin701
А не подскажите моменты затяжки регулятора фаз и звездочки, а так же крышек постелей распредвалов на данный мотор?
11.02.2019, 22:48   #28
Владимир Маркин
Аватар для Владимир Маркин
Сообщение от Vitamin701 Посмотреть сообщение
А не подскажите моменты затяжки регулятора фаз
1 Винт M12, полная затяжка после регулировки фаз газораспределения! ; винт подлежит замене; предварительная затяжка 1-й этап Момент затяжки 10 Nm ; предварительная затяжка, 2-й этап Момент затяжки 30 Nm ; предварительная затяжка, 3-й этап (угол затяжки) Угол затяжки 100 ° ; процесс ослабления, 1-й этап Угол затяжки 90 ° ; процесс ослабления, 2-й этап Угол затяжки 360 ° ; окончательная затяжка, 1-й этап Момент затяжки 30 Nm ; окончательная затяжка, 2-й этап (угол затяжки) Угол затяжки 135 °

2 Регулятор фаз газораспределения с интегрированным шестигранником для удержания

3 Гидравлический клапан системы регулирования фаз газораспределения (NVS)

4 Винт M5 x 12 Момент затяжки 6 Nm
Миниатюры:
Нажмите на изображение для увеличения
Название: Система регулирования фаз газораспределения.png
Просмотров: 251
Размер:	60.7 Кб
ID:	19763  
11.02.2019, 22:50   #29
Владимир Маркин
Аватар для Владимир Маркин
Сообщение от Vitamin701 Посмотреть сообщение
А не подскажите моменты затяжки звездочки
1 Двухрядная цепь привода распределительных валов

2 Звездочка распределительного вала с интегрированным шестигранником для удержания

3 Винт M12, полная затяжка после регулировки фаз газораспределения! ; винт подлежит замене; 1-й подход Момент затяжки 10 Nm ; 2-й подход Момент затяжки 50 Nm ; окончательная затяжка (угол затяжки) Угол затяжки 90 °

4 Направляющая шина

5 Винт M8 x 35 Момент затяжки 32 Nm

6 Поверхность скольжения распредвал–распредвал

A Направление движения
Миниатюры:
Нажмите на изображение для увеличения
Название: Цепь ГРМ и звездочки.png
Просмотров: 469
Размер:	95.3 Кб
ID:	19765  
11.02.2019, 22:53   #30
Владимир Маркин
Аватар для Владимир Маркин
Сообщение от Vitamin701 Посмотреть сообщение
А не подскажите моменты затяжки крышек постелей распредвалов на данный мотор?
https://forum.cayservice.ru/showthre...80%D0%BE%D0%B2

Метки
банк, винт, затяжка, момент, сторона, угол, этап



Левый уголок Похожие темы Правый уголок
Тема Автор Раздел Ответов Последнее сообщение
Добрый день,куплю для себя каен турбо. сенька Автомобиль - в целом 5 24.02.2014 22:27
Добрый день! Б/У запчасти на Кайен. vrazbor-VW@mail.ru Кузов 0 09.03.2013 22:37
Добрый день! Б/У запчасти на ПОРШЕ КАЙЕН vrazbor-VW@mail.ru Кузов 0 28.02.2013 19:12
5 сентября 2010 « День энергетика (День нефтяника и газовщика) Манделла Болталка 29 08.09.2010 15:46
день добрый теоретик Добро пожаловать! 25 28.02.2010 05:05



Powered by vBulletin® Version 3.8.7
Copyright ©2000 - 2025, vBulletin Solutions, Inc. Перевод: zCarot
Все права на материалы, находящиеся на сайте, охраняются в соответствии с законодательством РФ.
При любом использовании материалов сайта, письменное согласие обязательно.
Торговые марки, логотипы и марки услуг, размещенные на данном сайте, являются собственностью их владельцев.
CayService.ru не связан с Porsche AG или PCNA. ©2025 CayService.ru. Все права защищены.
Яндекс.Метрика