Правила форума Clear

подскажите как снимаются передние фары

25.12.2012, 21:18   #1
Валерий 007
если можно с фото
26.12.2012, 13:22   #2
Владимир Маркин
Аватар для Владимир Маркин
Для замены ламп в передних фарах используются...

Halogen Scheinwerfer


Übersicht Halogen Scheinwerfer Einbauort
1 - Glühlampe für Blinkleuchte. PY 21 W, 12V (Glühlampe gelb)
2 - Glühlampe für Zusatzfernlicht. H7 (12V, 55W)
3 - Glühlampe für Fernlicht. H7 (12V, 55W)
4 - Glühlampe für Standlicht. W5W (12V, 5W)
5 - Glühlampe für Abblendlicht. H7 (12V, 55W)



Bi-Xenon Scheinwerfer


Übersicht Bi-Xenon Scheinwerfer Einbauort
1 - Glühlampe für Blinkleuchte. PY 21 W, 12V (Glühlampe gelb)
2 - Glühlampe für Zusatzfernlicht. H7 (12V, 55W)
3 - Glühlampe für Kurvenlicht. H3 (12V, 55W)
4 - Glühlampe für Standlicht. W5W (12V, 5W)
5 - Gasentladungslampe Bi-Xenon für Abblendlicht und Fernlicht. D1S (12V, 35W)



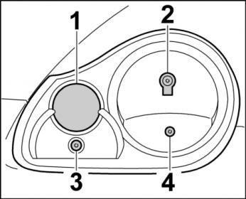
Halogen Scheinwerfer USA


Übersicht Halogen Scheinwerfer USA Einbauort
1 - Glühlampe für Blinkleuchte. PY 21 W, 12V (Glühlampe gelb)
2 - Glühlampe für Abblendlicht. H7 (12V, 55W)
3 - Glühlampe für Fernlicht. H7 (12V, 55W)
4 - Glühlampe für Standlicht. W5W (12V, 5W)
Миниатюры:
Нажмите на изображение для увеличения
Название: 94150014.gif
Просмотров: 96
Размер:	4.1 Кб
ID:	7131   Нажмите на изображение для увеличения
Название: 94150019.gif
Просмотров: 90
Размер:	4.7 Кб
ID:	7132   Нажмите на изображение для увеличения
Название: 94150015.gif
Просмотров: 106
Размер:	5.7 Кб
ID:	7133   Нажмите на изображение для увеличения
Название: 94151001.jpg
Просмотров: 98
Размер:	14.6 Кб
ID:	7134   Нажмите на изображение для увеличения
Название: 94150016.gif
Просмотров: 104
Размер:	5.0 Кб
ID:	7135  

Нажмите на изображение для увеличения
Название: 94150017.gif
Просмотров: 82
Размер:	5.3 Кб
ID:	7136   Нажмите на изображение для увеличения
Название: 94150024.jpg
Просмотров: 86
Размер:	17.9 Кб
ID:	7137  
26.12.2012, 18:51   #3
Валерий 007
спасибо большое !!!

Добавлено через 1 минуту
Владимир Маркин, А где такой ключ можно купить ?
26.12.2012, 19:16   #4
Старатель
ну все, теперь фары начнут пропадать чаще)))
27.12.2012, 00:12   #5
Павлуха40
+1000
27.12.2012, 01:53   #6
Dixi
Аватар для Dixi
Сообщение от Старатель Посмотреть сообщение
ну все, теперь фары начнут пропадать чаще)))
они и так уже )))

Метки
передний, подсказать





Powered by vBulletin® Version 3.8.7
Copyright ©2000 - 2025, vBulletin Solutions, Inc. Перевод: zCarot
Все права на материалы, находящиеся на сайте, охраняются в соответствии с законодательством РФ.
При любом использовании материалов сайта, письменное согласие обязательно.
Торговые марки, логотипы и марки услуг, размещенные на данном сайте, являются собственностью их владельцев.
CayService.ru не связан с Porsche AG или PCNA. ©2025 CayService.ru. Все права защищены.
Яндекс.Метрика