Правила форума Clear

9PA производство 2003>>2006 (L) Где узнать моменты затяжки болтов? 955

11.03.2024, 23:12   #21
Владимир Маркин
Аватар для Владимир Маркин
Сообщение от Vskoltschik Посмотреть сообщение
передней крышки ГРМ
Внешние крепежные винты должны быть качества 10.9.
Если установлены винты качества 8.8, то их необходимо заменить.
Винты 1 - 4 (M6 / 8.8) затянуть с моментом 10 Нм.
Винты 5 - 6 (M8 / 8.8) затянуть с моментом 23 Нм.
Винты 7 - 32 (M6 / 10.9) затянуть с моментом 13 Нм.
После этого еще раз проверить все винты (второй проход).

1 по 4 Момент затяжки 10 Nm
5 по 6 Момент затяжки 23 Nm
7 по 32 Момент затяжки 13 Nm
Миниатюры:
Нажмите на изображение для увеличения
Название: Последовательность затяжки крышки цепи.jpg
Просмотров: 5982
Размер:	69.1 Кб
ID:	75627  
11.03.2024, 23:16   #22
Владимир Маркин
Аватар для Владимир Маркин
Сообщение от Vskoltschik Посмотреть сообщение
шкива к.вала
Затянуть центральный винт. предварительная затяжка 20 Nm , затем предварительная затяжка 50 Nm , затем предварительная затяжка 250 Nm
Затянуть центральный винт с углом затяжки. угол конечной затяжки 90 °
Миниатюры:
Нажмите на изображение для увеличения
Название: Центральный винт.jpg
Просмотров: 6003
Размер:	165.0 Кб
ID:	75628  
11.03.2024, 23:18   #23
Владимир Маркин
Аватар для Владимир Маркин
Сообщение от Vskoltschik Посмотреть сообщение
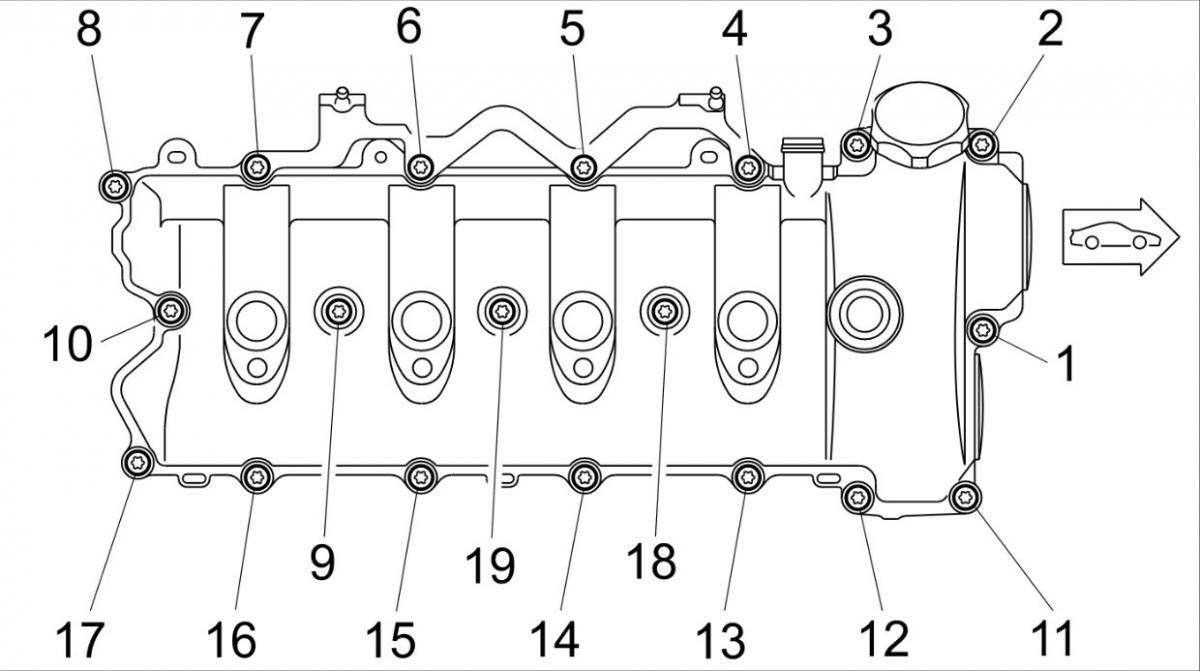
клапанных крышек
Установить все крепежные болты и затянуть их в правильной последовательности Момент затяжки 13 Nm -см. рисунки для обоих рядов цилиндров- .
Болты -18 и 19 ряд цилиндров 1 - 4- используются позднее вместе с консолью качающейся опоры.
Миниатюры:
Нажмите на изображение для увеличения
Название: Крышка ГБЦ – ряд цилиндров 1 - 4.jpg
Просмотров: 5990
Размер:	80.6 Кб
ID:	75629   Нажмите на изображение для увеличения
Название: Крышка ГБЦ – ряд цилиндров 5 - 8.jpg
Просмотров: 5977
Размер:	80.3 Кб
ID:	75630  

Метки
болт, винт, затем, затяжка, затянуть, коренной, крышка, момент, обтяжка, открытый, предварительный, тема, угол, центральный





Powered by vBulletin® Version 3.8.7
Copyright ©2000 - 2025, vBulletin Solutions, Inc. Перевод: zCarot
Все права на материалы, находящиеся на сайте, охраняются в соответствии с законодательством РФ.
При любом использовании материалов сайта, письменное согласие обязательно.
Торговые марки, логотипы и марки услуг, размещенные на данном сайте, являются собственностью их владельцев.
CayService.ru не связан с Porsche AG или PCNA. ©2025 CayService.ru. Все права защищены.
Яндекс.Метрика