| 
			
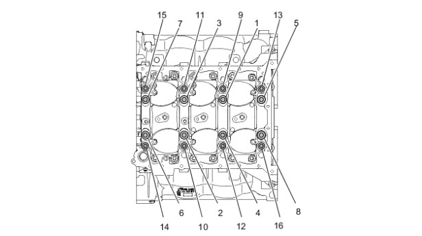
			Последовательность затяжки картера двигателя
 1 по 16	Последовательность затяжки винтов M11 и M10 => учитывать разные моменты затяжки!
 -	Последовательность затяжки нижней части картера двигателя на верхней части картера двигателя (короноподобного резьбового соединения M8): начать в середине, затянуть равномерно крест-накрест
 
 Алюминиевый винт M8 x 70; (короноподобное резьбовое соединение); алюминиевые винты всегда подлежат замене; Предварительная затяжка 10 Nm  и Окончательная затяжка 90 °
 Винт M10 постели подшипников; затянуть винты в течение 5 минут; соблюдать последовательность затяжки! Предварительная затяжка 22 Nm Угол затяжки 60 °
 
 Информация
 Винты четвертого коренного подшипника (4WD) (направляющая поперечной трубы полного привода) короче чем на двигателе 2WD.
 Не перепутать винты коренных подшипников!
 
 Винт M11 постели подшипников; затянуть винты в течение 5 минут; соблюдать последовательность затяжки! Предварительная затяжка 30 Nm Угол затяжки 90 °
 
 Информация
 Винты четвертого коренного подшипника (4WD) (направляющая поперечной трубы полного привода) короче чем на двигателе 2WD.
 Не перепутать винты коренных подшипников!
 
 Винт M11 постели подшипников; затянуть винты в течение 5 минут; соблюдать последовательность затяжки! Предварительная затяжка 30 Nm Угол затяжки 90 °
 
 Информация
 Винты четвертого коренного подшипника (4WD) (направляющая поперечной трубы полного привода) короче чем на двигателе 2WD.
 Не перепутать винты коренных подшипников!
 
 Винт M10 постели подшипников; затянуть винты в течение 5 минут; соблюдать последовательность затяжки! Предварительная затяжка 22 Nm Угол затяжки 60 °
 
 Информация
 Винты четвертого коренного подшипника (4WD) (направляющая поперечной трубы полного привода) короче чем на двигателе 2WD.
 Не перепутать винты коренных подшипников!
 
 Алюминиевый винт M8 x 70; (короноподобное резьбовое соединение); алюминиевые винты всегда подлежат замене; Предварительная затяжка 10 Nm  и Окончательная затяжка 90 °
 Винт M8 x 35 Момент затяжки 23 Nm
 Винт M8 x 50 Момент затяжки 23 Nm
 Миниатюры:   |