Правила форума Clear

9PA производство 2003>>2006 (L) Снятие и установка датчика дождя или датчика дождя и освещенности

20.02.2010, 19:52   #1
Владимир Маркин
Аватар для Владимир Маркин
Инструкция
Снятие и установка датчика дождя и датчика дождя и освещенности идентичны.

В зависимости от комплектации автомобиля (тонировка лобового стекла) устанавливаются различные датчики

Снятие:
– Выключить зажигание и все электрические потребители, извлечь ключ зажигания.
– Демонтировать салонное зеркало заднего вида
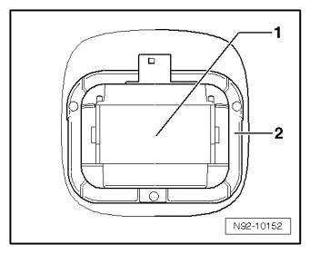
– Отсоединить штекерное соединение -1- от датчика дождя или датчика дождя и освещенности -2-.
– Поддеть, например с помощью шлицевой отвертки, датчик дождя или датчик дождя и освещенности -1- из держателя -2-.

Инструкция
Извлечь при снятии весь датчик дождя или датчик дождя и освещенности , а не только наружную оболочку датчика дождя или датчика дождя и освещенности.

Установка:
Установка осуществляется в обратной последовательности, при этом необходимо учитывать следующее:

Инструкция
Перед установкой тщательно очистить наружную поверхность лобового стекла, внутри держателя датчика дождя или датчика дождя и освещенности.
Наружная поверхность (соединительная подушка) датчика дождя -G213- или датчика дождя и освещенности не должна быть загрязнена при установке.
Если наружная поверхность (соединительная подушка) датчика дождя или датчика дождя и освещенности загрязнена, ее можно очистить с помощью „приклеивания“ и последующего „отрывания“ одной или нескольких полосок липкой ленты.
После установки датчика дождя или датчика дождя и освещенности между лобовым стеклом и сенсорной поверхностью датчика не должно остаться воздушных пузырьков.
Миниатюры:
Нажмите на изображение для увеличения
Название: N92-10151.jpg
Просмотров: 1214
Размер:	14.6 Кб
ID:	1010   Нажмите на изображение для увеличения
Название: N92-10152.jpg
Просмотров: 1327
Размер:	14.0 Кб
ID:	1011  

Метки
датчик, дождь





Powered by vBulletin® Version 3.8.7
Copyright ©2000 - 2025, vBulletin Solutions, Inc. Перевод: zCarot
Все права на материалы, находящиеся на сайте, охраняются в соответствии с законодательством РФ.
При любом использовании материалов сайта, письменное согласие обязательно.
Торговые марки, логотипы и марки услуг, размещенные на данном сайте, являются собственностью их владельцев.
CayService.ru не связан с Porsche AG или PCNA. ©2025 CayService.ru. Все права защищены.
Яндекс.Метрика