Правила форума Clear

9PA производство 2003>>2006 (L) Не заводится после замены топливного фильтра - Страница 2

10.10.2018, 20:31   #11
Домье
Аватар для Домье
для расширения кругозора , спрошу на самом технически подкованном форуме .
Как работает бак ?
приезжает машина на заправку с горящей лампой , наливает полный бак в этот момент идет перекачка или сначала полная правая часть .
дальше с полный баком поездка опять до лампы , насосы поочередно работают или идет перелив . знаю что на максимальной мощности начинают оба работать
10.10.2018, 20:50   #12
Владимир Маркин
Аватар для Владимир Маркин
Сообщение от Домье Посмотреть сообщение
Как работает бак ?
приезжает машина на заправку с горящей лампой , наливает полный бак в этот момент идет перекачка или сначала полная правая часть .
дальше с полный баком поездка опять до лампы , насосы поочередно работают или идет перелив . знаю что на максимальной мощности начинают оба работать
Перекачка из одного отсека в другой происходит за счет эжекционных насосов в самом топливном баке, на дне находятся слева и справа
Миниатюры:
Нажмите на изображение для увеличения
Название: Эжекционный насос.jpg
Просмотров: 3405
Размер:	45.0 Кб
ID:	18572  
10.10.2018, 21:02   #13
Владимир Маркин
Аватар для Владимир Маркин
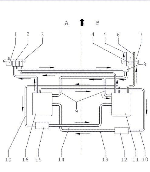
Схема подключения топливопроводов и деталей внутри топливного бака

-A- Левая сторона бака

-стрелка- указывает направление движения автомобиля

-B- Правая сторона бака


1 - Гравитационный клапан

левая сторона

2 - Фланец

левая сторона

3 - Топливный фильтр

4 - Гравитационный клапан

правая сторона

5 - Напорная магистраль

к топливной рампе

6 - Напорная магистраль автономного отопителя

7 - Фланец

правая сторона

8 - Регулятор давления топлива

9 - Обратная магистраль

от регулятора давления топлива

к модулю подачи топлива с левой и с правой стороны

10 - Напорный трубопровод эжекционных насосов

11 - Модуль подачи топлива

правая сторона

с

Датчик уровня топлива

Подкачивающий топливный насос

12 - Эжекционный насос

правая сторона

13 - Подающий трубопровод

чёрный

к модулю подачи топлива, левая сторона

14 - Подающий трубопровод

чёрный

к модулю подачи топлива, правая сторона

15 - Эжекционный насос

левая сторона

16 - Модуль подачи топлива

левая сторона

с

Датчик уровня топлива

Топливный насос
Миниатюры:
Нажмите на изображение для увеличения
Название: Топливный бак.jpg
Просмотров: 3401
Размер:	64.1 Кб
ID:	18573  
19.09.2023, 12:09   #14
onisim39
Сообщение от Владимир Маркин Посмотреть сообщение

Откройте снова лючки топливного бака и посмотрите равномерно ли количество топлива в отсеках топливного бака (слева и справа)
Владимир , в отсеках всегда должно быть +- равномерное количество бензина ? Если оба насоса в порядке? Если к примеру в правом его мало а в левом визуально гораздо больше , о чем можно думать ?
19.09.2023, 13:51   #15
Владимир Маркин
Аватар для Владимир Маркин
Сообщение от onisim39 Посмотреть сообщение
Владимир , в отсеках всегда должно быть +- равномерное количество бензина ?
Примерно да

Сообщение от onisim39 Посмотреть сообщение
Если к примеру в правом его мало а в левом визуально гораздо больше , о чем можно думать ?
Возможно с подключением что-то не так или эжекционными насосами

Метки
бак, заводиться, замена, напряжение, насос, полный, после, правый, работать, сторона, топливный, топливо, фильтр



Левый уголок Похожие темы Правый уголок
Тема Автор Раздел Ответов Последнее сообщение
[9PA] Замена топливного фильтра ведет к выходу из строя бензонасоса PORSCHE Cayenne? tizn Система питания 193 24.03.2025 12:57
[9PA] После замены масла и фильтра в коробке ошибки optika Трансмиссия, АКПП, МКПП 2 01.06.2018 15:59
[9PA] После замены бензонасосов перестал заводится Денис32 Вопросы специалистам 5 10.06.2016 20:10
[92A] Слив воды из топливного фильтра Владимир Маркин Система питания 2 06.05.2016 12:56
[9PA1] Замена топливного фильтра двигателя 3,0 л дизель Владимир Маркин Система питания 0 27.04.2015 23:26



Powered by vBulletin® Version 3.8.7
Copyright ©2000 - 2025, vBulletin Solutions, Inc. Перевод: zCarot
Все права на материалы, находящиеся на сайте, охраняются в соответствии с законодательством РФ.
При любом использовании материалов сайта, письменное согласие обязательно.
Торговые марки, логотипы и марки услуг, размещенные на данном сайте, являются собственностью их владельцев.
CayService.ru не связан с Porsche AG или PCNA. ©2025 CayService.ru. Все права защищены.
Яндекс.Метрика