Правила форума Clear

970 производство 2010>>2016 (L) РУУК в полном объеме PORSCHE Panamera

18.09.2020, 19:53   #1
Владимир Маркин
Аватар для Владимир Маркин
Инструменты и материалы

Регулировка углов установки колес Panamera лишь незначительно отличается от обычной РУУК. Это относится к регулировке клиренса, разнице нагрузки между левым и правым колесами на одной оси, специнструментов и корректировки положения колес.

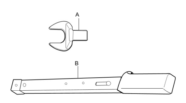
-A- Nr.95-2 - Насадка рожкового ключа V.A.G 1923: для затяжки контргайки(-ек) на передней(-их) рулевой(-ых) тяге(-ах) с предписанным моментом затяжки

-B- Динамометрический ключ, который подходит для диапазона от 70 до 180 Нм. – стандартный, использовать в сочетании с инструментом A.
Миниатюры:
Нажмите на изображение для увеличения
Название: Инструмент для регулировки.jpg
Просмотров: 1458
Размер:	15.4 Кб
ID:	34954  
18.09.2020, 19:56   #2
Владимир Маркин
Аватар для Владимир Маркин
Для Panamera используются быстрозажимные кронштейны -рисунок-(для закрепления чувствительных элементов на колесах). Эти измерительные датчики закрепляются в центре колесного диска (сначала с помощью кулачков) и зажимаются в колесном диске поворотом зажимного кольца по часовой стрелке.

Имеющиеся быстрозажимные кронштейны (прежнее исполнение) можно дооснастить путем замены зажимных приспособлений слева и справа.
Миниатюры:
Нажмите на изображение для увеличения
Название: Быстрозажимные кронштейны.jpg
Просмотров: 1453
Размер:	19.4 Кб
ID:	34955  
18.09.2020, 19:57   #3
Владимир Маркин
Аватар для Владимир Маркин
Информация

Информация по нагрузкам на колеса

Информация

Действительны следующие значения: максимальная разница нагрузки между левым и правым колесами на одной оси 40 кг. Однако в сумме передней и задней осей разница не должна превышать 60 кг.
Это значит: разница на одной оси максимально 40 кг, на другой - максимально 20 кг.

В автомобиле Panamera кузов крепится сзади к подрамнику, а на передней оси — к вспомогательной раме. При определенных условиях (например, после демонтажа и монтажа силового агрегата) могут не достигаться требуемые значения геометрии кузова и подвески. В таких случаях подрамник/вспомогательная рама может быть незначительно сдвинут(а).

Регулировка углов установки колес Panamera лишь незначительно отличается от обычной регулировки углов установки колес. Это касается как передней, так и задней осей.

Прокладки пружин с различной жесткостью (снизу между винтовой пружиной и тарелкой пружины; на передних и задних амортизационных стойках справа и слева) служат не для изменения дорожного просвета, а для компенсации характеристик винтовых пружин различных классов нагрузки.

При возникновении серьезных различий в нагрузке на колеса нужно проконтролировать соответствие пружин (одинаковые пружины слева и справа) и соответствие прокладок (одинаковые прокладки слева и справа). Можно устанавливать пружины и прокладки лишь с одинаковой цветовой маркировкой справа и слева.

В зависимости от конкретного варианта комплектации (дополнительного оборудования) максимально допустимая разница нагрузки между левым и правым колесами на одной оси составляет 40 кг. Это частично связано с большим весом компонентов по сравнению с серийной комплектацией либо с дополнительными компонентами, которые расположены асимметрично.
18.09.2020, 19:58   #4
Владимир Маркин
Аватар для Владимир Маркин
Особые указания по автомобилям с пневматической подвеской

Уведомление

Падение напряжения
Разрушение блока управления
Повреждения блока управления
Записи о неисправности в блоке управления
Сбой кодировки в блоке управления
Неисправности блока управления, в том числе уже в процессе программирования

Перед отсоединением блока управления выключить зажигание и извлечь ключ из замка зажигания.

Во время процесса программирования должно быть обеспечено электропитание.

Подсоединить к АКБ автомобиля зарядное устройство с минимальным значением 90 A.

Если речь идет об автомобиле Panamera с пневматической подвеской, то его необходимо отрегулировать до нормального уровня дорожного просвета. Измерения и регулировки допускается выполнять только в этом положении.

После замены блока управления или одного из датчиков уровня кузова необходимо выполнить калибровку с помощью системного тестера Porsche.
18.09.2020, 20:02   #5
Владимир Маркин
Аватар для Владимир Маркин
Установка нормального уровня кузова автомобиля:

Информация

На СТО может понадобиться установить автомобиль на нормальный уровень.

Регулировка углов установки колес
Измерение высоты автомобиля
Проверка уровня

1 Подключить к автомобилю 9818 - тестер PIWIS II и запустить его. Включить зажигание с помощью оригинального ручного передатчика.

2 Выполнить проверку объема воздуха в системе с помощью 9818 - тестера PIWIS II.

2.1 В обзоре блоков управления выбрать >>PASM<<.

2.2 Выбрать >>Исполнительные элементы/проверки<<.

2.3 Выбрать >>Переопределение объема воздуха в системе<<.

2.4 Если объем воздуха в системе в порядке, перейти к следующему пункту.

В противном случае предварительно наполнить систему

3 Закрыть двери автомобиля/заднюю крышку.

4 Установить нормальный уровень с помощью 9818 - тестера PIWIS II.

4.1 В обзоре блоков управления выбрать >>PASM<<.

4.2 Выбрать >>Техобслуживание/ремонт<<.

4.3 Выполнить >>Проверку компонентов датчиков высоты>>.

5 Во избежание регулировки клиренса пневматической подвеской во время измерения необходимо отключить систему регулирования дорожного просвета и включить ее только после завершения работ.

После установки нормального уровня для РУУК садиться и выходить из автомобиля в дальнейшем не допускается. Это может привести к неправильным результатам измерения.
18.09.2020, 20:04   #6
Владимир Маркин
Аватар для Владимир Маркин
Информация по регулировке углов установки колес задней оси

Кинематическое изменение схождения и кастор не регулируются!

Осторожно

Датчик угла поворота рулевого колеса не откалиброван или откалиброван неправильно
Непредсказуемое поведение автомобиля
Датчик угла поворота рулевого колеса не функционирует
Неисправность датчика угла поворота рулевого колеса

После проведения работ по элементами подвески колеса, при замене датчика угла поворота рулевого колеса и после изменения значений установки колес, откалибровать датчик угла поворота рулевого колеса с помощью системного тестера Porsche.

При калибровке установить передние колеса в положение для движения по прямой на измерительном стенде.

После проведения процедуры РУУК, при которой не было внесено изменений в углы установки колес, проверяется фактическое значение датчика угла поворота руля.

Развал и схождение колес регулируются эксцентриками!
18.09.2020, 20:07   #7
Владимир Маркин
Аватар для Владимир Маркин
Информация по корректировке углов установки колес передней оси

Осторожно

Датчик угла поворота рулевого колеса не откалиброван или откалиброван неправильно
Непредсказуемое поведение автомобиля
Датчик угла поворота рулевого колеса не функционирует
Неисправность датчика угла поворота рулевого колеса

После проведения работ по элементами подвески колеса, при замене датчика угла поворота рулевого колеса и после изменения значений установки колес, откалибровать датчик угла поворота рулевого колеса с помощью системного тестера Porsche.

При калибровке установить передние колеса в положение для движения по прямой на измерительном стенде.

После проведения процедуры РУУК, при которой не было внесено изменений в углы установки колес, проверяется фактическое значение датчика угла поворота руля.

Если предыдущие значения углов установки колес были изменены (на задней и/или передней оси), то затем следует откалибровать датчик угла поворота рулевого колеса!
Если предыдущие значения углов установки колес (на задней и/или передней оси) были изменены, то затем следует откалибровать датчик измерения расстояния (датчик ACC)!
После регулировки схождения обязательно затянуть контргайки на рулевых тягах с предписанным моментом затяжки!
После регулировки схождения обязательно затянуть контргайки на рулевых тягах с предписанным моментом затяжки!
18.09.2020, 20:08   #8
Владимир Маркин
Аватар для Владимир Маркин
Основные указания по процессу измерения и регулировке углов установки колес

Для исключения ошибочных измерений, перед проведением измерения должны присутствовать следующие предпосылки и следует обратить особое внимание на следующие пункты:

Информация

Проводить измерение углов установки колес с помощью оптического или электронного стенда!
Порядок проведения измерений указан в руководстве по эксплуатации соответствующего стенда РУУК!

Вес снаряженного автомобиля, то есть, готовый к движению автомобиль с полным топливным баком, запасным колесом или комплектом для ремонта шин и бортовым инструментом.

зазор в шарнирах и колесных подшипниках в норме (зазор колесных подшипников не регулируется).

Предписанное давление в шинах, равномерный профиль шин.

Быстрозажимные кронштейны для Panamera (для чувствительных элементов) закреплены на колесах правильно.

Крепежные поверхности для быстросъемных кронштейнов на колесах чистые и ровные Прежде всего нужно тщательно проверять плоские поверхности колес перед установкой быстросъемных кронштейнов.

Обязательно соблюдать интервалы технического обслуживания измерительной платформы и измерительных приборов. Если уровень измерительной платформы или места для проведения измерений проверяется своими силами, то необходим нивелировочный прибор. Использование водяного уровня недостаточно!

Профессиональное обращение с измерительными приборами и измерительной платформой.

Рекомендуется использование сдвижных пластин с возможностью поперечного перемещения (вращения) под колесами задней оси.

Учитывать рекомендации технической литературы Porsche AG, изготовителей измерительных приборов и платформ.

Рассматривать/обрабатывать измеряемые величины не суммарно, а тщательно с учетом ходовых качеств автомобиля, стойкости шин при максимальной скорости, износа шин, а также соотношения затраты-эффект (затраты времени на корректировку несущественных отклонений). Решающее значение для ходовых характеристик и износа шин имеют величины схождения колес.

Если измерения проводятся на передней и задней осях автомобиля, то сначала следует проверить или отрегулировать заднюю ось. Значения развала передней оси действительны при положении колес в направлении прямолинейного движения. Среднее положение рулевого колеса и рулевого редуктора при регулировке схождения.

До регулировки углов установки колес передней и задней осей рекомендуется проверить дорожный просвет автомобиля со снаряженным весом. Это может помочь сделать выводы по поводу значений углов установки колес в ходе их последующего измерения и регулировки, если таковое понадобится.
18.09.2020, 20:11   #9
Владимир Маркин
Аватар для Владимир Маркин
Высота автомобиля - общее

Высота автомобиля спереди и сзади не регулируется.

Контрольные точки клиренса представлены в нижеследующем описании.
18.09.2020, 20:12   #10
Владимир Маркин
Аватар для Владимир Маркин
Клиренс (контроль клиренса) – предварительные работы

1 Для проверки высоты установить снаряженный автомобиль (с полностью заправленным топливным баком, с комплектом для ремонта шин или с запасным колесом и инструментом) на ровную поверхность или на измерительный стенд. Автомобили с пневматической подвеской необходимо установить на нормальный уровень. Обратить внимание на следующее Особые указания для автомобилей с пневматической подвеской в главе Процедура РУУК полностью - глава “Информация”

Метки
panamera, porsche, автомобиль, блок, высота, гайка, датчик, дорожный, задний, кастор, колесо, объем, поворот, полный, просвет, регулирование, рулевой, руук, система, стопорный, схождение, угол, управление, установка, эксцентрик



Левый уголок Похожие темы Правый уголок
Тема Автор Раздел Ответов Последнее сообщение
[970] Porsche Panamera S E-Hybrid TheGarage Система питания 43 30.11.2022 22:06
[970] Не отображается AUX на PCM PORSCHE Panamera Саня54 Электрооборудование 2 20.02.2020 23:14
Porsche представляет Panamera и Panamera 4 Владимир Маркин Новости Porsche 7 22.02.2017 13:46
Экономичные модификации Porsche Panamera Владимир Маркин Болталка 0 21.02.2017 20:40
Д.Медведев подписал закон о полном запрете употребления алкоголя за рулем. Dora Юридическая консультация для друзей 11 09.08.2010 12:57



Powered by vBulletin® Version 3.8.7
Copyright ©2000 - 2025, vBulletin Solutions, Inc. Перевод: zCarot
Все права на материалы, находящиеся на сайте, охраняются в соответствии с законодательством РФ.
При любом использовании материалов сайта, письменное согласие обязательно.
Торговые марки, логотипы и марки услуг, размещенные на данном сайте, являются собственностью их владельцев.
CayService.ru не связан с Porsche AG или PCNA. ©2025 CayService.ru. Все права защищены.
Яндекс.Метрика