Добрый день, загремел мотор (
) Кайен турбо 4.5 2003г.в.
Раскидали, вкладыши шатунные неродные, изношены с одной стороны. узел поршень-палец-шатун сильно свободно гуляют. Поршня старые задраны, видимо при гильзовке не менялись, некоторые гильзы на перекладке разбиты. Буду точить под ремонт и полностью новая сборка. Есть вопросы:
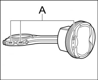
1. шатуны с маркировками FK и FL, по 4шт. установлены вперемешку по головкам. Эта маркировка может означать левую и правую головы?
2. Как собирается узел поршень-палец-шатун?, на шатуне нет втулки, на поршне стопорные кольца. Палец должен гулять и в поршне и в шатуне?, или есть принцип горячей посадки?
Остальной принцип сборки вроде описан в теме