Правила форума Clear

Левый задний фонарь

26.02.2015, 18:54   #1
abasali
Доброго всем дня! У меня следующий вопрос, ответьте кто сможет. На левом заднем фонаре Порше кайен 2006-2010г. появилось небольшое отверстие диаметр 5-7 см.( добрый человек зацепил и уехал). Можно ли достать отдельно плафон, или только целиком фонарь? Vin: WP1ZZZ9PZALA22148 Спасибо.

Добавлено через 1 минуту
Забыл: конечно где и за сколько. Можно, ди желательно б.у.
26.02.2015, 19:15   #2
Владимир Маркин
Аватар для Владимир Маркин
Сообщение от abasali Посмотреть сообщение
Доброго всем дня!
Добрый день.

Сообщение от abasali Посмотреть сообщение
У меня следующий вопрос, ответьте кто сможет. На левом заднем фонаре Порше кайен 2006-2010г. появилось небольшое отверстие диаметр 5-7 см.( добрый человек зацепил и уехал). Можно ли достать отдельно плафон, или только целиком фонарь? Vin: WP1ZZZ9PZALA22148 Спасибо.
Только в сборе.
95563148701 фонарь задний левый
26.02.2015, 19:52   #3
abasali
Спасибо
13.02.2016, 11:01   #4
abasali
Доброе утро, Владимир!
Не подскажите как самому заменить левый фонарь?
Какие и сколько нужно клипс для этой процедуры?
Vin: WP1ZZZ9PZALA22148
Спасибо.
13.02.2016, 11:54   #5
Владимир Маркин
Аватар для Владимир Маркин
Сообщение от abasali Посмотреть сообщение
Доброе утро, Владимир!
Доброе утро.

Сообщение от abasali Посмотреть сообщение
Не подскажите как самому заменить левый фонарь?
Демонтаж и монтаж заднего фонаря

1. Открыть заднюю крышку.
2. Отсоединить задний габаритный фонарь.
2.1. Обе заглушки -1- расклипсовать с помощью маленькой отвертки -стрелка- .
2.2. Выкрутить оба крепежных винта -2- .
3. Снять задний габаритный фонарь.
3.1. Извлечь задний габаритный фонарь -1- назад в -направлении стрелки- с помощью шаровой головки -2- из -3- гайки-зажима.
3.2. Разблокировать разъем -4- - -стрелка A- и отсоединить от заднего габаритного фонаря -1- - -стрелка B- .
3.3. Снять задний габаритный фонарь -1- .

Монтаж заднего фонаря

1. Установить задний габаритный фонарь.
1.1. Разъем -4- на задний габаритный фонарь -1- надеть -стрелка A- , пока он -4- отчетливо не зафиксируется.

информация
Проверить состояние прижимной гайки, при необходимости заменить.

1.2. Вставить задний габаритный фонарь -1- с шаровой головкой -2- в прижимную гайку -3- и корректно расположить на кузове.
2. Затянуть винты крепления -2- и вставить колпачки -1- .

Дополнительные указания по установке заднего фонаря

информация
Например, при повреждении задней части автомобиля может возникнуть необходимость подгонки заднего фонаря из-за неприемлемых зазоров (между кузовом и задним фонарем). Для этого необходимо установить регулируемый кронштейн ламп.
Из-за технических особенностей невозможно предложить на случай ремонта боковину кузова с перфорированным кронштейном заднего фонаря. Для подобного случая имеется специально разработанная пластина кронштейна с возможностью регулировки, которую необходимо установить дополнительно.

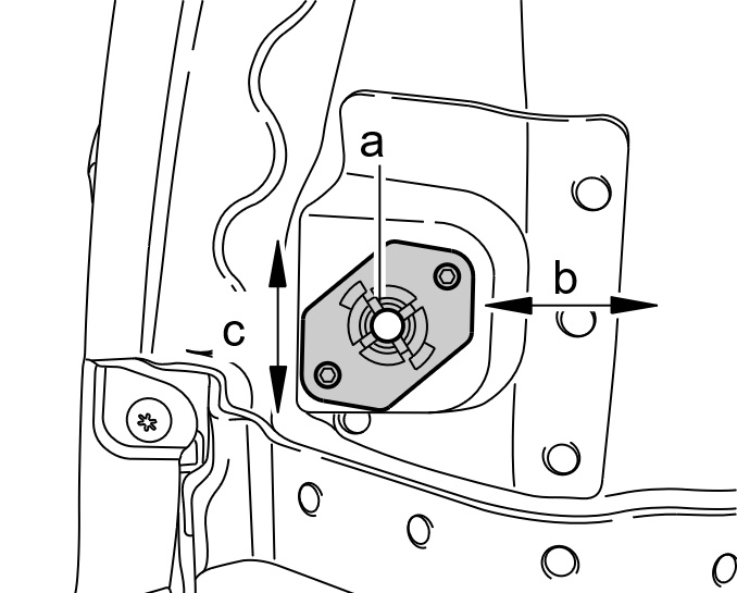
1. Регулируемый кронштейн ламп

Обзор: кронштейн заднего фонаря
1x A - Кузовная деталь с зажимом, 1,2 мм
2x B - Регулировочная шайба, 1 мм
2x C - Регулировочная шайба, 0,5 мм
1x D - Кузовная деталь с внутренней резьбой М5
E - Крепежные винты

2. Подготовить боковину кузова для установки регулируемого кронштейна ламп.
2.1. Наложить регулировочную шайбу -B- на кронштейн заднего фонаря в боковине кузова. Выровнять по центру и очертить диаметр -G- и -H- .
2.2. Коническим сверлом просверлить отверстия с диаметром -G- = 22 мм и -H- = 8 мм.
2.3. Обработать кузов для защиты от коррозии.
3. Установка кронштейна ламп
3.1. Кузовную деталь с зажимом -A- приложить к кузову, при необходимости подложить под нее регулировочные шайбы -B, C- , прижать с внутренней части кузовной детали пластину с внутренней резьбой, ввернуть крепежные винты и завернуть их до касания.
3.2. Выровнять кронштейн по центру, сдвигая его в направлениях -b, c- . Затянуть крепежные винты.
3.3. При необходимости, можно укоротить зажим кузовной детали -A- по бокам -a- . Это увеличит зону регулировки.
3.4. Установить задний габаритный фонарь.
4. Проконтролировать величину зазора.
4.1. Проконтролировать величину зазора и выдержать предписанный зазор 3 +/- 0,5 мм.
4.2. При необходимости еще раз снять задний фонарь, заново отрегулировать положение кронштейна ламп заднего фонаря или изменить его при помощи регулировочных шайб.

Замена лампы накаливания

информация
Учитывать предписания по установке и обзор ламп накаливания. → Обзор: лампы накаливания и предписания по установке

1. Снять задний габаритный фонарь.
2. Выкрутить винты крепления -1- и повернуть контактную плату -2- в -направлении стрелки- .
3. Неисправную лампу накаливания вдавить в патрон, провернуть и извлечь.

Лампы накаливания заднего габаритного фонаря
A - Задний противотуманный фонарь P 21 Вт
B - Указатель поворота. P 21 Вт
C - Фонарь заднего хода. P 21 Вт

4. Новую лампу накаливания вставить в патрон, вдавить и провернуть. Проверить корректность положения лампы накаливания.
5. Переместить контактную плату -2- в -направлении стрелки- и прикрутить винтами крепления -1- к заднему габаритному фонарю.
6. Установить задний габаритный фонарь.
Миниатюры:
Нажмите на изображение для увеличения
Название: Выкр. креп.  винтов заднего габ. фонаря.jpg
Просмотров: 128
Размер:	69.8 Кб
ID:	12175   Нажмите на изображение для увеличения
Название: Отсоединение разъема заднего габаритного фонаря.jpg
Просмотров: 142
Размер:	120.3 Кб
ID:	12176   Нажмите на изображение для увеличения
Название: Подключение разъема заднего габаритного фонаря.jpg
Просмотров: 120
Размер:	119.3 Кб
ID:	12177   Нажмите на изображение для увеличения
Название: Обзор кронштейн заднего фонаря.jpg
Просмотров: 125
Размер:	65.7 Кб
ID:	12179   Нажмите на изображение для увеличения
Название: Сверление монтажных отверстий.jpg
Просмотров: 136
Размер:	83.0 Кб
ID:	12180  

Нажмите на изображение для увеличения
Название: Монтаж кронштейна.jpg
Просмотров: 122
Размер:	77.8 Кб
ID:	12181   Нажмите на изображение для увеличения
Название: Проверка зазора.jpg
Просмотров: 124
Размер:	61.2 Кб
ID:	12182   Нажмите на изображение для увеличения
Название: Откручивание контактной платы.jpg
Просмотров: 124
Размер:	112.9 Кб
ID:	12183   Нажмите на изображение для увеличения
Название: Лампы накаливания заднего габаритного фонаря.jpg
Просмотров: 135
Размер:	127.6 Кб
ID:	12184   Нажмите на изображение для увеличения
Название: Закрепление контактной платы.jpg
Просмотров: 118
Размер:	112.8 Кб
ID:	12185  

Вложения:
Тип файла: Вкручивание винтов крепления заднего габаритного ф (71.2 Кб, 125 просмотров)
13.02.2016, 11:56   #6
Владимир Маркин
Аватар для Владимир Маркин
Сообщение от abasali Посмотреть сообщение
Какие и сколько нужно клипс для этой процедуры?
95563147102 фиксатор 2 шт.
13.02.2016, 12:51   #7
abasali
Большое спасибо!

Добавлено через 7 минут
Владимир, Вас не затруднит выслать фото фиксатор 95563147102 ?
13.02.2016, 14:05   #8
Владимир Маркин
Аватар для Владимир Маркин
Сообщение от abasali Посмотреть сообщение
Большое спасибо!

Добавлено через 7 минут
Владимир, Вас не затруднит выслать фото фиксатор 95563147102 ?

Нажмите на изображение для увеличения
Название: ImageUploadedByTapatalk1455357877.978804.jpg
Просмотров: 127
Размер:	129.2 Кб
ID:	12186Нажмите на изображение для увеличения
Название: ImageUploadedByTapatalk1455357907.865891.jpg
Просмотров: 126
Размер:	139.9 Кб
ID:	12187Нажмите на изображение для увеличения
Название: ImageUploadedByTapatalk1455357932.994056.jpg
Просмотров: 118
Размер:	146.6 Кб
ID:	12188
13.02.2016, 14:34   #9
abasali
Спасибо.

Метки
демонтаж, задний



Левый уголок Похожие темы Правый уголок
Тема Автор Раздел Ответов Последнее сообщение
[9PA] Куплю задний левый фонарь на 955. alex_dzen Установка и переоснащение (Tequipment) 2 15.09.2013 10:45
Куплю задний фонарь,передний повортник, на 957 Вадим888 Установка и переоснащение (Tequipment) 0 17.06.2013 21:35
[9PA] Как снять задний фонарь PORSCHE CAYENNE 955 Surveyor Электрооборудование 2 06.02.2012 21:44
Куплю фонарь задний левый ,зеркало правое можно сам механизм danila Установка и переоснащение (Tequipment) 0 22.08.2011 11:18
Запотевает задний фонарь... schipa Вопросы специалистам 4 22.09.2010 09:28



Powered by vBulletin® Version 3.8.7
Copyright ©2000 - 2025, vBulletin Solutions, Inc. Перевод: zCarot
Все права на материалы, находящиеся на сайте, охраняются в соответствии с законодательством РФ.
При любом использовании материалов сайта, письменное согласие обязательно.
Торговые марки, логотипы и марки услуг, размещенные на данном сайте, являются собственностью их владельцев.
CayService.ru не связан с Porsche AG или PCNA. ©2025 CayService.ru. Все права защищены.
Яндекс.Метрика