Левый уголок Показать сообщение отдельно Правый уголок
28.07.2016, 14:59   #1
Владимир Маркин
Аватар для Владимир Маркин
Демонтаж и монтаж поршней двигателя 4,8 л DFI

Инструменты

оправку Специальный инструмент 9784/1
стяжка для поршневых колец для 944 - S2 и Boxster и 911 Carrera (996) Стандартный инструмент Nr.57

Технические значения
Крышка шатуна к шатуну M9 x 56 (в кол-ве 16) первый проход последовательность затяжки – по возможности синхронно; использовать новые винты момент затяжки 8 Nm +2 Nm (допуск)
Крышка шатуна к шатуну M9 x 56 (в кол-ве 16) второй проход последовательность затяжки – по возможности синхронно, использовать новые винты момент затяжки 20 Nm
Крышка шатуна к шатуну M9 x 56 (в кол-ве 16) третий проход последовательность затяжки – по возможности синхронно, использовать новые винты момент затяжки 40 Nm
Крышка шатуна к шатуну M9 x 56 (в кол-ве 16) четвертый проход последовательность затяжки – по возможности синхронно, использовать новые винты угол затяжки 90°
Маслопровод (маслоотделительный щиток) к нижней части картера двигателя M6 x 20 (в кол-ве 6) момент затяжки 10 Nm

Предварительные работы
1. Снять двигатель.
2. Отсоединить двигатель от КПП.
3. Закрепить двигатель на монтажном стенде.
4. Слить моторное масло.
5. Снять цепь ГРМ.
6. Снять головки блоков цилиндров.
7. Снять масляный поддон и кожух маслопровода.
8. Снять масляный насос.

Информация
Обзор компонентов
Поршень, шатун
1 - Комплект поршневых колец; смазать моторным маслом; маркировкой TOP вверх, маслосъемное кольцо внизу.
2 - Поршень; в атмосферном двигателе и двигателе Turbo имеются различия, полость камеры сгорания смещена к центру двигателя, левая и правая части различны, стрелка направления движения – по направлению движения
3 - Стопорное кольцо поршневого пальца (положение на 6 часов или на 11 часов)
4 - Поршневой палец, смазать
5 - Шатун
6 - Винт крепления крышки шатуна; заменить, так как он затянут на пределе свойств металла; смазать винт → момент затяжки: 8 Nm+2 Nm → момент затяжки: 20 Nm → момент затяжки: 40 Nm → угол затяжки: 90°
7 - Вкладыши шатунных подшипников, смазать моторным маслом

Монтаж шатуна, вкладыши подшипника

A - Вид A (расположение маркировки на шатуне, установить шатун промаркированной поверхностью к стороне выпуска; маркировка на стержне шатуна и на крышке должны находиться на одной стороне)
B - Вид B (установить вкладыши подшипника заподлицо и вдавить рукой)
C - Вид C (установить вкладыши подшипника заподлицо и вдавить рукой)

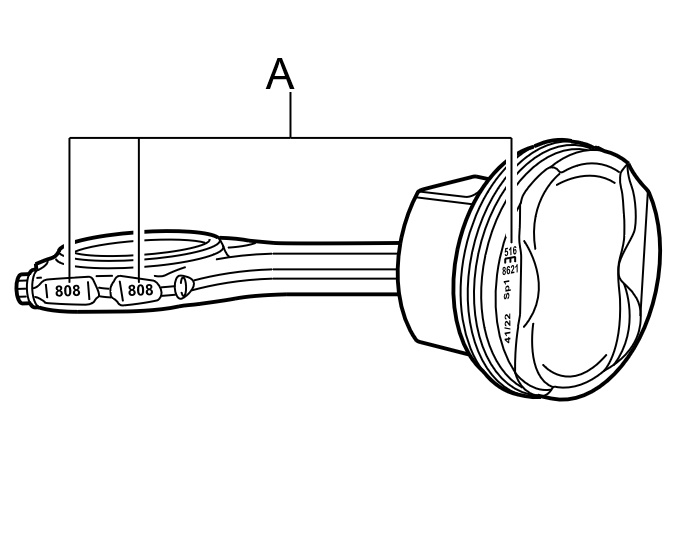
Классификация поршней
1 - Контрольный штемпель (поставщик)
2 - Стрелка в направлении движения
3 - Краткий номер Porsche без главного и центрального номера
4 - Маркировка ряда цилиндров
5 - Зона маркировки класса массы
6 - Зона маркировки размерной группы
7 - Штрих-код 128 (Краткий номер (без основной группы) и класс массы)
8 - Стрелка направления движения
9 - Краткий номер (поставщик)

Коленвал
1 - Коленвал
2 - Цилиндрический штифт 6 x 20
3 - Пружина 5 х 6,5
4 - Регулировочная шайба (канавки на внешнюю сторону)
5 - Вкладыш коренного подшипника верх.
6 - Вкладыш коренного подшипника низ.
7 - Уплотнительное кольцо вала => Не прикасаться к кромке уплотнительного кольца!; Фланец коленвала очистить и слегка смазать
8 - Фланец коленвала
9 - Классификация подшипников коленчатого вала (пример: GGGGG-BBBB; 5 коренных подшипников с желтой маркировкой, 4 двойных (8) шатунных подшипника с синей маркировкой) => счет см. A
A - Направление движения (коренной подшипник № 1 стоит первым по отношению к направлению движения)

Идентификация поршня
информация
Поршень как запасн. часть характеризуется по следующим параметрам: размерная группа X , атмосферный двигатель или Turbo, ряд цилиндров 1 - 4 или 5 - 8 .
Поршни серийно изготавливаются в двух дополнительных массовых группах: + и —.
Все эти данные выгравированы на днище поршня. Для четкой идентификации поршня его следует тщательно отчистить (латунная щетка, ультразвуковая установка).
Маркировки на днище поршня: Службой запчастей Porsche поставляются только новые поршни размерной группы 'X' и в двух массовых группах '+' и '-'.

Классификация поршней
1 - Контрольный штемпель (поставщик)
2 - Стрелка в направлении движения
3 - Краткий номер Porsche без главного и центрального номера
4 - Маркировка ряда цилиндров
5 - Зона маркировки класса массы (допуск по массе)
6 - Зона маркировки размерной группы
7 - Штрих-код 128 (Краткий номер (без основной группы) и класс массы)
8 - Стрелка направления движения
9 - Краткий номер (поставщик)

1. При ремонте снятый поршень следует очистить и идентифицировать. При необходимости его замены следует заказать и установить поршень группы X с идентифицированной массовой группой + или — и для правильного ряда цилиндров.

Демонтаж поршней
информация
Учитывать совместимость нижней головки шатуна и крышки, так как шатуны, изготовленные методом надлома, совместимы лишь в определенном положении.
Фиксаторы вкладышей шатунных подшипников всегда находятся с одной стороны во избежание прокручивания вкладышей подшипников.
У крышки шатуна и нижней головки шатуна одинаковые номера.

1. Снять обратный маслопровод (маслоотделительный щиток) под масляным насосом.
2. Открутить винты крепления крышки шатуна -6- и снять -5- крышку. С помощью деревянной рукоятки вытолкнуть соответствующий поршень из картера двигателя. Поршень придерживать другой рукой или с помощью второго механика. Старыми винтами от руки прикрутить крышку обратно к шатуну, промаркировать и разложить по порядку в соответствии с нумерацией цилиндров.

Шатуны изготовлены методом цельного литья и надлома, его маркировка указывает к стороне выпуска.
Полость камеры сгорания поршня указывает к форсунке.

информация
Винты шатунов и вкладыши подшипников подлежат замене.
Повернуть коленвал таким образом, чтобы шейка кривошипа демонтируемого поршня находилась сверху.

3. Снять оставшиеся поршни вышеописанным способом.

Монтаж поршней

информация
Винты шатунов и вкладыши подшипников подлежат замене.
Маркировка коренных и шатунных подшипников находится на фланце маховика коленвала.

информация
Для следующего этапа работы поршни должны быть предварительно смонтированы (поршни, поршневые кольца, шатуны и крепежный материал).
При установке номер на шатуне -A- должен находиться со стороны выпуска.
При установке поршней в блок цилиндров стрелка направления движения, находящаяся на дне поршня, непременно должна указывать в направлении движения.
Маркировки на нижней головке шатуна и на крышке шатуна обязательно должны быть на одной и той же стороне -A- .

Стрелка направления движения у изображенного на рис. поршне расположена на одной стороне с маркировкой шатуна -A- . При установке номер на шатуне -A- должен находиться со стороны выпуска.

В установленном состоянии стрелка направления движения должна показывать вперед (в направлении движения) -лупа- . Полость камеры сгорания -1- поршня DFI в установленном состоянии показывает к середине двигателя -стрелка сверху- .

1. Повернуть двигатель на монтажном кронштейне двигателя таким образом, чтобы коленвал находился снизу.
2. Установить поршни. Для этого следует проворачивать коленвал ключом (SW 27) до тех пор, пока соответствующая шатунная шейка не будет напарвлена вертикально вниз.
3. Слегка смазать цилиндр, поршень и оправку -1- . В качестве альтернативы также может использоваться стандартная стяжка для поршневых колец стяжка для поршневых колец для 944 - S2 и Boxster и 911 Carrera (996) .
4. Выровнять замки поршневых колец (смещение на 120°) и стянуть поршневые кольца с помощью ленты для поршневых колец для 944 - S2, Boxster и 911 Carrera (996) . Обратить внимание на то, чтобы все поршневые кольца имели правильный преднатяг специнструментом -см. рисунок- . При использовании оправки задвинуть поршень с установленным шатуном в оправку -2- . Буртик оправки должен быть обращен к картеру двигателя -1- . Задвинуть поршень в оправку настолько, чтобы юбка поршня выступала из оправки на один сантиметр.
5. Установить поршень на цилиндр сверху и задвинуть его в цилиндр. При необходимости воспользоваться рукояткой молотка. При этом следить, чтобы стрелка направления движения указывала вперед -siehe стрелка (Abbildung zeigt Zylinder 1)- . При использовании оправки оправка установить ее на картер двигателя заподлицо -3- . При этом обратить внимание на расположение полости камеры сгорания -1- и стрелки направления движения.
6. Сдвигать поршень вниз, пока шатунный подшипник не встанет на шейку. При необходимости помогать рукояткой молотка -см. рисунок- . При задвигании не прилагать чрезмерное усилие. В случае заклинивания поршня в инструменте при необходимости еще раз смазать инструмент или осторожно высвободить и провернуть поршень.
7. Смазать вкладыш шатунного подшипника и шейку кривошипа.

информация
Благодаря шатунам, изготовленным методом цельного литья и надлома, крышка подходит только в одном положении и только к соответствующему шатуну
Установить шатун маркировкой к стороне выпуска -A- .

8. Затем установить крышку шатуна с вкладышем подшипника (фиксаторами друг к другу) → Фиксаторы подшипников шатуна -B и C. . Номера шатунов должны быть друг напротив друга. → Номера пары -А- Наживить винты крепления крышки шатуна.
9. Установить противоположные поршни (цилиндры 1 и 4)
10. Установить остальные поршни как описано выше.
11. Поворачивать блок цилиндров в монтажном блоке до тех пор, пока коленчатый вал не будет находиться сверху.
12. Заменить винты крепления крышки шатуна и затянуть. Прокручивать коленвал до тех пор, пока соответствующая шейка кривошипа не будет направлена вертикально вверх. Затянуть винты ключом-звездочкой.
13. После того, как все поршни правильно установлены и закреплены, провернуть коленчатый вал кольцевым ключом SW 27 по часовой стрелке. При этом следует обращать внимание на тяжелый ход и неравномерность вращения. Если коленчатый вал будет вращаться с трудом или вообще не будет вращаться, проверить в частности, правильно ли установлены поршни (направление стрелки), подходят ли поршни к цилиндрам (маркировки), а крышки шатунов к нижним головкам шатунов.

Дополнительные работы
1. Установить маслопровод / маслоотделительный щиток.

Маслопровод (маслоотделительный щиток)
1 - Маслопровод (маслоотделительный щиток)
2 - Прокладка обратного маслопровода
3 - Винт M6 x 20 → момент затяжки: 10 Nm
4 - Прокладка перегородки
5 - Соединительный штуцер
6 - Уплотнительное кольцо
7 - Глубина установки – пока не сработает фиксатор
A - Направление движения

2. Установить масляный насос.
3. Установить головки блоков цилиндров.
4. Установить цепь ГРМ.
5. Установить крышку ГРМ.
6. Установить масляный поддон и кожух маслопровода.
7. Залить моторное масло.
8. Снять двигатель с монтажного стенда.
9. Прифланцевать двигатель к коробке передач.
10. Установить двигатель
Миниатюры:
Нажмите на изображение для увеличения
Название: Поршень, шатун.jpg
Просмотров: 1671
Размер:	24.0 Кб
ID:	12738   Нажмите на изображение для увеличения
Название: Монтаж шатуна, вкладыши подшипника.jpg
Просмотров: 1667
Размер:	38.1 Кб
ID:	12739   Нажмите на изображение для увеличения
Название: Классификация поршней.jpg
Просмотров: 1690
Размер:	29.6 Кб
ID:	12740   Нажмите на изображение для увеличения
Название: Коленвал.jpg
Просмотров: 1666
Размер:	47.7 Кб
ID:	12741   Нажмите на изображение для увеличения
Название: Маслопровод (маслоотделительный щиток).jpg
Просмотров: 1634
Размер:	52.5 Кб
ID:	12742  

Нажмите на изображение для увеличения
Название: Место нанесения номера цилиндра.jpg
Просмотров: 1645
Размер:	44.1 Кб
ID:	12743   Нажмите на изображение для увеличения
Название: Соответствие.jpg
Просмотров: 1607
Размер:	50.4 Кб
ID:	12744   Нажмите на изображение для увеличения
Название: Установленный поршень DFI в картере двигателя.jpg
Просмотров: 1671
Размер:	135.2 Кб
ID:	12745   Нажмите на изображение для увеличения
Название: Монт. поршн. в соотв. со стрелками направ. движ..jpg
Просмотров: 1649
Размер:	107.3 Кб
ID:	12746   Нажмите на изображение для увеличения
Название: Смазывание оправки.jpg
Просмотров: 1657
Размер:	88.2 Кб
ID:	12747  

Нажмите на изображение для увеличения
Название: Установка поршня в оправку поршня.jpg
Просмотров: 1609
Размер:	73.3 Кб
ID:	12748   Нажмите на изображение для увеличения
Название: Поршень, вставленный в оправку поршня.jpg
Просмотров: 1662
Размер:	39.1 Кб
ID:	12749   Нажмите на изображение для увеличения
Название: Поршень со стяжкой.jpg
Просмотров: 1600
Размер:	95.0 Кб
ID:	12750   Нажмите на изображение для увеличения
Название: Установка поршня.jpg
Просмотров: 1659
Размер:	122.1 Кб
ID:	12751   Нажмите на изображение для увеличения
Название: Вдавить поршни.jpg
Просмотров: 1591
Размер:	56.3 Кб
ID:	12752  

Нажмите на изображение для увеличения
Название: Фиксаторы подшипников шатуна -B и C..jpg
Просмотров: 1600
Размер:	42.1 Кб
ID:	12753